Reelmaster 5300-D
Product Information
- Model #: 03530TE
- Serial #: 60275 - 69999
- Product Type: Riding Products
Loading...
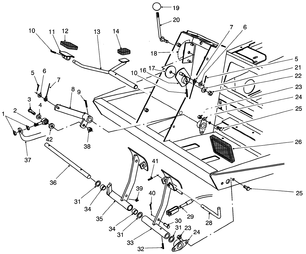
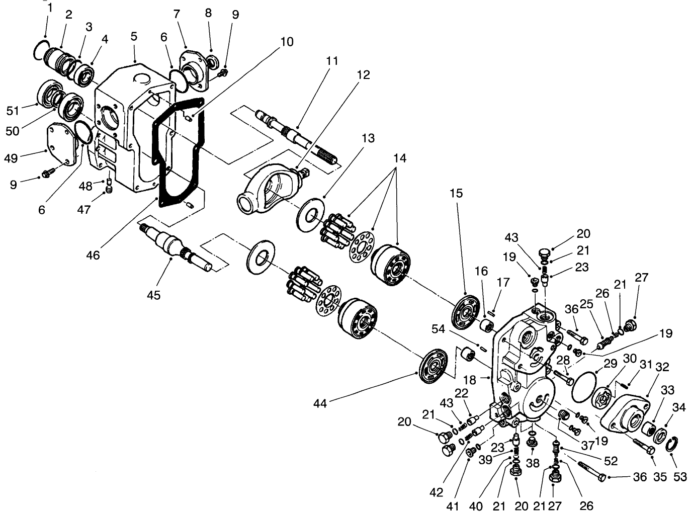
Assembly Drawings
Search for a part within assembly drawings:
-
Service Manual
-
Operator's Manual
-
Parts Catalog
-
Service Bulletin
-
Model #
03530TE -
Serial #
60275 - 69999 -
Product Name
Reelmaster 5300-D -
Product Brand
Toro -
Product Type
Riding Products -
Product Series
RM 5000 Series





















































