Quiet Collector, Wheel Horse 5xi Series Garden Tractors
Product Information
- Model #: 79451
- Serial #: 8900001 - 8900225
- Product Type: Attachments
Loading...
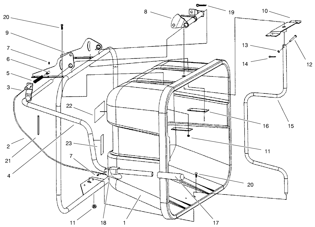
Assembly Drawings
Search for a part within assembly drawings:
-
Operator's Manual
-
Parts Catalog
-
Model #
79451 -
Serial #
8900001 - 8900225 -
Product Name
Quiet Collector, Wheel Horse 5xi Series Garden Tractors -
Product Brand
Toro -
Product Type
Attachments -
Product Series
Attachments & Kits, Consumer Riding



