Dingo TX 420 Traction Unit
Product Information
- Model #: 22306
- Serial #: 200000151 - 200000300
- Product Type: Compact Utility Loaders
Loading...
Assembly Drawings
Search for a part within assembly drawings:
-
Service Manual
-
Operator's Manual
-
Parts Catalog
-
Installation Instructions
Seal Kit (Part # 100-6120)
Light Kit for Dingo 323, TX 427, TX 525 (Part # 100-8840)
Light kit fits: Dingo 323, TX 427, TX 525 - LAMP 12V
Spool Carrier Kit (Part # 104-2685)
Mounts onto Dingo loader arm to carry spool of wire or cable. Used with the chuted blade assembly for pulling cable or wire.
Hydraulic Cooler Kit, Dingo TX (Part # 104-2800)
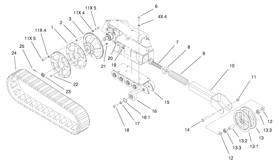
Track Kit, Dingo TX 413 and 420 Compact Utility Loader (Part # 104-6106)
Heat Shield Kit, Dingo TX Compact Utility Loaders (Part # 104-9997)
Brake Kit, Dingo TX 420 Compact Utility Loader (Part # 106-7580)
KIT-ROAD WHEEL, 5-PACK (Part # 106-7627)
Rear Cover Kit, Dingo TX Series Compact Utility Loader (Part # 108-4657)
TRACK-AGGRESSIVE TREAD, NARROW (Part # 108-5640)
ALIGNMENT TOOL F/A (Part # 110-0069)
Auger Head, Dingo (Part # 22400)
6" Auger, Dingo (Part # 22402)
9" Auger, Dingo (Part # 22403)
12" Auger, Dingo (Part # 22404)
15" Auger, Dingo (Part # 22405)
18" Auger, Dingo (Part # 22406)
24" Auger, Dingo (Part # 22407)
30" Auger, Dingo (Part # 22408)
Loader Bucket Attachment (Part # 22409)
Use this standard bucket for moving rock, dirt, sand or other materials off and around the job site. The hardened steel cutting edge offers improved cutting and digging capability for better performance to handle tough digging conditions and affords superior wear. Capacity = 4 cubic feet (1 cu. m.).
Light Materials Loader Bucket Attachment (Part # 22410)
Designed for moving light materials like chip-bark, mulch, snow and loam. The larger capacity bucket, 6.4 cubic feet (.2 cu. m.), is great for handling larger loads of lighter materials. The hardened steel cutting edge allows for improved cutting and digging capability for better performance to handle tough digging conditions and affords superior wear.
Four In One Bucket, Dingo (Part # 22411)
Backhoe, Dingo (Part # 22412)
Utility Blade Attachment (Part # 22414)
The Toro Dingo hydraulic blade greatly increases the versatility of your Dingo system. This incredibly versatile attachment can be used for a variety of earth or snow moving jobs. Fill trenches where rows of trees have been planted or irrigation pipes have been installed. Keep your hydraulic blade working in the winter by pushing snow from sidewalks in one pass.
Rotary Broom, Dingo (Part # 22415)
Adjustable Forks, Dingo (Part # 22418)
Leveler, Dingo (Part # 22419)
Bore Drive Head Attachment (Part # 22420)
The Toro® Dingo® boring unit allows you to dig under sidewalks and driveways to simplify irrigation and cable installations. Shorter rod lengths and the ability to lower the bore head below grade allow you to work in both confined and open areas, increasing your productivity.
Rod and Reamer Kit (Part # 22421)
Easily bore under driveways and sidewalks to simplify irrigation and cable installations. Use with Bore Drive Head attachment model 22420. Working depth: 19". Bits and reamers up to 3.5" in diameter.
Multi-Purpose Tool, Dingo (Part # 22423)
Stump Grinder Attachment (Part # 22429)
The Toro® Dingo® Stump Grinder easily attaches to either Dingo or Dingo TX compact utility loaders. Make grinding stumps quicker and more productive with the stump grinder attachment for your Toro Dingo.
Vibratory Plow, Dingo (Part # 22437)
Tree Fork Attachment (Part # 22438)
The Toro Dingo hydraulic tree forks can help you plant trees and large shrubs quickly and effortlessly, plus move all sorts of materials around your garden center or nursery. The Dingo Compact Utility Loader is especially easy to maneuver, helping you transport and position trees or shrubs exactly where you want them.
Two-Axle Trailer, Dingo (Part # 22439)
8" Auger, Dingo (Part # 22440)
Concrete Breaker, Dingo (Part # 22441)
Cement Mixer Attachment (Part # 22442)
This unique attachment will mix and pour up to 200 pounds (90.7 kg) of dry cement. The specially designed auger flighting inside the cement bowl keeps the cement in the bowl during mixing. This same auger design permits cement to be poured into fence post holes with the posts in place!
The Eliminator Scarifier/Groomer, Dingo (Part # 22443)
Tiller Attachment (Part # 22445)
The Toro Dingo tiller attachment greatly increases the productivity and performance of your Dingo system. Break through hard soil conditions up to 6" (15.2 cm) deep. Avoid clogging the tiller by using one easy hand control to reverse the direction of the tiller to clear jams from rocks and debris.
10" Auger, Dingo (Part # 22446)
Trencher Head, Dingo (Part # 22447)
12" Auger Extension, Dingo (Part # 22448)
24" Auger Extension, Dingo (Part # 22449)
Capstan Adaptor, Dingo (Part # 22450)
Screw Anchor Adaptor, Dingo (Part # 22451)
Rock Auger, Dingo (Part # 22454)
Snowthrower, Dingo and Dingo TX (Part # 22456)
Trencher Head, Dingo (Part # 22459)
4" x 3' Trencher Rock Chain, Dingo (Part # 22462)
6" x 3' Trencher Rock Chain, Dingo (Part # 22463)
Trencher Crumber (Part # 22464)
Spring design, trencher accessory to help clean out trenches
4" x 3' Trencher Chain, Dingo (Part # 22466)
6" x 3' Trencher Chain, Dingo (Part # 22467)
8" x 3' Trencher Chain, Dingo (Part # 22468)
12" x 3' Trencher Chain, Dingo (Part # 22469)
TX Platform, Gasoline-Powered TX Compact Utility Loader (Part # 22475)
Narrow Loader Bucket Attachment (Part # 22520)
Handle compact construction and remodeling sites by moving through 36" (91.4 cm) gates without a problem. This 35" (88 cm) wide bucket allows you to get through narrow spaces, including gates and doorways. Move rock, dirt, sand or other materials off and around the job site. Great for use on any Dingo® model equipped with narrow wheels and tires.
Grapple Rake, Compact Utility Loaders (Part # 22521)
Universal Swivel Auger Head, Dingo and Dingo TX (Part # 22801)
Auger Head, Dingo and Dingo TX (Part # 22802)
Universal Swivel Auger Head, Dingo and Dingo TX (Part # 22803)
Vibratory Plow, Dingo (Part # 22910)
Vibratory Plow Attachment (Part # 22911)
The Toro® Dingo® vibratory plow attachment greatly reduces a contractor's time spent on irrigation and cable installations. Exclusively designed and built by Toro specifically for use on the Dingo, the vibratory plow optimizes pipe-pulling performance while minimizing turf damage during an installation. Also, use the chuted blade and spool carrier to install wire or cable.
4" x 2' Trencher Rock Chain, Dingo (Part # 22950)
4" x 2' Trencher Chain, Dingo (Part # 22952)
6" x 2' Trencher Chain, Dingo (Part # 22953)
8" x 2' Trencher Chain, Dingo (Part # 22954)
12" x 2' Trencher Chain, Dingo (Part # 22955)
2' Trencher Boom and Bar, Dingo and Dingo TX (Part # 22960)
3' Trencher Boom and Bar, Dingo and Dingo TX (Part # 22961)
Soil Cultivator, Dingo Compact Utility Loader (Part # 23101)
Soil Cultivator Attachment (Part # 23102)
The soil cultivator is the ultimate attachment for soil preparation! This incredibly versatile attachment can be used to cultivate and level soil as well as blend landscape materials, compost and fertilizer. This attachment will also bury debris such as stones, soil clods and grass. It transforms rough terrain into a perfect planting bed in one pass.
9" Backhoe Bucket, Dingo (Part # 23112)
12" Backhoe Bucket, Dingo (Part # 23113)
16" Backhoe Bucket, Dingo (Part # 23114)
Seeder Box Kit, Dingo Soil Cultivator (Part # 23120)
Concrete Breaker, Dingo Compact Utility Loaders (Part # 23135)
Backhoe, Dingo (Part # 23160)
Dingo TX Unit Fit-up Kit (Part # 23162)
Allows 23126 to fit to Dingo TX units 22321, 22322, 22323, 22324, 22327, and 22328.
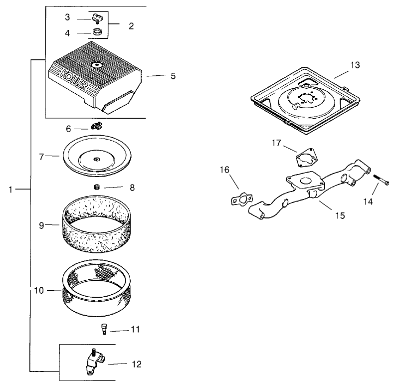
Spark Arrestor (Part # 98-9099)
Toro OEM spark arrestor prevents carbon build ups from being ejected from the engine and igniting a fire.
-
Model #
22306 -
Serial #
200000151 - 200000300 -
Product Name
Dingo TX 420 Traction Unit -
Product Brand
Toro -
Product Type
Compact Utility Loaders -
Product Series
Compact Utility Loaders -
Chassis Type
CUL - Tracked -
Engine/Motor Manufacturer
Kohler -
Engine/Motor Size
20 hp -
Engine/Motor Type
4 Cycle CARB1, EPA1 -
Engine Starter
Electric -
Transmission Type
Hydrostatic -
Traction Type
Rear WD
-
Engine: Spark Plug Gap
.030"/ .76mm -
Engine: Spark Plug
Champion Premium Gold 2071 -
Engine: Engine Oil Type
2.0 qts. 10w-30 -
Engine: Engine Speed
3600±75 RPM -
Engine: Battery
12V 450 CCA -
Drive System: Ground Speed
Fwd. 0 - 4.5 Rev. 0 - 2 mph -
Hydraulic: Hydraulic Pressure
3000 psi -
Hydraulic: Hydraulic Flow
11.2 gpm (auxiliary) : 5.5 gpm (loader) -
Hydraulic: Hydraulic Reservoir
8 gallon -
Chassis: Wheels
Track Unit -
Chassis: Tires
Endless Kevlar reinforced rubber. 96.6" Length x 5.88" Width. Single internal tooth drive. -
Chassis: Tire Pressure
N/A






























