Versa Vac
Product Information
- Model #: 07053
- Serial #: 220000001 - 220999999
- Product Type: Commercial Debris Blower
Loading...
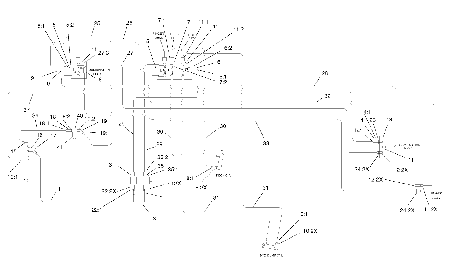
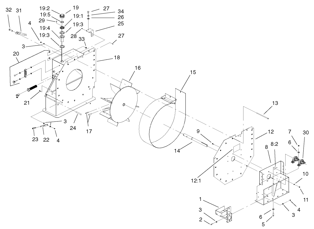
Assembly Drawings
Search for a part within assembly drawings:
-
Operator's Manual
-
Parts Catalog
-
Service Bulletin
Hose Kit (Part # 07080)
Rubber Finger Deck (Part # 07081)
Combination Deck, Versa Vac (Part # 07082)
Safety Chain Kit (Part # 139-3179)
Toro Red 12or aerosol can. (Part # 361-10)
Genuine OEM Part
Red Paint (Gallon) (Part # 361-11)
Genuine OEM Part
Semi-Gloss Black Paint (Part # 361-9)
Genuine OEM Part
-
Model #
07053 -
Serial #
220000001 - 220999999 -
Product Name
Versa Vac -
Product Brand
Toro -
Product Type
Commercial Debris Blower -
Product Series
Turf Maintenance Equipment











