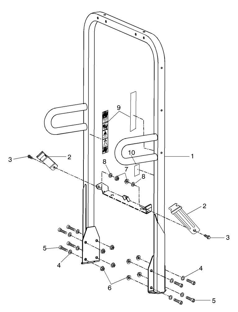
Roll-Over Protection System, Multi-Pro 1200/1250 Turf Sprayer
Product Information
- Model #: 41361
- Serial #: 210000001 - 210999999
- Product Type: Attachments
Loading...
-
Operator's Manual
-
Service Bulletin
-
Model #
41361 -
Serial #
210000001 - 210999999 -
Product Name
Roll-Over Protection System, Multi-Pro 1200/1250 Turf Sprayer -
Product Brand
Toro -
Product Type
Attachments -
Product Series
Attachments
