Z153 Z Master, With 52" SFS Side Discharge Mower
Product Information
- Model #: 74198
- Serial #: 230006001 - 230007000
- Product Type: Riding Products
Loading...
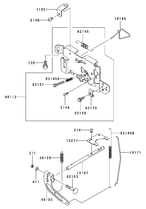
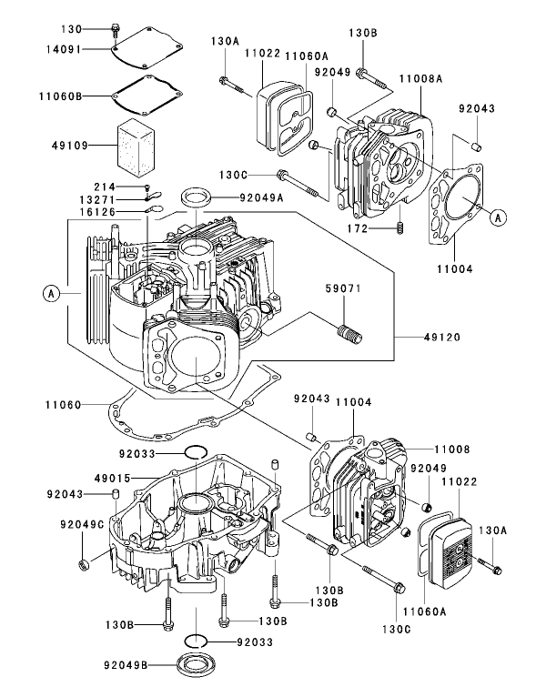
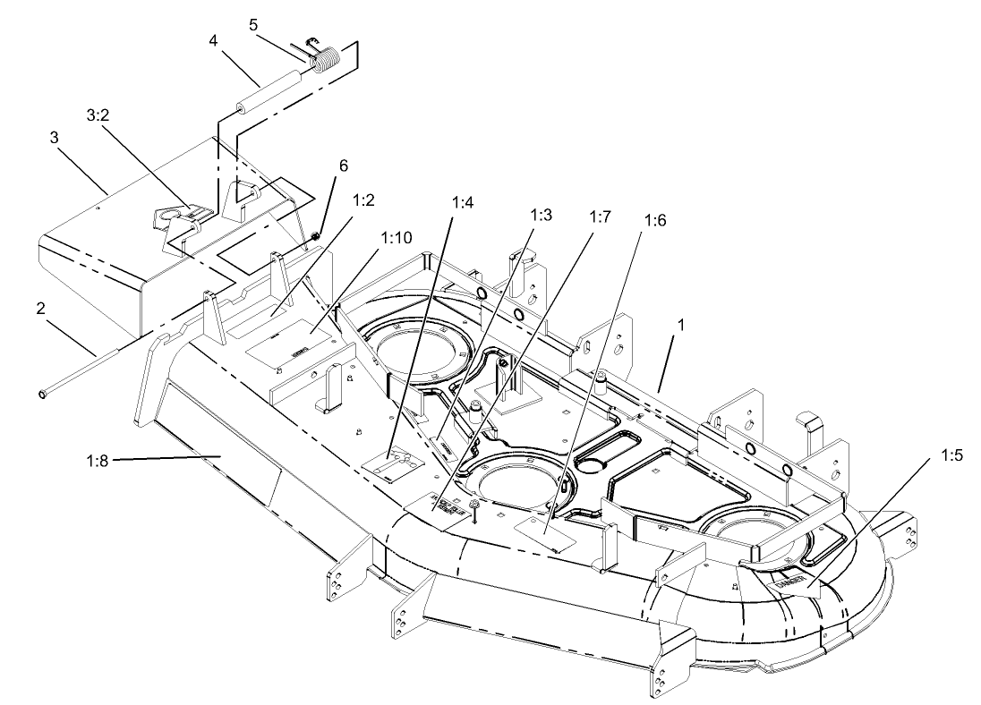
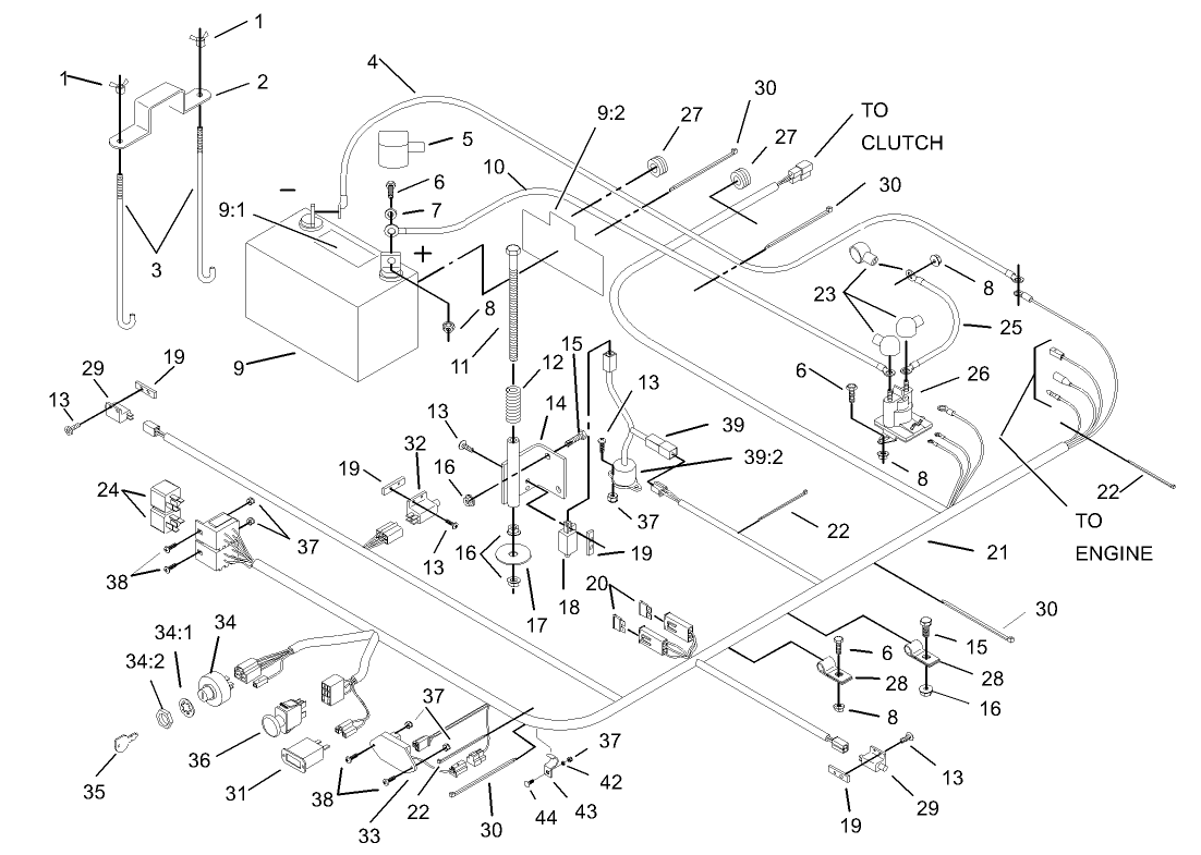
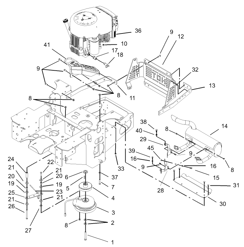
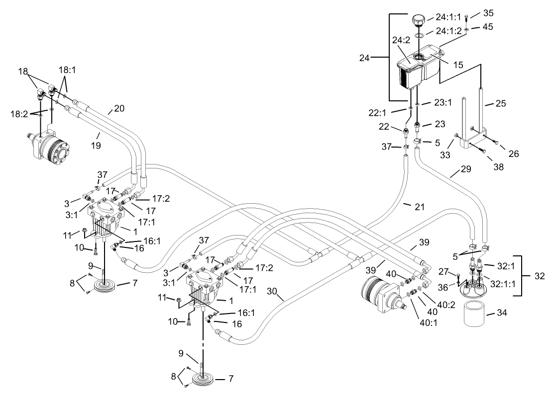
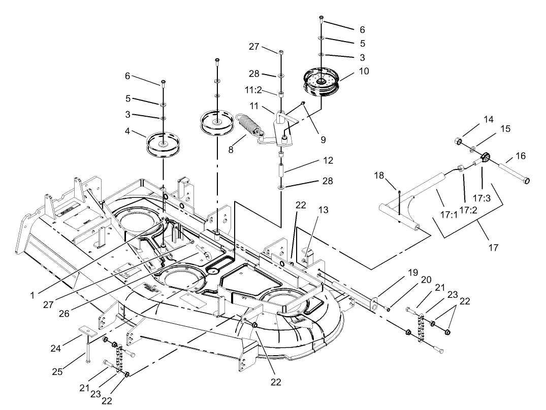
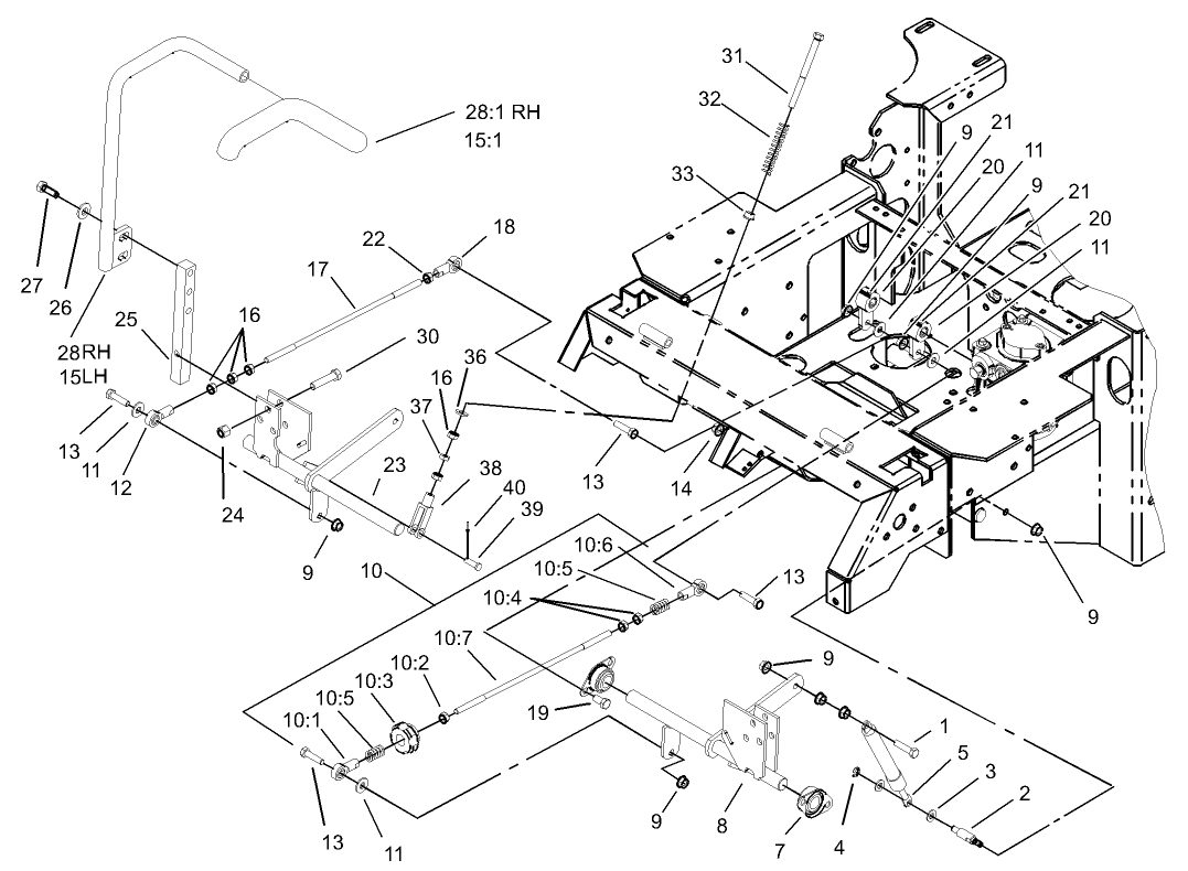
Assembly Drawings
Search for a part within assembly drawings:
-
Service Manual
-
Operator's Manual
-
Parts Catalog
Spindle Shaft Assembly (Part # 100-3972)
Genuine OEM Part
Z-Stand Kit (Part # 105-1621)
Genuine OEM Part
Please contact your local dealer
Dfs Mount Dfs Bagger Kit (Part # 106-7131)
Genuine OEM Part
Suspension Kit for Standard Seat (Part # 107-1892)
Toro OEM suspension kits for standard seats. Give your Zero-Turn some additional comfort with this seat suspension kit. Genuine Toro Parts and accessories are designed specifically for your machine and built to exacting standards with tight tolerances. Other parts simply don't stack up to the quality, performance, and value of Genuine Toro Parts.
3 Bushell Soft Collection Bag for GrandStand Mowers (Part # 30104)
3 Bushell Soft Collection Bag for GrandStand Mowers. To best protect your investment and maintain optimal performance of your equipment, count on Toro genuine parts and accessories.
Please contact your local dealer
44/52 inch Striping Kit (Part # 30121)
Genuine OEM Part
18 Inch Mower Blade (Part # 56-2390-03)
Toro 18 Inch OEM Hi Flow blade. Hi-Flow are also known as basic blades, regular blades, or 2-in-1 blades, Hi-Flow mower blades are the go-to blades for mowers with a bagger. The blades are designed to cut the grass and Flow the clippings, propelling them up and out of the discharge chute. This Toro blade has multiple applications. Be sure to verify model and serial number to ensure the correct part.
Z100 Series 44"/52" Twin Soft Bagger (Part # 78455)
Bagger (Part # 78490)
Boot and Tube Kit (Part # 78493)
Z100 Series 52" Soft Bag/Blower Housing Kit (Part # 78497)
DFS Vac Collection System (Part # 78500)
Twin Bagger (Part # 78507)
52" Deck Finishing Kit (Twin Bagger) (Part # 78509)
52" Recycler Kit (Part # 99-4586)
52" MULCHING KIT (Part # 99-8530)
Compact Z Hitch Kit (Part # 99-8924)
Genuine OEM Part
-
Model #
74198 -
Serial #
230006001 - 230007000 -
Product Name
Z153 Z Master, With 52" SFS Side Discharge Mower -
Product Brand
Toro -
Product Type
Riding Products -
Product Series
Zero Radius Turn, 100 Series -
Swath
52 inch -
Discharge
Side -
Engine/Motor Manufacturer
Kawasaki -
Engine/Motor Size
23 hp -
Engine/Motor Type
4 Cycle CARB2, EPA2 -
Engine Starter
Electric -
Transmission Type
Hydrostatic
-
Engine: Engine Speed
3600±100 RPM -
Drive System: Gearbox Lubricant
Mobil 1 15w-50 -
Drive System: Ground Speed
Infinite, 0 to 9.4 mph -
Engine: Battery
BCI Group U 1 -
Engine: Ignition Coil Air Gap
015-.020"/ .38-.5mm -
Engine: Spark Plug
Champion RC12 -
Engine: Spark Plug Gap
.040"/ 1.02mm -
Chassis: Height of Cut Range
1.5" - 5" (38-127mm) -
Chassis: Tire Pressure
13 psi / 90 kPa





























