Commercial Walk-Behind Mower, Floating Deck T-Bar Gear with 52in TURBO FORCE Cutting Unit
Product Information
- Model #: 30099
- Serial #: 280000001 - 280999999
- Product Type: Walk Behind Mowers
Loading...
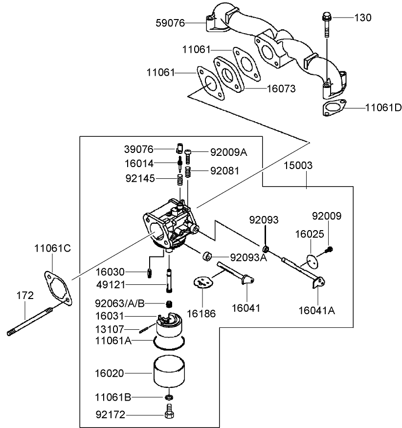
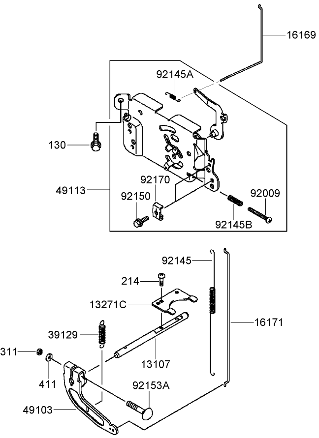
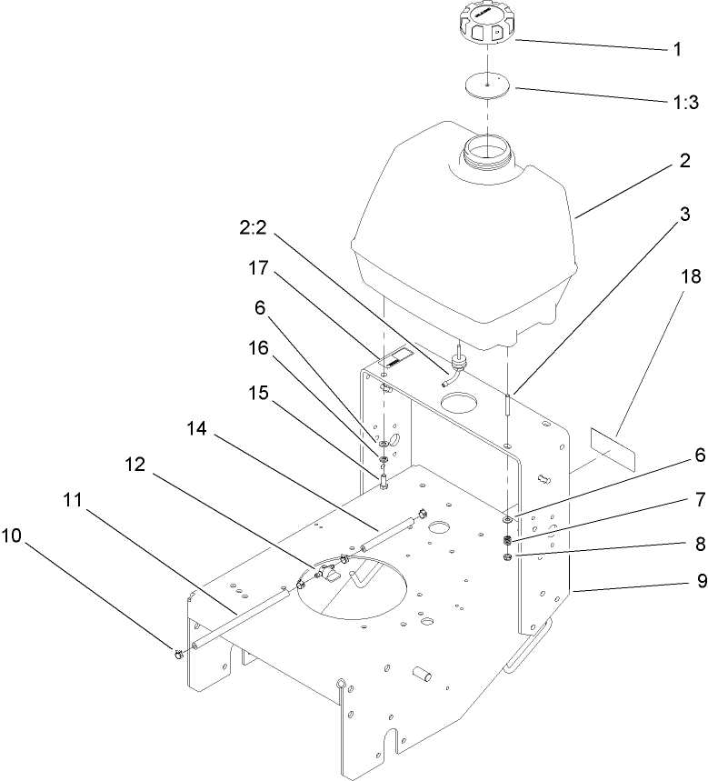
Assembly Drawings
Search for a part within assembly drawings:
-
Service Manual
-
Operator's Manual
-
Parts Catalog
-
Engine Evaporative Emission Warranty
-
Setup Instructions
18 Inch Recycler Blade (Part # 105-7779-03)
Toro OEM Recycler blade. Recycler straight edge, standard discharge blade. The blade is designed for a High quality cut and long-lasting durability. These blades are designed with “wings,” called “accelerators” that kind of act like a fan — forcing the tiny bits of grass back into the earth. This Toro blade has multiple applications. Be sure to verify model and serial number to ensure the correct part.
18 Inch Medium Flow Blade (Part # 105-7794-03)
Toro OEM Medium Flow blade. Medium Flow mower straight edge, standard discharge blade. These blades have slight upward angle on the edges. Great blades for use when horsepower is a concern. Produce medium Flow but requires less horsepower than Hi-Flow blades. This Toro blade has multiple applications. Be sure to verify model and serial number to ensure the correct part.
18 Inch Low Flow Blade (Part # 105-7795-03)
Toro OEM Low Flow blade. Low Flow mower blades have slightly curved ends that keep air Flow to a minimum. The lack of suction allows cut grass to exit the mower while keeping dust and debris levels down. Toro Low Flow mower blades cause less engine strain than Hi-Flow blades. This Toro blade has multiple applications. Be sure to verify model and serial number to ensure the correct part.
18 Inch Atomic Blade (Part # 105-7796-03)
Toro OEM Atomic blade. The Toro Atomic blade is commonly referenced as a “Gator Style” or “Gator Blade”. Provides the best quality of cut while mulching. This Toro blade has multiple applications. Be sure to verify model and serial number to ensure the correct part.
GrandStand Turbo Baffle Kit (Part # 107-1634)
GrandStand Turbo Baffle Kit. To best protect your investment and maintain optimal performance of your equipment, count on Toro genuine parts and accessories.
52 Inch Recycler Kit (Part # 110-2040)
Genuine OEM Part
GrandStand 15 lbs Cast Weight (Part # 112-7059-01)
GrandStand 15 lbs Cast Weight for Toro Grandstand models. Helps distribute weight for a smooth ride and an even cut on rough terrain. When it comes to reliability, Toro delivers replacement parts designed to the exact engineering specifications of our equipment. For peace of mind, insist on Toro genuine parts.
3 Bushell Soft Collection Bag for GrandStand Mowers (Part # 30104)
3 Bushell Soft Collection Bag for GrandStand Mowers. To best protect your investment and maintain optimal performance of your equipment, count on Toro genuine parts and accessories.
Please contact your local dealer
-
Model #
30099 -
Serial #
280000001 - 280999999 -
Product Name
Commercial Walk-Behind Mower, Floating Deck T-Bar Gear with 52in TURBO FORCE Cutting Unit -
Product Brand
Toro -
Product Type
Walk Behind Mowers -
Product Series
Mid-Size ProLine Mower -
Chassis Type
Mid-size - Floating Deck -
Swath
52 inch -
Discharge
Side -
Engine/Motor Manufacturer
Kawasaki -
Engine/Motor Size
17 hp -
Engine/Motor Type
4 Cycle EPA2 -
Engine Starter
Recoil -
Transmission Type
Gear -
Traction Type
2wd
-
Engine: Engine Speed
3600±100 RPM -
Engine: Spark Plug
Champion RCJ8Y -
Engine: Spark Plug Gap
.030"/ .76mm -
Drive System: Gearbox Lubricant
Peerless Bentonite Grease -
Engine: Ignition Coil Air Gap
.008-.016" / .2-.4mm -
Engine: Engine Oil Type
58 oz. (1.7 Liter) SAE 10W-30 or 10W-40 -
Chassis: Height of Cut Range
1-4.5", 1/4" increments -
Chassis: Tire Pressure
12-14 psi rear -
Drive System: Ground Speed
Fwd. 2.0 / 2.6 / 3.4 / 4.1 / 6.1 Rev. 3.0 mph



























