22in Recycler Lawn Mower
Product Information
- Model #: 20331
- Serial #: 290000001 - 290999999
- Product Type: Walk Behind Mowers
Loading...
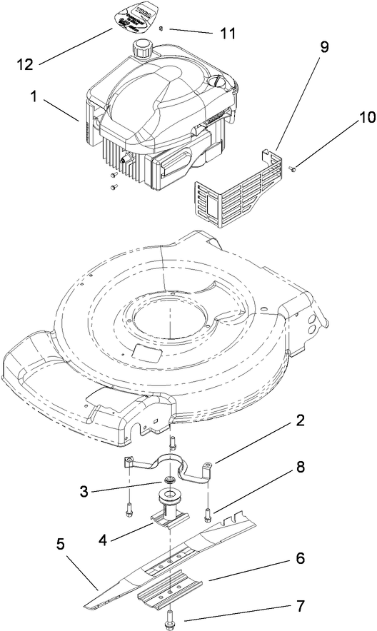
Assembly Drawings
Search for a part within assembly drawings:
-
Service Manual
-
Operator's Manual
-
Parts Catalog
Loose Parts Kit (Part # 117-4122)
Genuine OEM Part
Engine Maintenance Kit for Briggs & Stratton Engine (Part # 20234)
Keep your mower running smoothly, season after season. This kit is for walk-behind power mowers with Briggs & Stratton engines. The kit contains 20 oz. SAE 30 engine oil (#120-3306), a spark plug (#120-3305), an air filter (#120-3303) and a 0.5 oz. packet of fuel treatment (#130-2393).
Grass Bag for Walk Power Mower (Part # 59305)
Toro OEM grass bag provides a clean finished look to your lawn, you just can't beat a grass bag. Clippings are blown into the ventilated bag for easy handling and disposal. Manufactured for easy on and off of your mower's bag frame. When it comes to reliability, Toro delivers replacement parts designed to the exact engineering specifications of our equipment. For peace of mind, insist on Toro genuine parts.
Bag Replacement Kit (Part # 59307)
Genuine OEM Part
22 Inch Atomic Blade (Part # 59534)
Genuine OEM Part
-
Model #
20331 -
Serial #
290000001 - 290999999 -
Product Name
22in Recycler Lawn Mower -
Product Brand
Toro -
Product Type
Walk Behind Mowers -
Product Series
22" Steel Deck -
Chassis Type
Steel Deck WPM -
Swath
22 inch -
Discharge
Recycler & Side Discharge with Rear Bag -
Engine/Motor Manufacturer
Briggs & Stratton -
Engine/Motor Size
GrossTorque 6.5f/lb -
Engine/Motor Type
4 Cycle EPA2 -
Engine Starter
Recoil -
Transmission Type
Gear -
Traction Type
Front WD
-
Engine: Engine Oil Type
20 oz. (.6l) 30w or 10w-30 / API SH or higher -
Engine: Engine Speed
2900±100 RPM -
Engine: Ignition Coil Air Gap
.010" / .25mm -
Engine: Spark Plug
Champion RJ19LM -
Engine: Spark Plug Gap
.030"/ .76mm -
Drive System: Ground Speed
0-3 mph -
Chassis: Height of Cut Range
1" - 4" (2.5-10 cm)

















