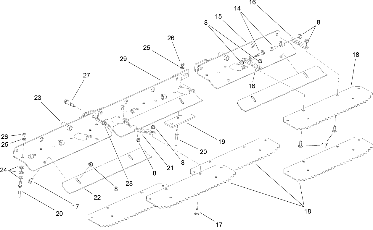
Tooth Rake
Product Information
- Model #: 08751
- Serial #: 290000001 - 290999999
- Product Type: Attachments
Loading...
Assembly Drawings
Search for a part within assembly drawings:
-
Operator's Manual
-
Parts Catalog
-
EU Declaration of Conformity
-
Service Bulletin
Spring Rake (Part # 08752)
Collect debris and smooth a surface quickly with flexibility with the spring rake.
Brush Kit for Tooth Rake, Sand Pro (Part # 08816)
LIFT ARM ADAPTER ASM (Part # 108-9427)
WEIGHT KIT (Part # 115-4333)
Hitch Pivot Kit, Sand Pro/Infield Pro 3040/5040 Traction Unit (Part # 119-2490)
Pivot Trowel for Tooth Rake, Sand Pro/Infield Pro 3040 and 5040 Tracti (Part # 119-7158)
WEIGHT-DRAG (MAIN) (Part # 18-7570-01)
-
Model #
08751 -
Serial #
290000001 - 290999999 -
Product Name
Tooth Rake -
Product Brand
Toro -
Product Type
Attachments -
Product Series
Sand Pro Series Accessories


