48 inch Recycler Kit (GrandStand)
Product Information
- Model #: 115-7466
- Serial #: None - None
- Product Type: Attachments
Loading...
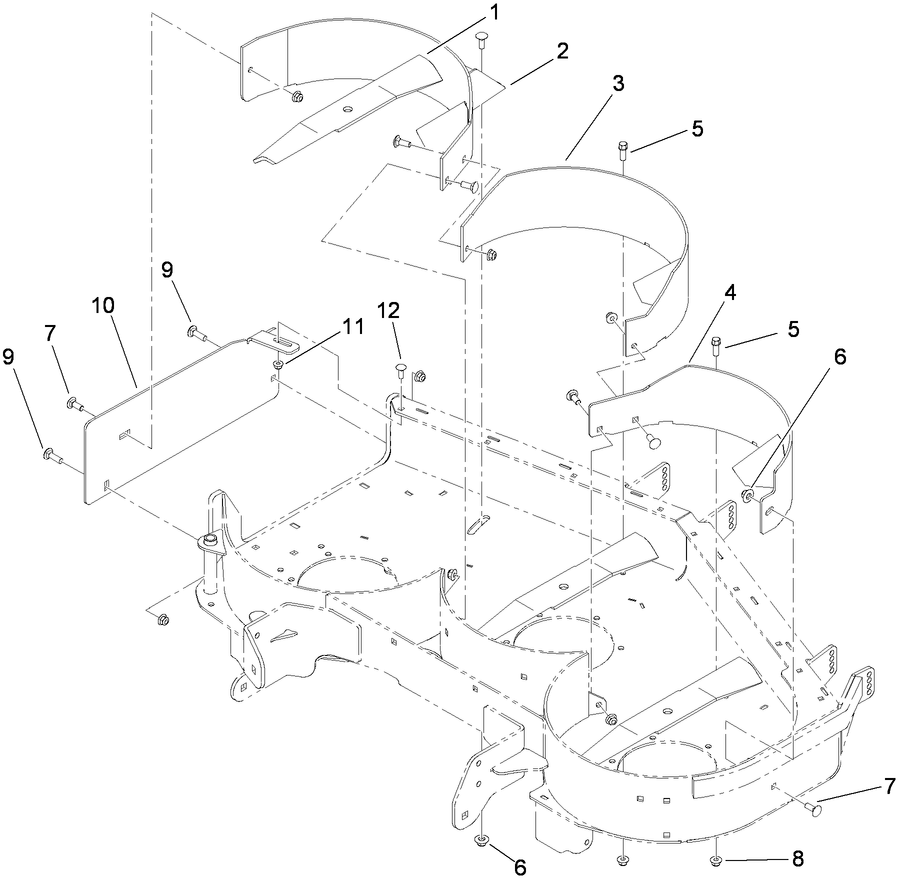
Assembly Drawings
Search for a part within assembly drawings:
-
Parts Catalog
-
Installation Instructions
-
Model #
115-7466 -
Serial #
None - None -
Product Name
48 inch Recycler Kit (GrandStand) -
Product Brand
Toro -
Product Type
Attachments -
Product Series
Attachments & Kits, LCE Riding
