LX427 Lawn Tractor, Built On or After January 31 2009
Product Information
- Model #: 13AX61RG848
- Serial #: 1A319H10001 - 1L319H19999
- Product Type: Riding Products
Loading...
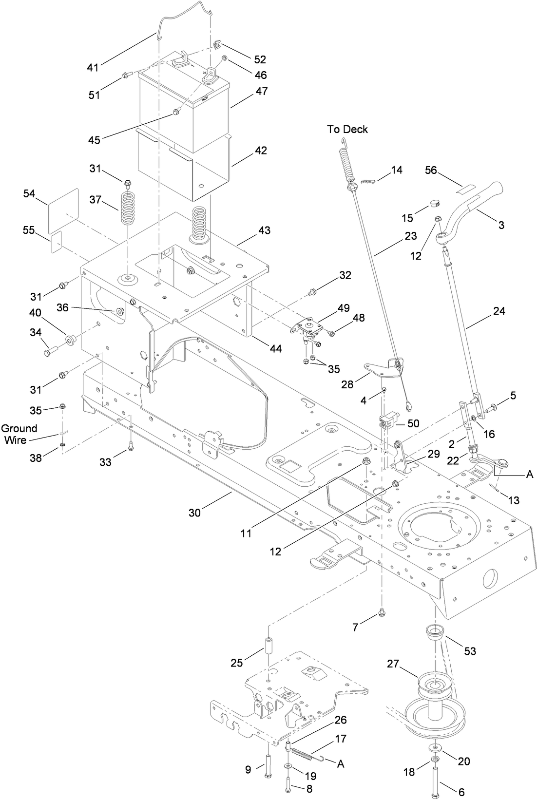
Assembly Drawings
Search for a part within assembly drawings:
-
Service Manual
-
Operator's Manual
-
Parts Catalog
42-Inch Extreme Mower Blade (Part # 112-6048)
Genuine OEM Part
42in Two-Stage Snowthrower (Part # 190-032-101)
42in Twin Bagger (Part # 190-180-190)
46in Front Blade (Part # 190-833-000)
42-inch Twin Bagger (Part # 19A30002000)
Wheel Weight Kit (Part # 59159)
Genuine OEM Part
10 cu. ft. Poly Dump Cart (Part # 79935)
Folding Loading Ramp for Riding Products (Part # 79949)
Sweeper (Part # 79985)
Tire Chain Accessory (Part # 82722)
Genuine OEM Part
21.6 Inch TimeCutter Hi-Flow Blades - 2 pack (Part # 98022)
Replacement Blade Kit contains two 21.6 in. Hi-Flow blades for your Toro 42 in. Time LX 426 lawn tractor. The blade stiffener that is included on 2007-2014 models must be removed prior to installing these blades. See instruction sheet for details. Using genuine Toro mower blades produces a crisp cut and promotes a healthy lawn.
-
Model #
13AX61RG848 -
Serial #
1A319H10001 - 1L319H19999 -
Product Name
LX427 Lawn Tractor, Built On or After January 31 2009 -
Product Brand
Toro -
Product Type
Riding Products -
Product Series
Lawn Tractor, LX Series -
Chassis Type
Lawn Tractor -
Swath
42 inch -
Discharge
Side -
Engine/Motor Manufacturer
Kohler -
Engine/Motor Size
19 hp -
Engine/Motor Type
4 Cycle EPA3 -
Engine Starter
Electric -
Transmission Type
Hydrostatic
-
Drive System: Ground Speed
Fwd. 0 - 5.2 Rev. 0 - 2.3 mph -
Engine: Battery
12V 190CCA -
Engine: Spark Plug Gap
.030"/ .76mm -
Chassis: Height of Cut Range
1.5" - 4" -
Chassis: Tire Pressure
10 psi rear / 14 psi front -
Engine: Spark Plug
Champion XC12YC -
Engine: Engine Speed
High 3375, Low 2150 RPM -
Engine: Engine Oil Type
50.75 oz. (1.5 liters) SAE 10W-30 (w/filter)









