66in Rake-O-Vac Sweeper
Product Information
- Model #: 07050
- Serial #: 310000001 - 310999999
- Product Type: Sweepers
Loading...
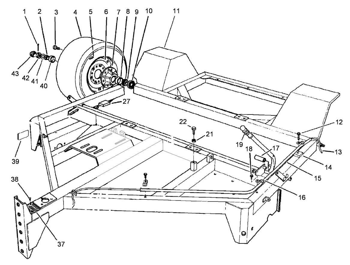
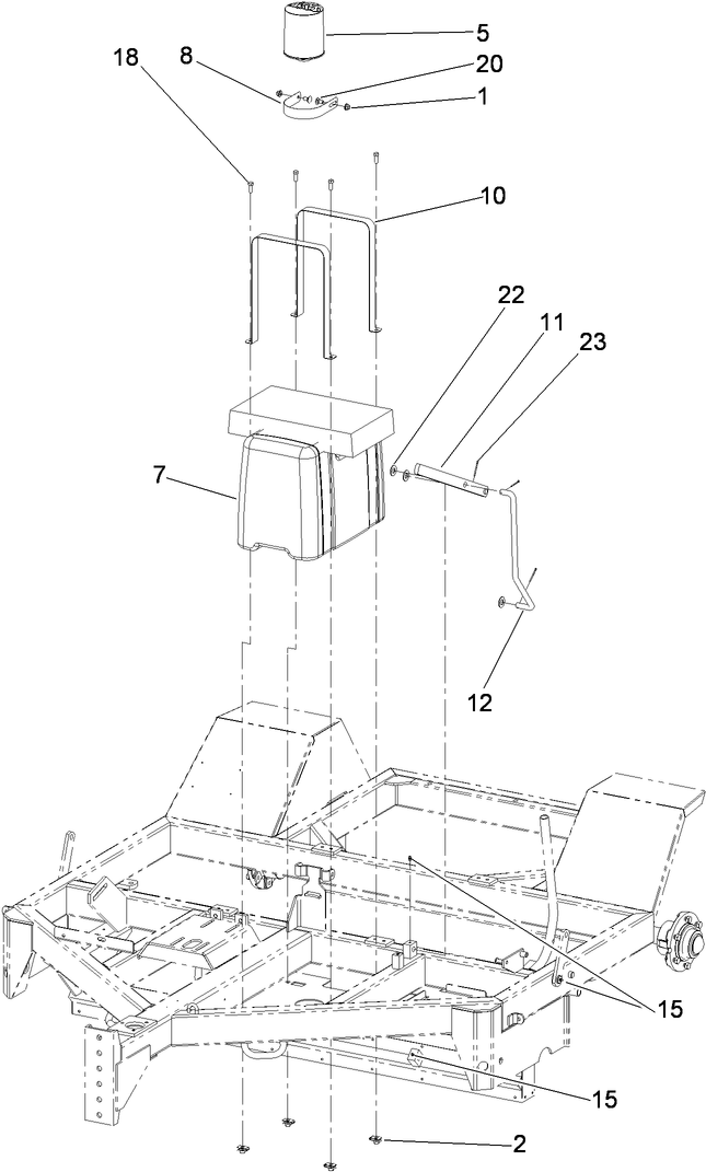
Assembly Drawings
Search for a part within assembly drawings:
-
Operator's Manual
-
Parts Catalog
-
Engine Evaporative Emission Warranty
-
Service Bulletin
-
Model #
07050 -
Serial #
310000001 - 310999999 -
Product Name
66in Rake-O-Vac Sweeper -
Product Brand
Toro -
Product Type
Sweepers -
Product Series
Rake-O-Vac Series











