7-25 Rear Engine Rider
Product Information
- Model #: 56125
- Serial #: 3000001 - 3999999
- Product Type: Riding Products
Loading...
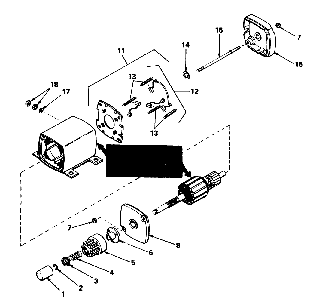
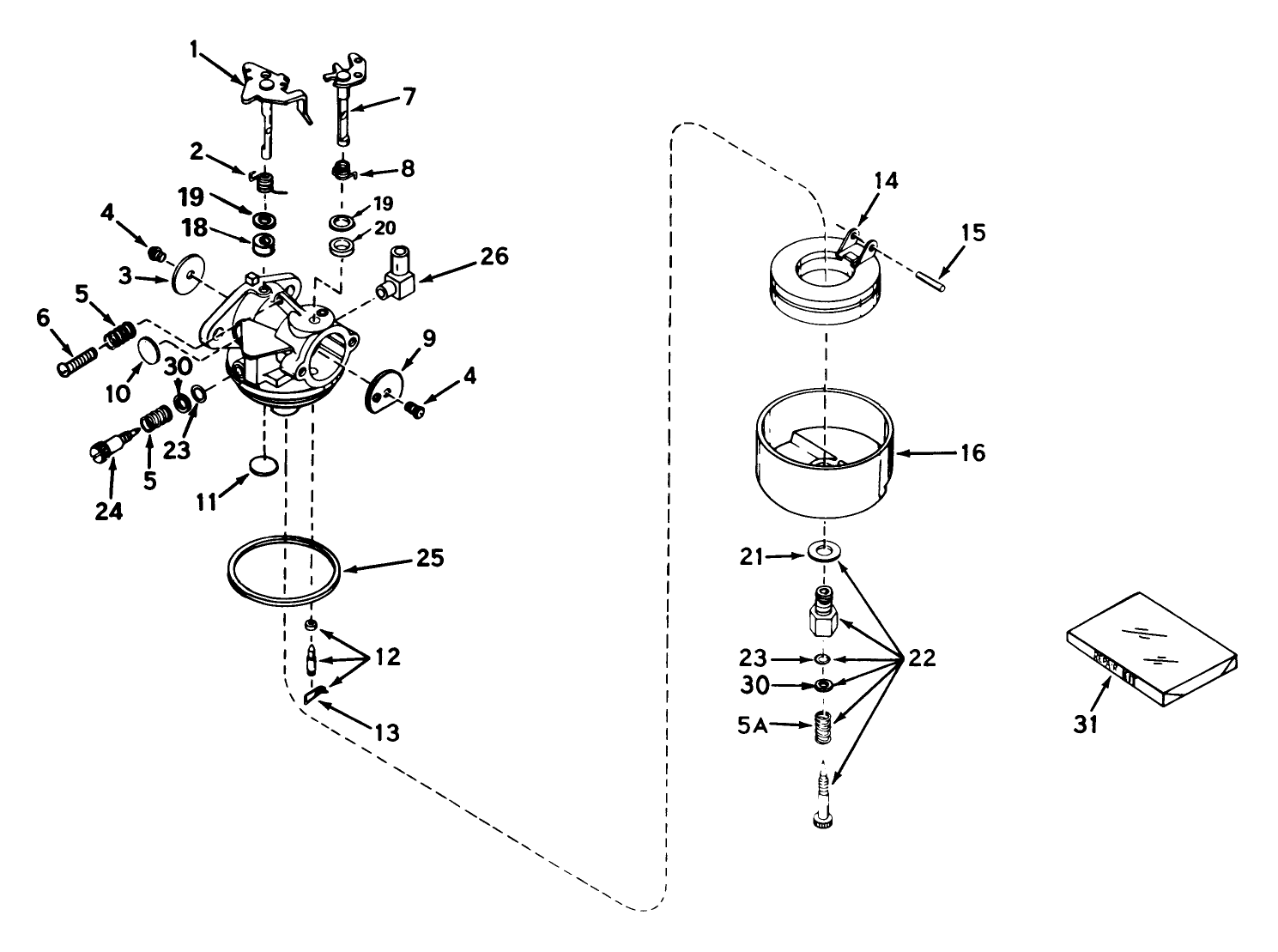
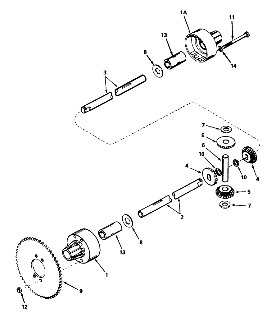
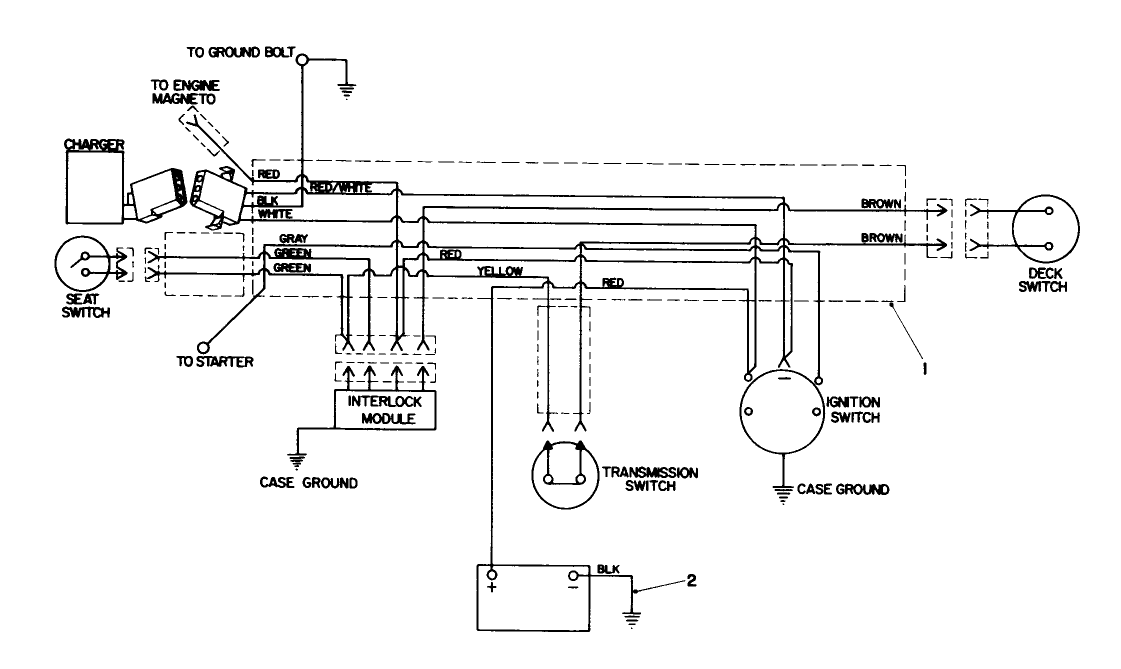
Assembly Drawings
Search for a part within assembly drawings:
-
Service Manual
-
Operator's Manual
-
Parts Catalog
(Part # All attachments are no longer available.)
-
Model #
56125 -
Serial #
3000001 - 3999999 -
Product Name
7-25 Rear Engine Rider -
Product Brand
Toro -
Product Type
Riding Products -
Product Series
Rear Engine Rider, 25" -
Swath
25 inch -
Discharge
Side -
Engine/Motor Manufacturer
Tecumseh -
Engine/Motor Size
7 hp -
Engine/Motor Type
4 Cycle -
Engine Starter
Electric -
Transmission Type
Gear
















