22in Recycler Lawn Mower
Product Information
- Model #: 20332C
- Serial #: 314000001 - 314999999
- Product Type: Walk Behind Mowers
Loading...
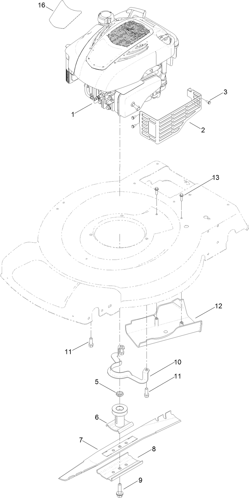
Assembly Drawings
Search for a part within assembly drawings:
-
Service Manual
-
Operator's Manual
-
Parts Catalog
Engine Maintenance Kit for Briggs & Stratton Engine (Part # 20234)
Keep your mower running smoothly, season after season. This kit is for walk-behind power mowers with Briggs & Stratton engines. The kit contains 20 oz. SAE 30 engine oil (#120-3306), a spark plug (#120-3305), an air filter (#120-3303) and a 0.5 oz. packet of fuel treatment (#130-2393).
Replacement Bag (Part # 59310)
Genuine OEM Part
22 Inch Recycler Blade (Part # 59534P)
Toro 22 Inch OEM Recycler blade. Recycler straight edge, standard discharge blade. The blade is designed for a High quality cut and long-lasting durability. These blades are designed with “wings,” called “accelerators” that kind of act like a fan — forcing the tiny bits of grass back into the earth. This Toro blade has multiple applications. Be sure to verify make and serial number to ensure the correct part. When it comes to reliability, Toro delivers replacement parts designed to the exact engineering specifications of our equipment. For peace of mind, insist on Toro genuine parts.
-
Model #
20332C -
Serial #
314000001 - 314999999 -
Product Name
22in Recycler Lawn Mower -
Product Brand
Toro -
Product Type
Walk Behind Mowers -
Product Series
22" Steel Deck -
Chassis Type
Steel Deck WPM -
Swath
22 inch -
Discharge
Recycler & Side Discharge with Rear Bag -
Engine/Motor Manufacturer
Briggs & Stratton -
Engine/Motor Type
4 Cycle -
Engine Starter
Recoil -
Transmission Type
Gear -
Traction Type
Rear WD
-
Engine: Engine Speed
2900±100 RPM -
Engine: Ignition Coil Air Gap
.010" / .25mm -
Engine: Spark Plug Gap
.030"/ .76mm -
Engine: Engine Oil Type
20 oz. (.6l) 30w / API SH or higher -
Chassis: Height of Cut Range
1" - 4" (2.5-10 cm) -
Engine: Spark Plug
Champion RJ19MC -
Drive System: Ground Speed
0-4.3 mph






