HoverPro Series
Product Information
- Model #: 02611
- Serial #: 314000001 - 314000200
- Product Type: Walk Behind Mowers
Loading...
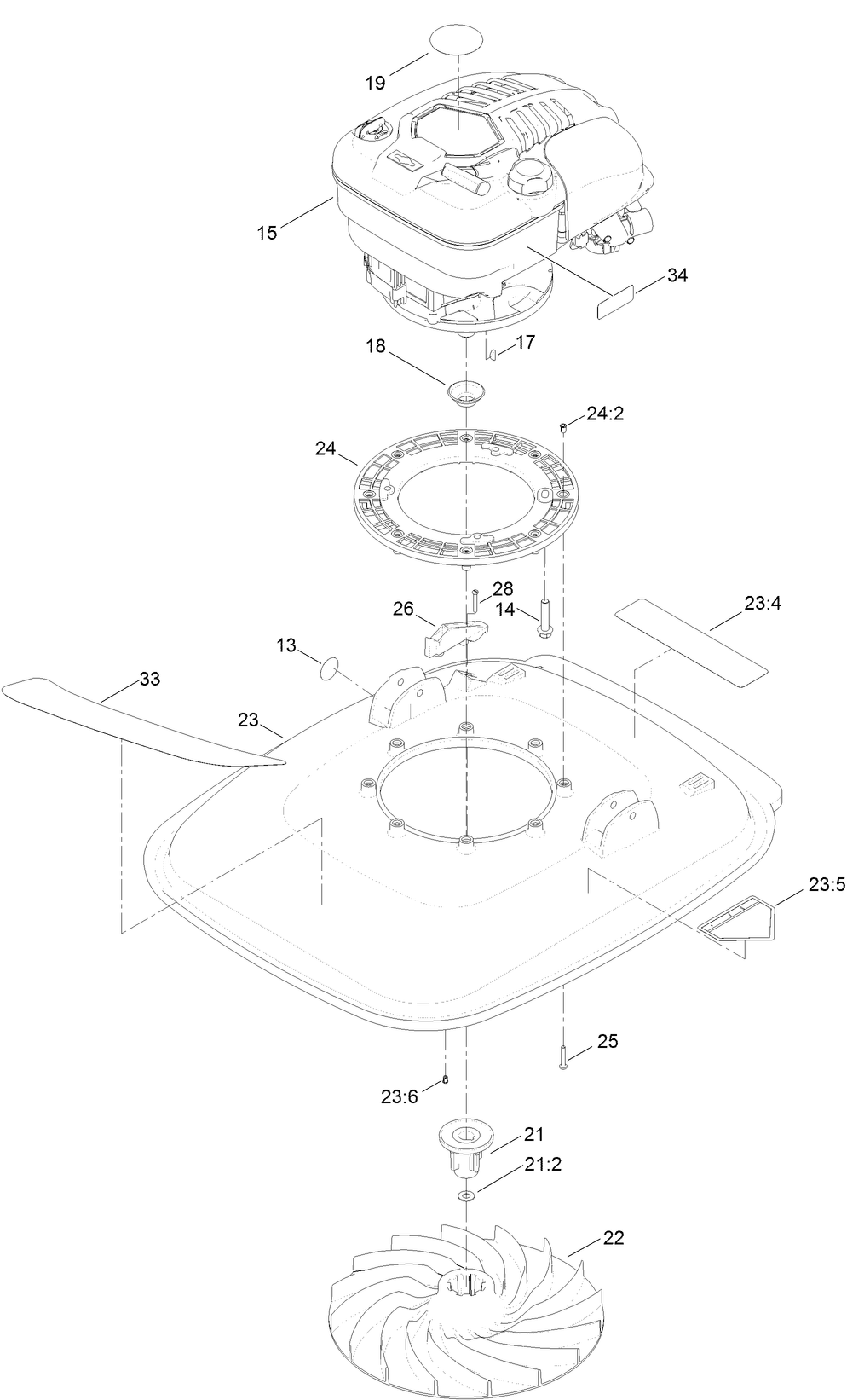
Assembly Drawings
Search for a part within assembly drawings:
-
Operator's Manual
-
Parts Catalog
-
Setup Instructions
-
Service Bulletin
Transport Wheel Kit, HoverPro 450/500/550 Mower (Part # 02622)
Handlebar Extension Kit, HoverPro 450/500/550 Mower (Part # 02623)
-
Model #
02611 -
Serial #
314000001 - 314000200 -
Product Name
HoverPro Series -
Product Brand
Toro -
Product Type
Walk Behind Mowers -
Product Series
HoverPro Rotary Mower















