VR-3100 Rammer Compactor
Product Information
- Model #: 68035
- Serial #: 315000001 - 315999999
- Product Type: Compactors
Loading...
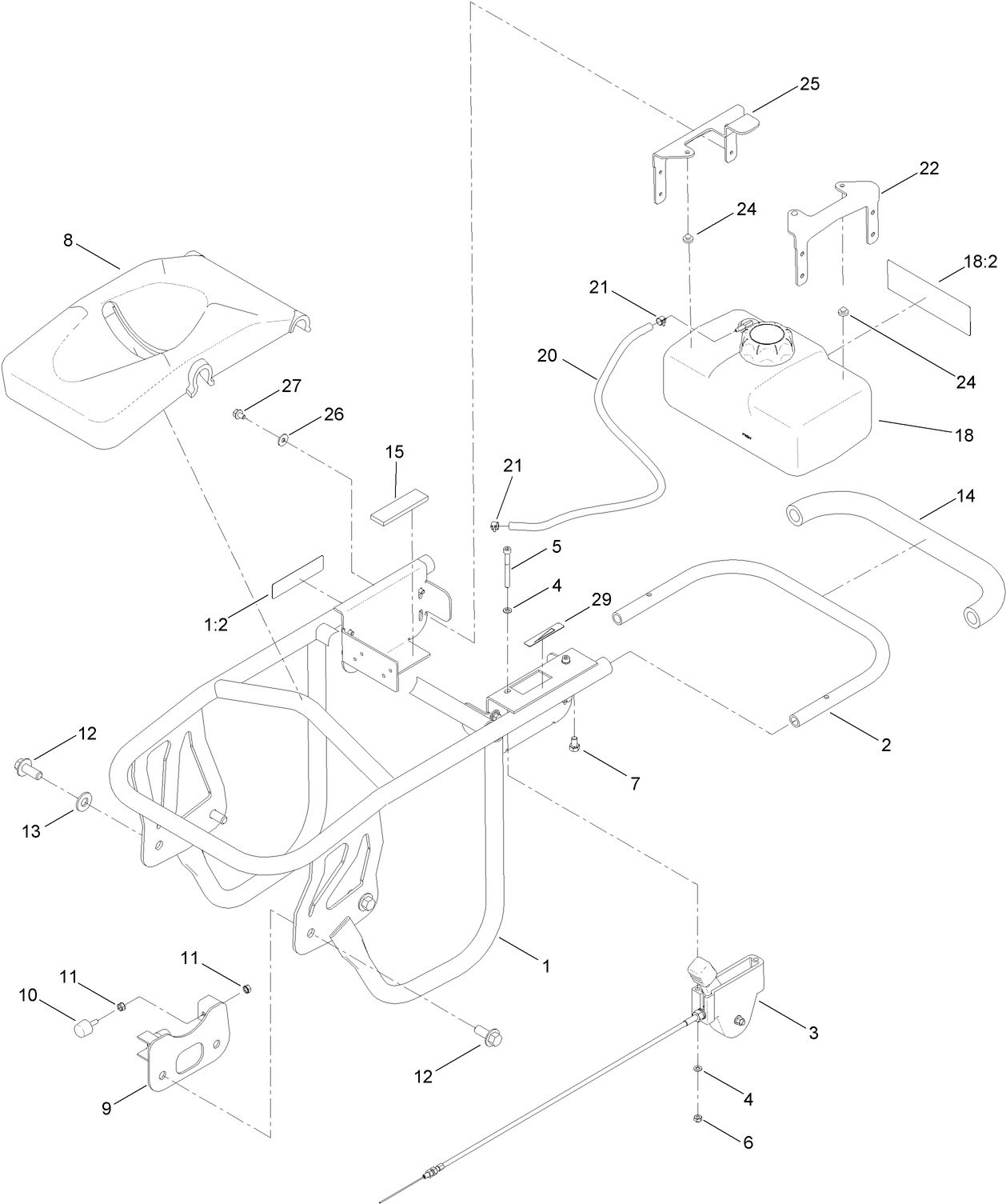
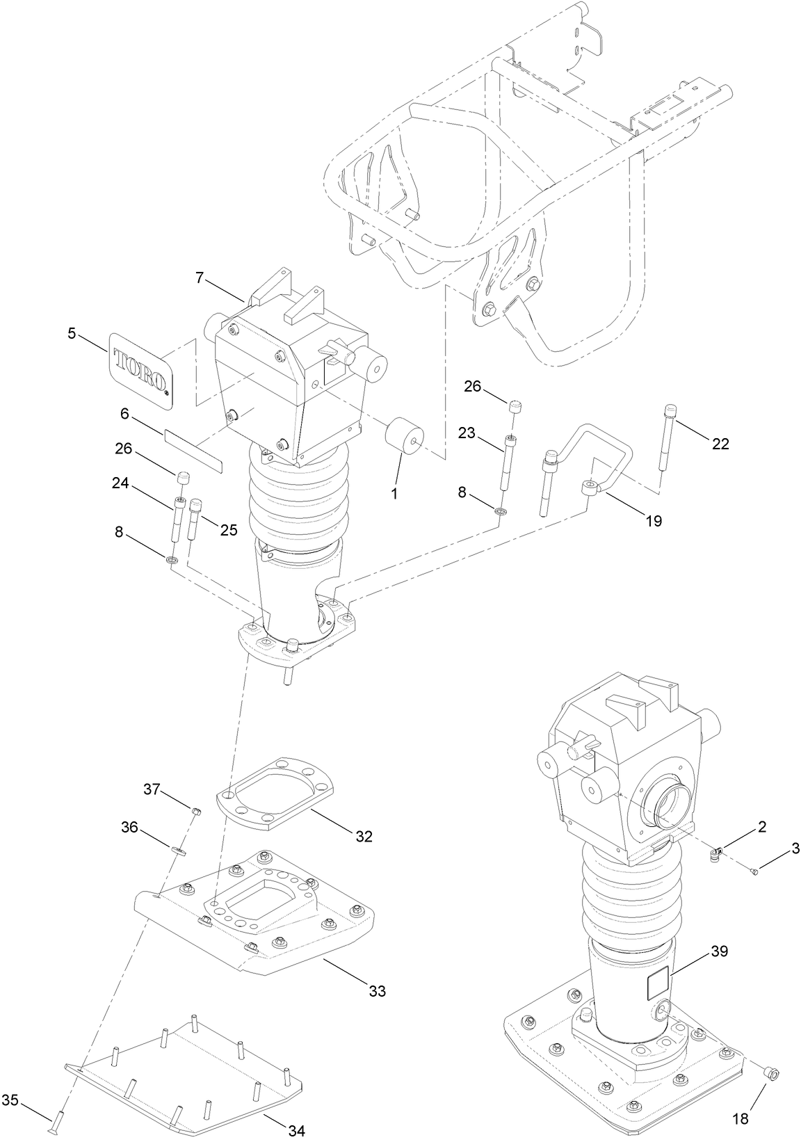
Assembly Drawings
Search for a part within assembly drawings:
-
Operator's Manual
-
Parts Catalog
-
Engine Evaporative Emission Warranty
-
Model #
68035 -
Serial #
315000001 - 315999999 -
Product Name
VR-3100 Rammer Compactor -
Product Brand
Toro -
Product Type
Compactors -
Engine/Motor Manufacturer
HONDA



