Pro Force® Debris Blower with Tethered Controller
Product Information
- Model #: 44554
- Serial #: 315000001 - 315999999
- Product Type: Commercial Debris Blower
Loading...
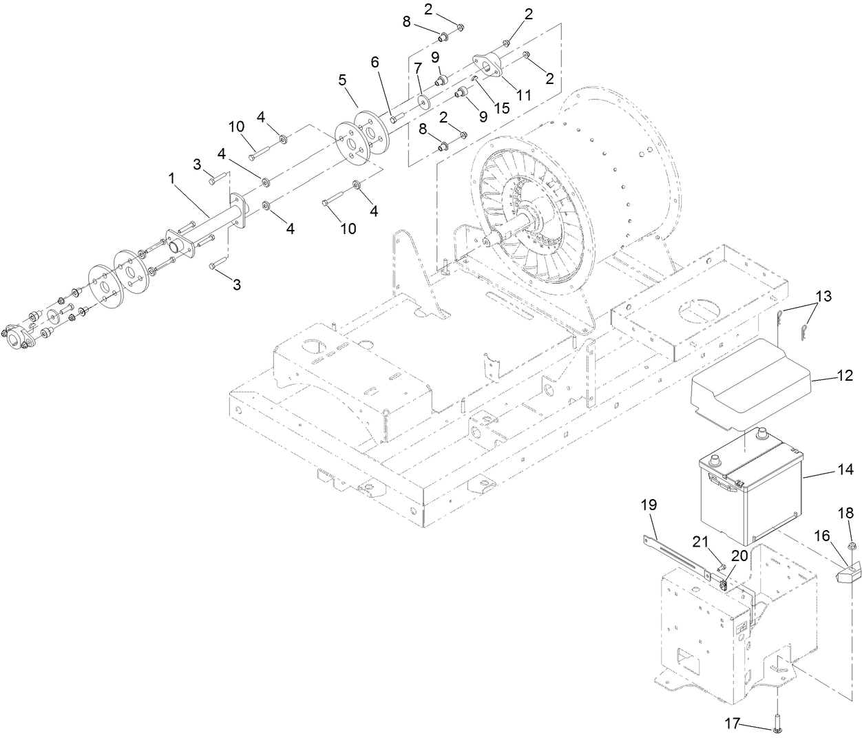
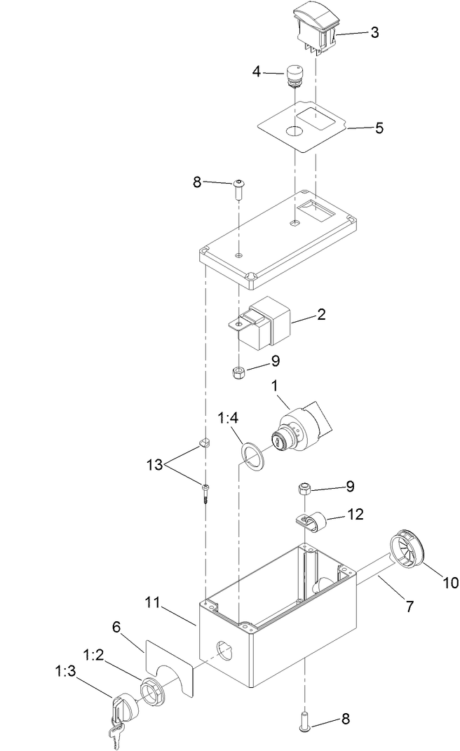
Assembly Drawings
Search for a part within assembly drawings:
-
Service Manual
-
Operator's Manual
-
Parts Catalog
-
EU Declaration of Conformity
-
Engine Evaporative Emission Warranty
-
Schematic Drawing - Electrical
-
Service Bulletin
Tapered Nozzle Kit (Part # 119-6280)
Alternative nozzle option to best suit your needs.
Rectangular Nozzle Kit (Part # 119-6281)
Alternative nozzle option to best suit your needs.
SERVICE-TURBINE, KIT (Part # 145-7489)
Toro Red 12or aerosol can. (Part # 361-10)
Genuine OEM Part
Red Paint (Gallon) (Part # 361-11)
Genuine OEM Part
Semi-Gloss Black Paint (Part # 361-9)
Genuine OEM Part
Spark Arrestor Screen (Part # 94-8157)
-
Model #
44554 -
Serial #
315000001 - 315999999 -
Product Name
Pro Force® Debris Blower with Tethered Controller -
Product Brand
Toro -
Product Type
Commercial Debris Blower -
Product Series
Turf Maintenance Equipment










