24-inch (61 cm) SnowMaster® 724 QXE Snow Blower
Product Information
- Model #: 36002
- Serial #: 316000001 - 316999999
- Product Type: Snowthrowers
Loading...
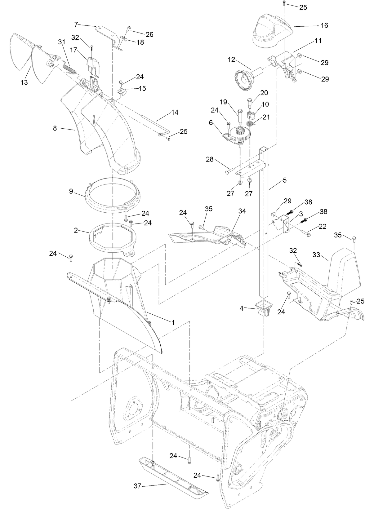
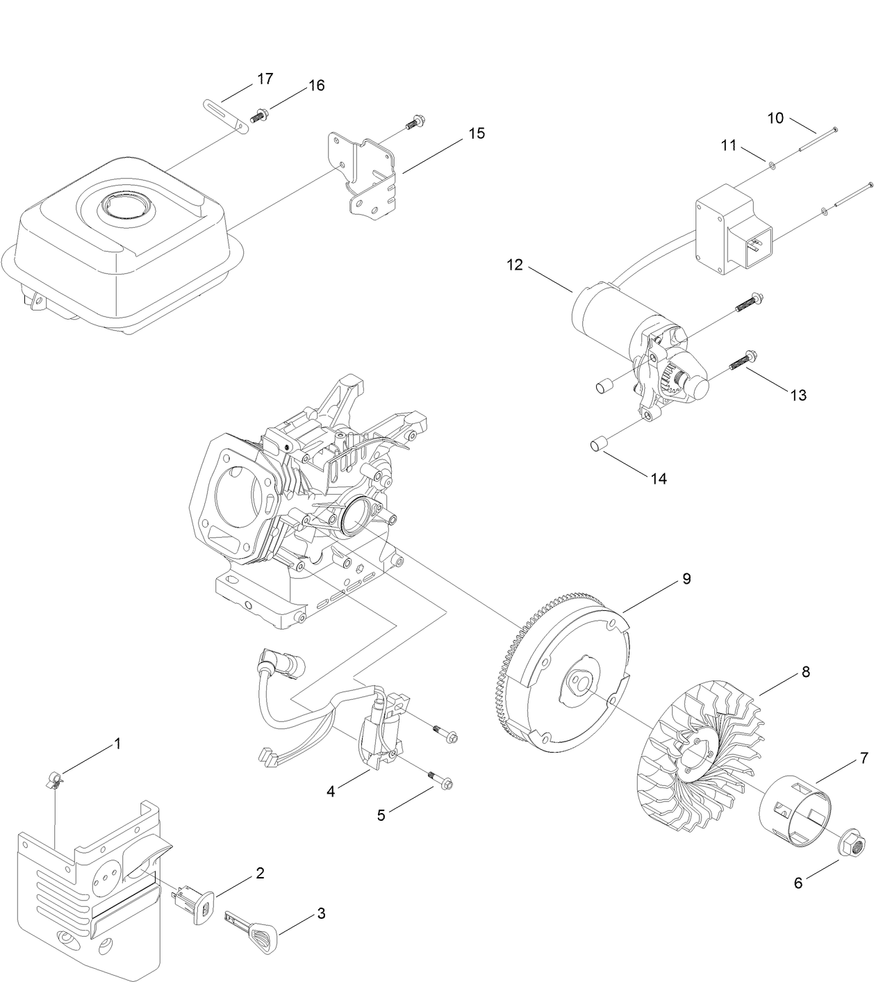
Assembly Drawings
Search for a part within assembly drawings:
-
Operator's Manual
-
Parts Catalog
Winter 5W-30 Synthetic Winter Engine Oil (Part # 38908)
Toro 5W-30 Synthetic Winter Engine Oil is engineered to provide superior performance and easy
starting in extreme cold temperatures. The easiest starting winter oil in extreme cold.
Winter 0W-30 Synthetic Winter Engine Oil (Part # 38913)
Toro 0W-30 Synthetic Winter Engine Oil is engineered to provide superior performance and easy
starting in extreme cold temperatures. The easiest starting winter oil in extreme cold.
Two Stage Snow Blower Cover (Part # 490-7466)
Toro genuine snow blower cover. Specifically designed for Toro 2-Stage Power Max and Power Max HD models
Water resistant backing for extra weather protection
Heavy-duty abrasion resistant 600 Denier polyester fabric
Maintains flexibility, even on the coldest days
-
Model #
36002 -
Serial #
316000001 - 316999999 -
Product Name
24-inch (61 cm) SnowMaster® 724 QXE Snow Blower -
Product Brand
Toro -
Product Type
Snowthrowers -
Product Series
Snowthrower, SnowMaster -
Chassis Type
Single Stage -
Swath
24 inch -
Engine/Motor Manufacturer
Toro -
Engine/Motor Size
212cc -
Engine/Motor Type
4 Cycle -
Engine Starter
Electric/Recoil -
Traction Type
2wd
-
Engine: Spark Plug Gap
.030"/ .76mm -
Engine: Engine Speed
3300±100 RPM -
Engine: Spark Plug
Champion RN9YC / NGK BPR6ES / NHPS F7RTC (OEM China) -
Drive System: Ground Speed
0-3.5 mph / 0-5.6 km/h -
Chassis: Tire Pressure
15-20 PSI (103-137 kPa) -
Engine: Fuel Tank Capacity
2.3 Qt (2.18 L) -
Engine: Engine Oil Type
18 oz (0.53l) SAE 5W-30 or 5W-30 Synthetic / API SJ or higher
















