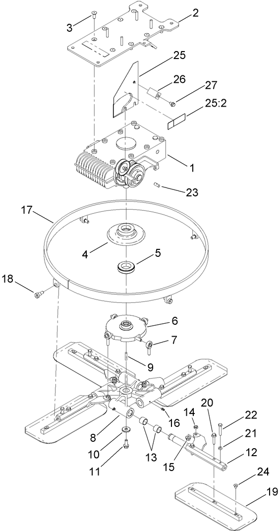
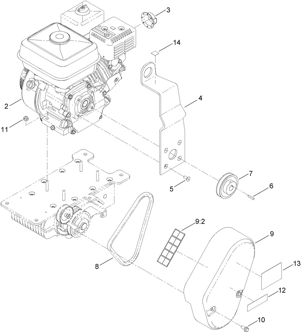
PT-36 Power Trowel
Product Information
- Model #: 68048
- Serial #: 316000001 - 316999999
- Product Type: Concrete Equipment
Loading...
Assembly Drawings
Search for a part within assembly drawings:
-
Operator's Manual
-
Parts Catalog
-
Model #
68048 -
Serial #
316000001 - 316999999 -
Product Name
PT-36 Power Trowel -
Product Brand
Toro -
Product Type
Concrete Equipment -
Engine/Motor Manufacturer
HONDA




