Pro Force® Debris Blower (DOT-compliant)
Product Information
- Model #: 44553
- Serial #: 409300000 - 411999999
- Product Type: Commercial Debris Blower
Loading...
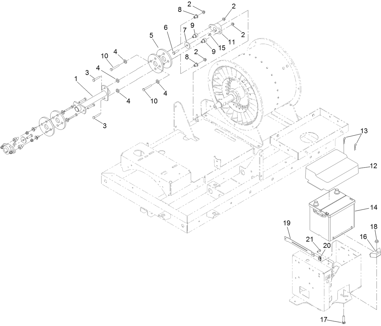
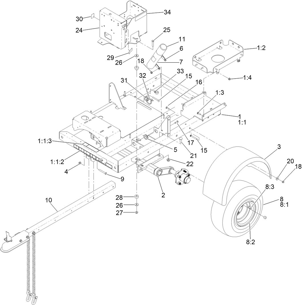
Assembly Drawings
Search for a part within assembly drawings:
-
Service Manual
-
Operator's Manual
-
Parts Catalog
-
Schematic Drawing - Electrical
-
Service Bulletin
Tapered Nozzle Kit (Part # 119-6280)
Alternative nozzle option to best suit your needs.
Rectangular Nozzle Kit (Part # 119-6281)
Alternative nozzle option to best suit your needs.
10 Gallon Kit (Part # 130-4371)
Store 10 gallons of fuel.
Alignment Tool ASM (Part # 137-6616)
CHUTE POSITION INDICATOR KIT (Part # 140-2257)
Spark Arrestor Screen (Part # 94-8157)
-
Model #
44553 -
Serial #
409300000 - 411999999 -
Product Name
Pro Force® Debris Blower (DOT-compliant) -
Product Brand
Toro -
Product Type
Commercial Debris Blower












