Log Splitter
Product Information
- Model #: 22618HD
- Serial #: 405500000 - 407699999
- Product Type: Tree Care Products
Loading...
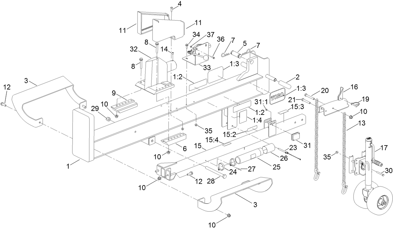
Assembly Drawings
Search for a part within assembly drawings:
-
Operator's Manual
-
Parts Catalog
-
Product Warranty
-
Reference Guide
Spark Arrester Kit, Log Splitter (Part # 137-0592)
KIT-PUMP, SERVICE (Part # 137-4850)
KIT-CYLINDER, SERVICE (Part # 137-4852)
-
Model #
22618HD -
Serial #
405500000 - 407699999 -
Product Name
Log Splitter -
Product Brand
Toro -
Product Type
Tree Care Products -
Engine Starter
Recoil



