Transport Frame, Trans Pro 80 Tow-Behind Trailer
Product Information
- Model #: 04238
- Serial #: 410192806 - 415099999
- Product Type: Walk Behind Mowers
Loading...
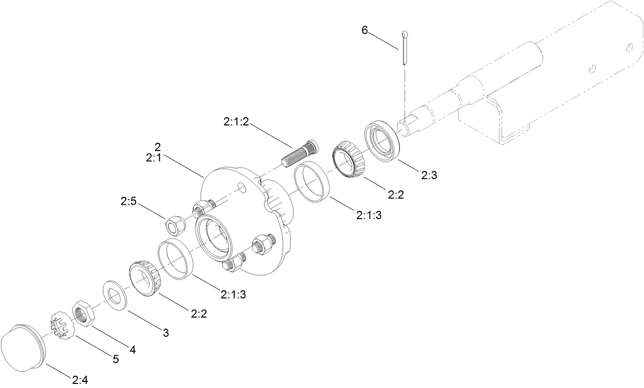
Assembly Drawings
Search for a part within assembly drawings:
-
Parts Catalog
-
Installation Instructions
Flat Ramp (Part # 04245)
Rail Ramp Kit (Part # 04247)
Adjustable Hitch Kit (Part # 107-8188)
Contains 107-8186-01 @ 2, 108-3168 @ 2, 107-8190-01 @ 1, 108-3169-03 @ 1, 323-15 @ 4, 3296-39 @ 4
-
Model #
04238 -
Serial #
410192806 - 415099999 -
Product Name
Transport Frame, Trans Pro 80 Tow-Behind Trailer -
Product Brand
Toro -
Product Type
Walk Behind Mowers


