Image Not Found

Product Information

  • Model #: 73401
  • Serial #: 5900261 - 5901260
  • Product Type: Riding Products
Toro Red 12or aerosol can.
Toro Genuine Parts Logo
Red Paint (Gallon) (Part # 361-11)
Toro Genuine Parts Logo
Red Paint (Part # 5340)
Image Not Found
36" Rear Discharge Mower (Part # 78305)
Image Not Found
42" Side Discharge Mower (Part # 78345)
Image Not Found
42" Rear Discharge Mower (Part # 78350)
Image Not Found
42" Recycler Mower (Part # 78355)
Image Not Found
48" Side Discharge Mower (Part # 78360)
Image Not Found
11.0 cu. ft. Vac Bagger - 42"/48" (Part # 79301)
Image Not Found
48" Snow/Dozer Blade (Part # 79350)
Image Not Found
50" Mid-mount Grader Blade (Part # 79351)
Image Not Found
42" Snowthrower (Part # 79360)
Image Not Found
44" Two-Stage Snowthrower (Part # 79361)
Image Not Found
36" Tiller (Part # 79370)
Image Not Found
Front Mower Carrier (Part # 79380)
Genuine OEM Part 81115
Wheel Weight Kit (Part # 81115)
  • Model #
    73401
  • Serial #
    5900261 - 5901260
  • Product Name
    314-H Garden Tractor
  • Product Brand
    Toro
  • Product Type
    Riding Products
  • Product Series
    Garden Tractor, 3/4/500, C, GT
  • Swath
    Deck Optional
  • Discharge
    Deck Optional
  • Engine/Motor Manufacturer
    Kohler
  • Engine/Motor Size
    14 hp
  • Engine/Motor Type
    4 Cycle
  • Engine Starter
    Electric
  • Transmission Type
    Hydrostatic
  • Engine: Horsepower @ 3600 rpm
    14hp.
  • Engine: Displacement ( cu.in. )
    31.27
  • Engine: Bore
    3.50"
  • Engine: Stroke
    3.25"
  • Engine: Compression Ratio
    7.0:1
  • Engine: Weight Approx.
    129 lbs.
  • Engine: Oil Capacity (Approx.)
    2 qts.
  • Engine: Fuel Tank Capacity
    1.5 gals.
  • Engine Torque: Air Cleaner Nut
    50 in.lbs.
  • Engine: Balance Gear, End Play
    .002/.010"
  • Engine: Balance Gear, New Stub Shaft O.D.
    .4998/.5001"
  • Engine: Balance Gear, Stub Shaft O.D. Max. Wear Limit
    .4996"
  • Engine: Camshaft End Play
    .005/.010"
  • Engine: Camshaft to Camshaft Pin Running Clearance
    .0010/.0035"
  • Engine: Camshaft Pin Depth From Crankase Surface.
    .300/.330"
  • Engine: Camshaft Cup Plug Depth from Crankcase Surface
    .000/.030"
  • Engine: Carburetor Preliminary Main Fuel Screw Setting
    2 1/2 Turns
  • Engine: Carburetor Preliminary Idle Fuel Screw Setting
    2 1/2 Turns
  • Engine: Carburetor Float Level
    1 1/64 (+/- 1/32)
  • Engine: Carburetor Float Drop
    1 1/32
  • Engine: Carburetor Float to Float Tower Clearance
    .010"
  • Engine: Rod to Crankpin Running Clearance (new)
    .001/.002"
  • Engine: Rod to Crankpin Running Clearance (max. wear limit)
    .0025"
  • Engine: Rod to Pistonpin Running Clearance (new)
    .0003/.0008"
  • Engine: Piston Pin End I.D. (new)
    .8757/.8760"
  • Engine: Rod Side Play on Crankpin
    .007/.016"
  • Engine: Crankshaft End Play
    .003/.020"
  • Engine: Main Bearing Surface O.D. (new)
    1.5745/1.5749"
  • Engine: Main Bearing Surface O.D. (max. wear limit)
    1.5745"
  • Engine: Crankpin O.D. (new)
    1.5000/1.4995"
  • Engine: Crankpin O.D. (max. out of round)
    .0005"
  • Engine: Crankpin O.D. Max. Taper
    .001"
  • Engine: Cylinder Bore I.D. (new)
    3.5005/3.4995"
  • Engine: Cylinder Bore I.D. (max. wear limit)
    3.503"
  • Engine: Cylinder Bore I.D. (max. out round)
    .005"
  • Engine: Cylinder Bore I.D. (max. taper)
    .002"
  • Engine: Cylinder Head Max. Out Of Flatness
    .003"
  • Engine: Gear Reduction Shaft End Play
    .005/.030"
  • Engine: Governor Bushing to Cross Shaft Running Clearance
    .0010/.0025"
  • Engine: Governor Gear to Stub Shaft Running Clearance
    .0005/.0020"
  • Engine: Governor Cross Shaft End Play
    .001/.069"
  • Engine: Ignition Module Air Gap
    .012/.016"
  • Engine: Spark Plug Type
    Champion RH-10
  • Engine: Type A Piston Thrust Face O.D. @D 1 (new)
    3.4941/3.4925"
  • Engine: Type A Piston Thrust Face O.D. @ D1 (max. wear limit)
    3.491"
  • Engine: Type A Piston Thrust Face to Bore Clearance @D1 (new)
    .007/.010"
  • Engine: Type A Piston Ring End Gap (new)
    .010/.020"
  • Engine: Type A Piston Ring End Gap (max.wear limit)
    .030"
  • Engine: Type A Piston Ring Side Clearance (max. )
    .006"
  • Engine: Type A Piston Pin O.D. (new)
    .8752/.8754"
  • Engine: Intake Valve to Tappet Clearance (cold)
    .008/.010"
  • Engine: Exhaust Valve to Tappet Clearance (cold)
    .017/.019"
  • Engine: Intake Valve Minimum Lift - Zero Lash
    .318"
  • Engine: Exhaust Valve Minimum Lift - Zero Lash
    .318"
  • Engine: Intake Valve Minimum Stem O.D.
    .3103"
  • Engine: Exhaust Valve Minimum Stem O.D.
    .3074"
  • Engine: Nominal Valve Seat Angle
    45 Degrees
  • Engine: Valve Guide Reamer Size
    .3125"
  • Engine: Intake Valve Guide I.D. (max. wear limit)
    .006"
  • Engine: Exhaust Valve Guide I.D. (max. wear limit)
    .008"
  • Engine Torque: Camgear Cover Fastener
    115 in.lbs.
  • Engine Torque: Fuel Inlet Seat
    35 in.lbs.
  • Engine Torque: Bowl Retaining Screw
    50 in.lbs.
  • Engine Torque: New Rod Nuts
    260 in.lbs.
  • Engine Torque: Used Rod Nuts
    200 in.lbs.
  • Engine Torque: Cylinder Cap Screws
    25/30 ft.lbs.
  • Engine Torque: Flywheel Fan
    115 in.lbs.
  • Engine Torque: Flywheel
    40/45 ft.lbs.
  • Engine Torque: Fuel Pump Mounting Screws
    40/45 in.lbs.
  • Engine Torque: Fuel Tank Isolation Mount
    Hand Tight
  • Engine Torque: Governor Bushing
    100/120 in.lbs.
  • Engine Torque: Spark Plug Torque
    18/22 ft.lbs.
  • Engine Torque: Ignition Module Mounting Screws
    32 in.lbs.
  • Engine Torque: Oil Sentry Switch
    90 in.lbs.
  • Engine Torque: RemoteThrottle Control Nut
    10/15 in.lbs
  • Engine Torque: Engine mtd. Throttle Control Nut
    10/25 in.lbs.
  • Engine Torque: Shortened Throttle Control Nut
    70 in.lbs.
  • Chassis: Tire Pressure
    12 PSI / .5kg sq. cm
  • Drive System: Ground Speed
    Fwd. 0 - 5.6 Rev. 0 - 3.4 mph
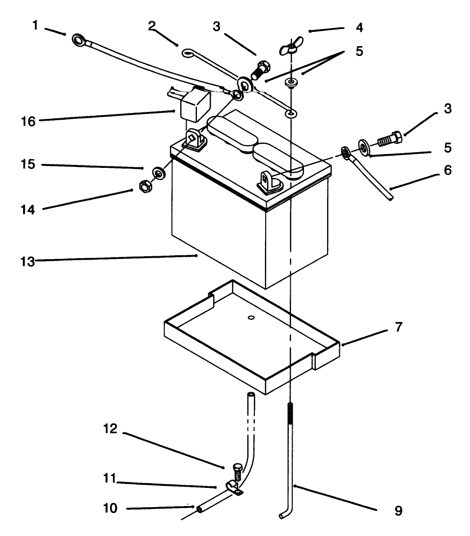
  • Engine: Battery
    12V 200CCA
  • Engine: Engine Speed
    High 3325, Low 1200 RPM
  • Engine: Spark Plug
    Champion RH10
  • Engine: Spark Plug Gap
    .025"/ .64mm

Register your product

Registering your product will ensure notification of important updates and expedite warranty service should it be necessary.

Register Now