17-44HXL Lawn Tractor
Product Information
- Model #: 71228
- Serial #: 220000001 - 220010000
- Product Type: Riding Products
Loading...
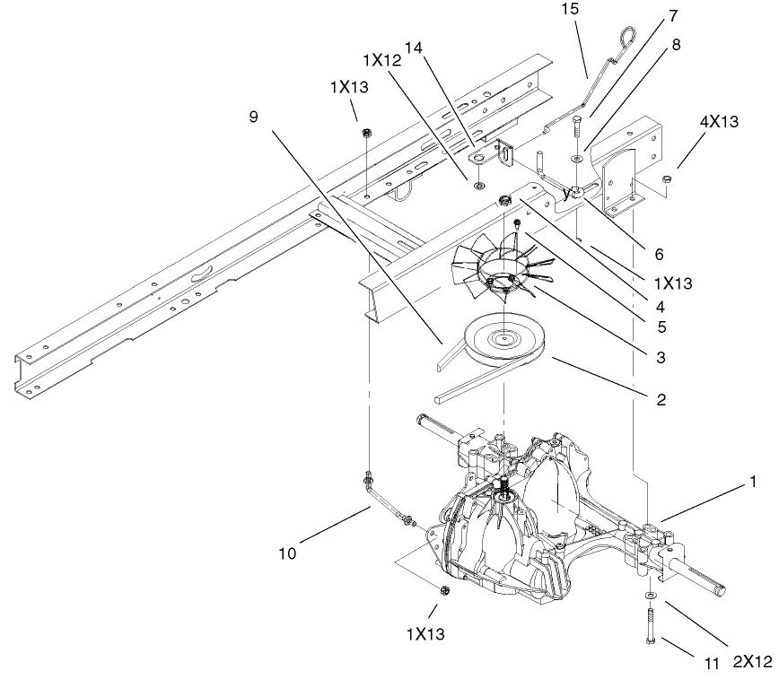
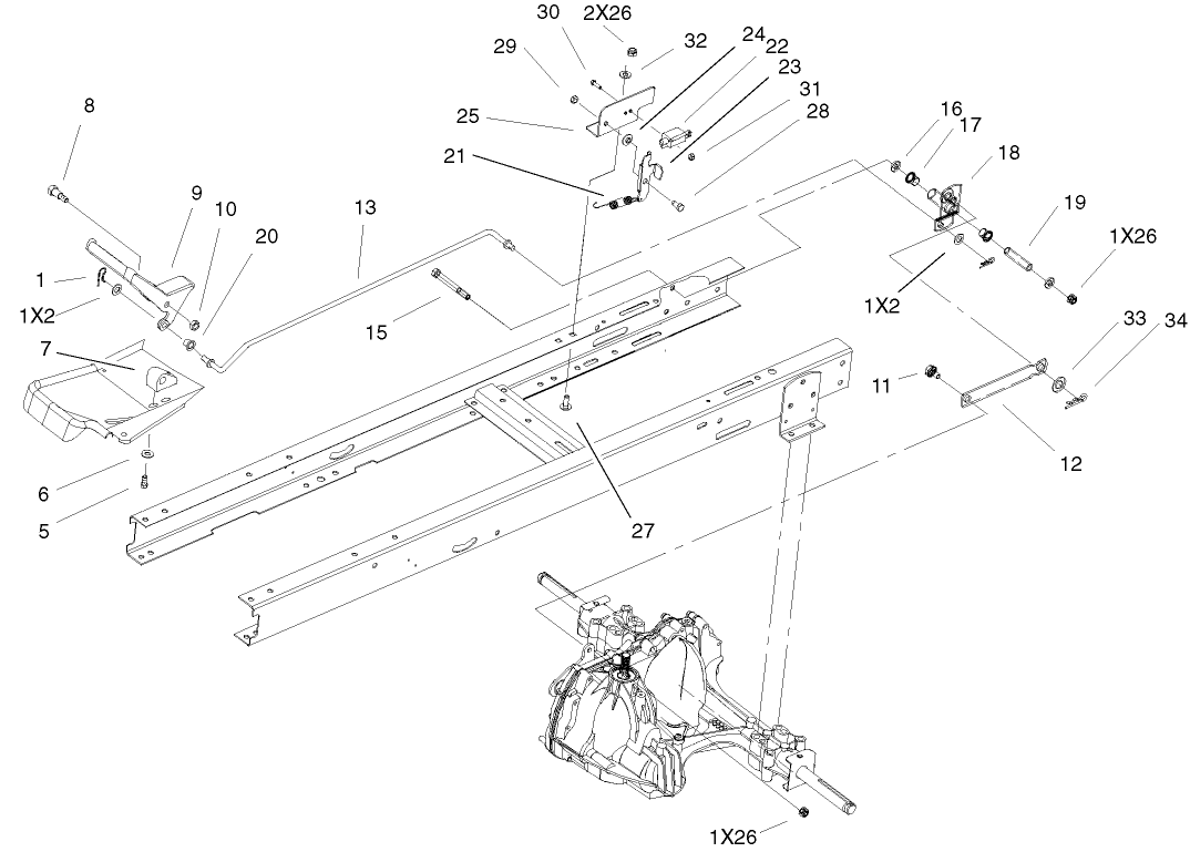
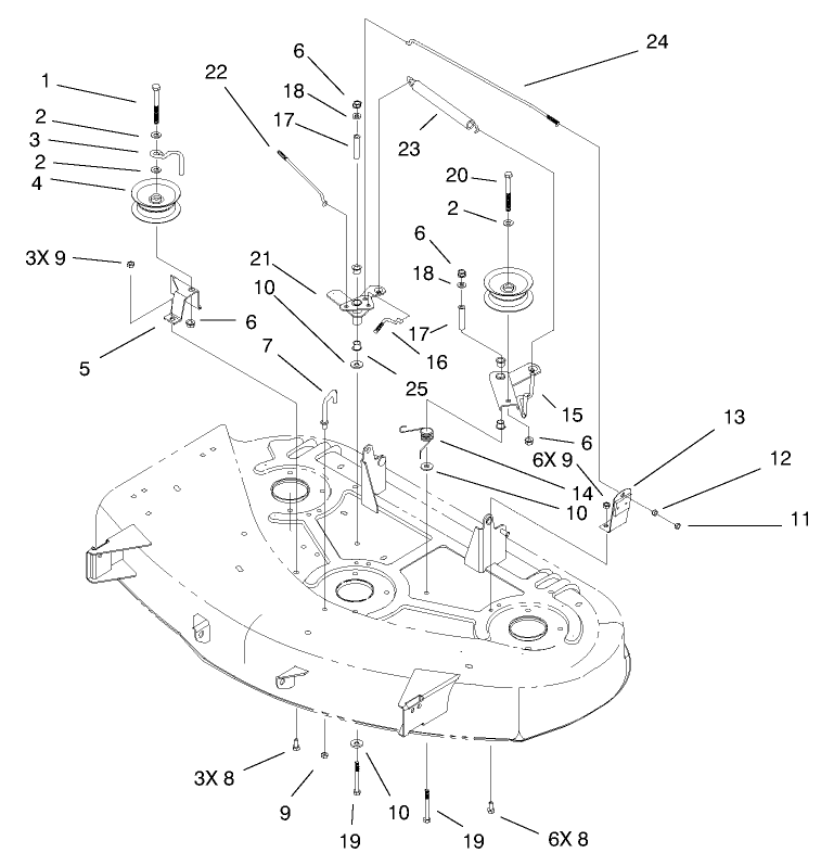
Assembly Drawings
Search for a part within assembly drawings:
-
Service Manual
-
Operator's Manual
-
Parts Catalog
-
Setup Instructions
Weight Kit (Part # 100-6230)
Genuine OEM Part
Please contact your local dealer
Toro Red 12or aerosol can. (Part # 361-10)
Genuine OEM Part
Red Paint (Gallon) (Part # 361-11)
Genuine OEM Part
Red Paint (Part # 5340)
Genuine OEM Part
Wheel Weight Kit (Part # 59159)
Genuine OEM Part
11.0 cu. ft. Vac Bagger - 44" (Part # 79102)
44" Recycler Mower (Part # 79108)
6.0 cu. ft. Easy-Empty Grass Catcher (Part # 79117)
42" Snow Blade (Part # 79150)
Tire Chain Accessory (Part # 82722)
Genuine OEM Part
Please contact your local dealer
Please contact your local dealer
-
Model #
71228 -
Serial #
220000001 - 220010000 -
Product Name
17-44HXL Lawn Tractor -
Product Brand
Toro -
Product Type
Riding Products -
Product Series
Lawn Tractor, XL Series -
Chassis Type
Lawn Tractor -
Swath
44 inch -
Discharge
Recycler -
Engine/Motor Manufacturer
Briggs & Stratton -
Engine/Motor Size
17 hp -
Engine/Motor Type
4 Cycle CARB1, EPA1 -
Engine Starter
Electric -
Transmission Type
Hydrostatic
-
Chassis: Tire Pressure
20 PSI / 1.4kg sq. cm -
Drive System: Ground Speed
Fwd. 0 - 6.0 Rev. 0 - 2.5 mph -
Engine: Battery
12V 160CCA -
Engine: Engine Speed
High 3300, Low 1750 RPM -
Engine: Spark Plug
Champion RC12YC -
Engine: Spark Plug Gap
.030"/ .76mm





























