44" Recycler Mower
Product Information
- Model #: 79105
- Serial #: 6900001 - 6999999
- Product Type: Attachments
Loading...
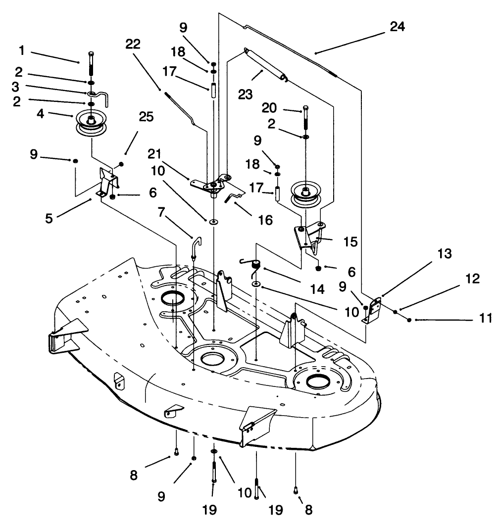
Assembly Drawings
Search for a part within assembly drawings:
-
Operator's Manual
-
Parts Catalog
-
Model #
79105 -
Serial #
6900001 - 6999999 -
Product Name
44" Recycler Mower -
Product Brand
Toro -
Product Type
Attachments -
Product Series
Attachments & Kits, Consumer Riding -
Swath
44 inch -
Discharge
Recycler


