48" Side Discharge Mower, 5xi Garden Tractors
Product Information
- Model #: 78363
- Serial #: 8900001 - 8999999
- Product Type: Attachments
Loading...
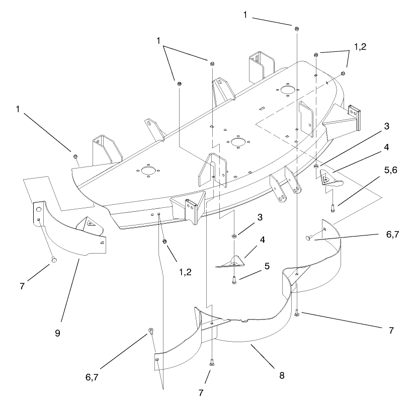
Assembly Drawings
Search for a part within assembly drawings:
-
Operator's Manual
-
Parts Catalog
-
Model #
78363 -
Serial #
8900001 - 8999999 -
Product Name
48" Side Discharge Mower, 5xi Garden Tractors -
Product Brand
Toro -
Product Type
Attachments -
Product Series
Attachments & Kits, Consumer Riding -
Swath
48 inch -
Discharge
Side





