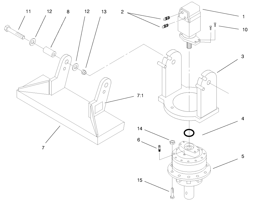
Auger Head, Dingo Compact Utility Loader
Product Information
- Model #: 22400
- Serial #: 800001 - 800292
- Product Type: Compact Utility Loaders, Attachments
Loading...
Assembly Drawings
Search for a part within assembly drawings:
-
Operator's Manual
-
Parts Catalog
6" Auger, Dingo (Part # 22402)
9" Auger, Dingo (Part # 22403)
12" Auger, Dingo (Part # 22404)
15" Auger, Dingo (Part # 22405)
18" Auger, Dingo (Part # 22406)
24" Auger, Dingo (Part # 22407)
30" Auger, Dingo (Part # 22408)
Counterweight, Dingo (Part # 22417)
8" Auger, Dingo (Part # 22440)
Cement Mixer Attachment (Part # 22442)
This unique attachment will mix and pour up to 200 pounds (90.7 kg) of dry cement. The specially designed auger flighting inside the cement bowl keeps the cement in the bowl during mixing. This same auger design permits cement to be poured into fence post holes with the posts in place!
10" Auger, Dingo (Part # 22446)
12" Auger Extension, Dingo (Part # 22448)
24" Auger Extension, Dingo (Part # 22449)
Capstan Adaptor, Dingo (Part # 22450)
Screw Anchor Adaptor, Dingo (Part # 22451)
Rear Stablizer, Dingo (Part # 22452)
Rock Auger, Dingo (Part # 22454)
-
Model #
22400 -
Serial #
800001 - 800292 -
Product Name
Auger Head, Dingo Compact Utility Loader -
Product Brand
Toro -
Product Type
Compact Utility Loaders, Attachments -
Product Series
Attachments & Kits, SWS & CUE


