Dingo 320-D Traction Unit
Product Information
- Model #: 22303
- Serial #: 990001 - 999999
- Product Type: Compact Utility Loaders
Loading...
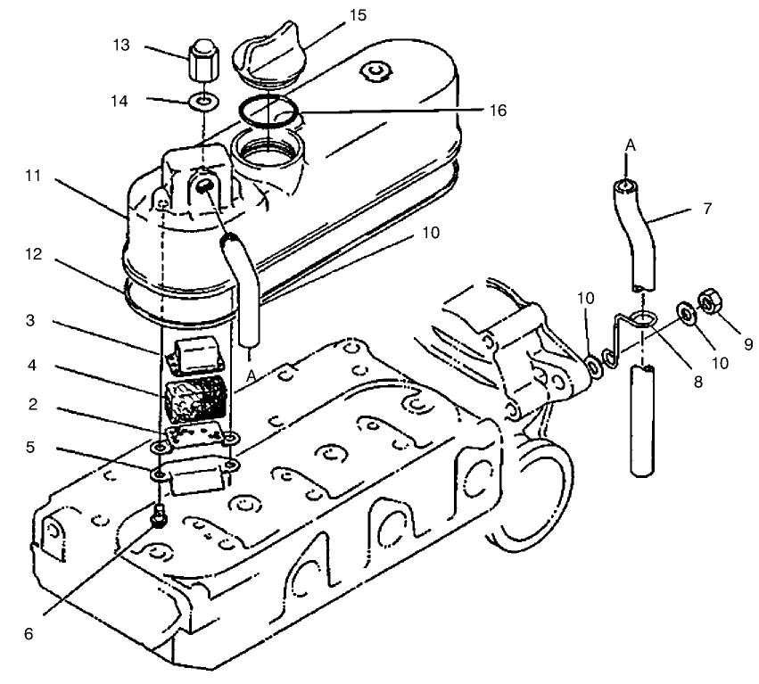
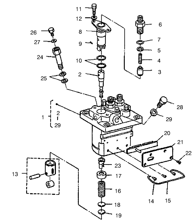
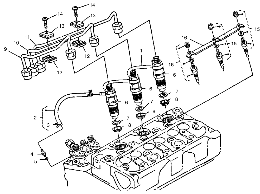
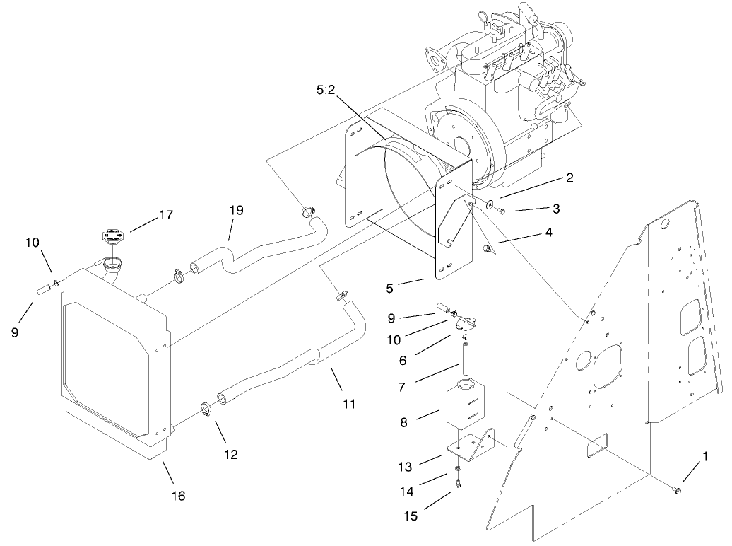
Assembly Drawings
Search for a part within assembly drawings:
-
Service Manual
-
Operator's Manual
-
Parts Catalog
Tire Chain Kit, Dingo (Part # 100-4140)
Hydraulic Cylinder Kit, Sitework Systems (Part # 100-4163)
Flush Face Converter Kit, Dingo (Part # 100-4789)
Light Kit for Dingo 323, TX 427, TX 525 (Part # 100-8840)
Light kit fits: Dingo 323, TX 427, TX 525 - LAMP 12V
Narrow Tire Assembly (Part # 104-0572)
Spool Carrier Kit, Dingo (Part # 104-2661)
Hydraulic Valve Kit, Dingo (Part # 104-4221)
KIT-VALVE, 4-SPOOL, HYD (Part # 104-7422)
Thigh Support Kit, Dingo Gas-Powered Wheel-Drive Traction Units (Part # 105-0330)
Inner Tube (Part # 105-4070)
Genuine OEM Part
Rubber Foot Mat (Part # 105-5805)
Tire Tube (Part # 106396)
Snow Cab, Dingo (Part # 20035)
Auger Head, Dingo (Part # 22400)
6" Auger, Dingo (Part # 22402)
9" Auger, Dingo (Part # 22403)
12" Auger, Dingo (Part # 22404)
15" Auger, Dingo (Part # 22405)
18" Auger, Dingo (Part # 22406)
24" Auger, Dingo (Part # 22407)
30" Auger, Dingo (Part # 22408)
Loader Bucket Attachment (Part # 22409)
Use this standard bucket for moving rock, dirt, sand or other materials off and around the job site. The hardened steel cutting edge offers improved cutting and digging capability for better performance to handle tough digging conditions and affords superior wear. Capacity = 4 cubic feet (1 cu. m.).
Light Materials Loader Bucket Attachment (Part # 22410)
Designed for moving light materials like chip-bark, mulch, snow and loam. The larger capacity bucket, 6.4 cubic feet (.2 cu. m.), is great for handling larger loads of lighter materials. The hardened steel cutting edge allows for improved cutting and digging capability for better performance to handle tough digging conditions and affords superior wear.
Four In One Bucket, Dingo (Part # 22411)
Backhoe, Dingo (Part # 22412)
Utility Blade Attachment (Part # 22414)
The Toro Dingo hydraulic blade greatly increases the versatility of your Dingo system. This incredibly versatile attachment can be used for a variety of earth or snow moving jobs. Fill trenches where rows of trees have been planted or irrigation pipes have been installed. Keep your hydraulic blade working in the winter by pushing snow from sidewalks in one pass.
Rotary Broom, Dingo (Part # 22415)
Counterweight, Dingo (Part # 22417)
Adjustable Forks, Dingo (Part # 22418)
Leveler, Dingo (Part # 22419)
Bore Drive Head Attachment (Part # 22420)
The Toro® Dingo® boring unit allows you to dig under sidewalks and driveways to simplify irrigation and cable installations. Shorter rod lengths and the ability to lower the bore head below grade allow you to work in both confined and open areas, increasing your productivity.
Rod and Reamer Kit (Part # 22421)
Easily bore under driveways and sidewalks to simplify irrigation and cable installations. Use with Bore Drive Head attachment model 22420. Working depth: 19". Bits and reamers up to 3.5" in diameter.
Multi-Purpose Tool, Dingo (Part # 22423)
U-Blade, Dingo (Part # 22424)
Spare Wheel And Tire, Dingo (Part # 22428)
Stump Grinder Attachment (Part # 22429)
The Toro® Dingo® Stump Grinder easily attaches to either Dingo or Dingo TX compact utility loaders. Make grinding stumps quicker and more productive with the stump grinder attachment for your Toro Dingo.
Vibratory Plow, Dingo (Part # 22437)
Tree Fork Attachment (Part # 22438)
The Toro Dingo hydraulic tree forks can help you plant trees and large shrubs quickly and effortlessly, plus move all sorts of materials around your garden center or nursery. The Dingo Compact Utility Loader is especially easy to maneuver, helping you transport and position trees or shrubs exactly where you want them.
Two-Axle Trailer, Dingo (Part # 22439)
8" Auger, Dingo (Part # 22440)
Concrete Breaker, Dingo (Part # 22441)
Cement Mixer Attachment (Part # 22442)
This unique attachment will mix and pour up to 200 pounds (90.7 kg) of dry cement. The specially designed auger flighting inside the cement bowl keeps the cement in the bowl during mixing. This same auger design permits cement to be poured into fence post holes with the posts in place!
The Eliminator Scarifier/Groomer, Dingo (Part # 22443)
Tiller Attachment (Part # 22445)
The Toro Dingo tiller attachment greatly increases the productivity and performance of your Dingo system. Break through hard soil conditions up to 6" (15.2 cm) deep. Avoid clogging the tiller by using one easy hand control to reverse the direction of the tiller to clear jams from rocks and debris.
10" Auger, Dingo (Part # 22446)
Trencher Head, Dingo (Part # 22447)
12" Auger Extension, Dingo (Part # 22448)
24" Auger Extension, Dingo (Part # 22449)
Capstan Adaptor, Dingo (Part # 22450)
Screw Anchor Adaptor, Dingo (Part # 22451)
Rear Stablizer, Dingo (Part # 22452)
Rock Auger, Dingo (Part # 22454)
Snowthrower, Dingo and Dingo TX (Part # 22456)
Over-the-Tire-Tracks, Dingo (U.S.A. model) (Part # 22457)
Agricultural Tire, Left Hand, Dingo (Part # 22458)
Trencher Head, Dingo (Part # 22459)
Narrow Tire and Wheel, Dingo (Part # 22460)
Agricultural Tire, Right Hand, Dingo (Part # 22461)
4" x 3' Trencher Rock Chain, Dingo (Part # 22462)
6" x 3' Trencher Rock Chain, Dingo (Part # 22463)
4" x 3' Trencher Chain, Dingo (Part # 22466)
6" x 3' Trencher Chain, Dingo (Part # 22467)
8" x 3' Trencher Chain, Dingo (Part # 22468)
12" x 3' Trencher Chain, Dingo (Part # 22469)
Over-Tire Rubber Tracks, Dingo (Part # 22662)
Steel Track Kit, Dingo (Part # 22665)
Lug Nut (Part # 242-50)
Toro OEM Lug Nut.
Sunshade (Part # 30088)
Diesel Engine Cylinder Head Heater (Part # 98-2651)
Left Hand Wheel and Tire Assembly (Part # 98-2747)
Left hand wheel and tire fits both front and rear position.
WHEEL (Part # 98-2748)
Tire (Part # 98-2749)
ASM - WHEEL/TIRE (Part # 98-4709)
Right Hand Wheel and Tire Assembly (Part # 99-1447)
Right hand wheel and tire fits both front and rear position.
WHEEL AND TIRE ASM RH (PO (Part # 99-3140)
WHEEL AND TIRE ASM LH (PO (Part # 99-3141)
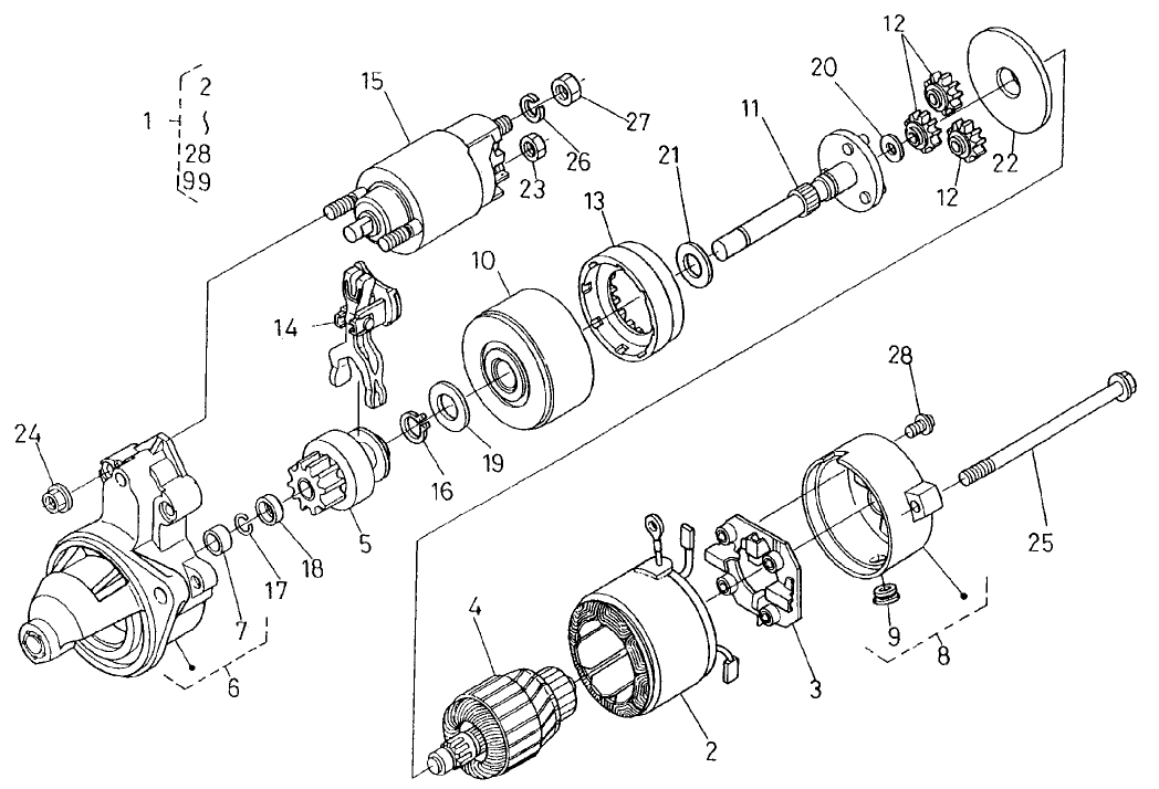
Hydraulic Relief Valve Kit, Dingo (Part # 99-4360)
-
Model #
22303 -
Serial #
990001 - 999999 -
Product Name
Dingo 320-D Traction Unit -
Product Brand
Toro -
Product Type
Compact Utility Loaders -
Product Series
Compact Utility Loaders -
Chassis Type
CUL - Wheeled -
Engine/Motor Manufacturer
Kubota -
Engine/Motor Size
20 hp -
Engine/Motor Type
4 Cycle Diesel -
Engine Starter
Electric -
Transmission Type
Hydrostatic
-
Chassis: Tire Pressure
20 PSI / 1.4kg sq. cm -
Engine: Spark Plug
None -
Engine: Spark Plug Gap
n/a -
Drive System: Ground Speed
0-3 mph -
Engine: Engine Speed
3600±75 RPM -
Engine: Engine Oil Type
.84 gal. 10w-30 -
Engine: Battery
12V 435 CCA -
Hydraulic: Hydraulic Pressure
3000 psi -
Hydraulic: Hydraulic Flow
3.7 gpm low flow circuit : 8.4 gpm high flow circuit -
Hydraulic: Hydraulic Reservoir
14.8 gallon -
Chassis: Wheels
Standard: 10x6.00, 5 bolt, drop center :: Optional: 8x7.00, 5 bolt, drop center -
Chassis: Tires
Std: 18x8.50-8_8-ply, SSL-LSW. Opt: 18x9.50-8_8-ply, Chevron Tread or 18x8.50-8_8-ply, Turf Tread.

















































