Reelmaster 3100-D
Product Information
- Model #: 03200
- Serial #: 90343 - 99999
- Product Type: Riding Products
Loading...
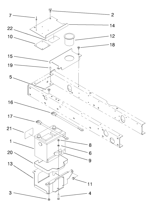
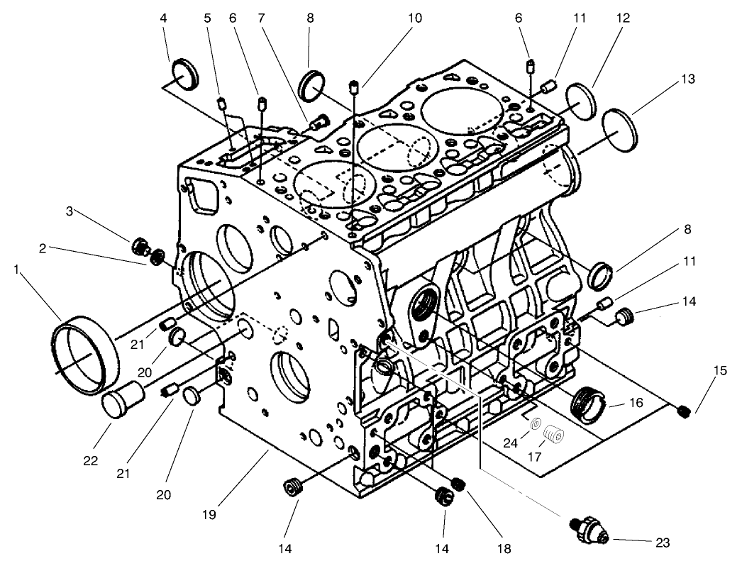
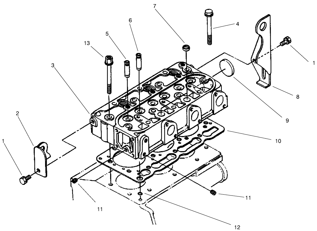
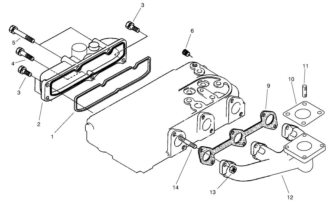
Assembly Drawings
Search for a part within assembly drawings:
-
Operator's Manual
-
Parts Catalog
-
EU Declaration of Conformity
-
Service Bulletin
-
Model #
03200 -
Serial #
90343 - 99999 -
Product Name
Reelmaster 3100-D -
Product Brand
Toro -
Product Type
Riding Products -
Product Series
Pro Series - 70"
































































