Z253 Z Master, With 62" SFS Side Discharge Mower
Product Information
- Model #: 74209
- Serial #: 200001000 - 200999999
- Product Type: Riding Products
Loading...
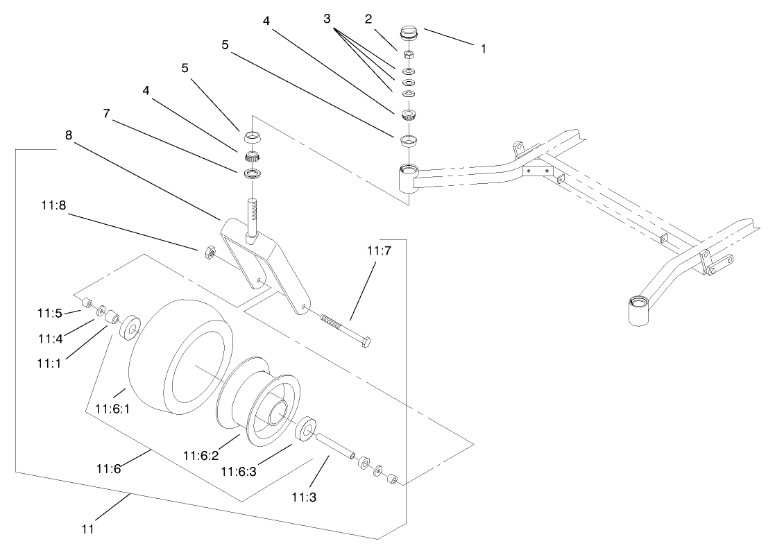
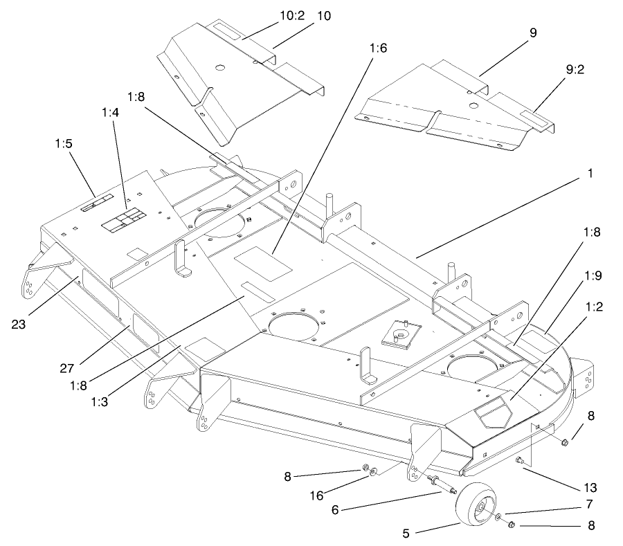
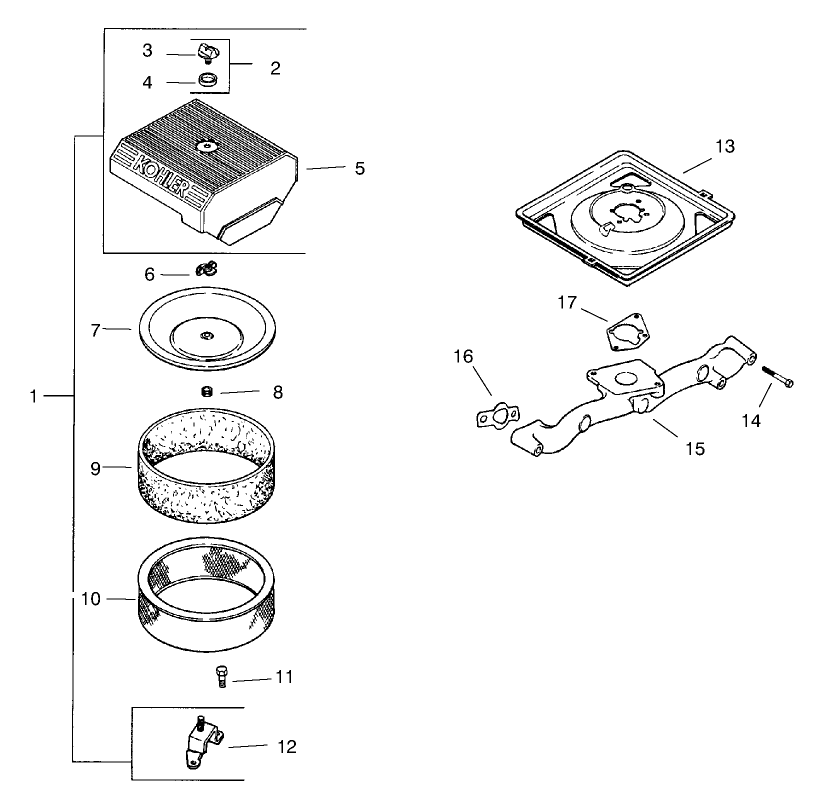
Assembly Drawings
Search for a part within assembly drawings:
-
Service Manual
-
Operator's Manual
-
Parts Catalog
62/72 inch Striping Kit (Part # 100-3252)
Genuine OEM Part
Deck Lift Assist (Part # 100-4336)
Genuine OEM Part
62 Inch Recycler Kit (Part # 100-9600)
Genuine OEM Part
21.5 Inch Atomic Blade (Part # 104-1303)
Toro OEM Atomic blade. The Toro Atomic blade is commonly referenced as a “Gator Style” or “Gator Blade”. Provides the best quality of cut while mulching. This Toro blade has multiple applications. Be sure to verify model and serial number to ensure the correct part.
Z Bagger Rops Assembly with Kit (Part # 106-5890)
Genuine OEM Part
Suspension Kit for Standard Seat (Part # 107-1892)
Toro OEM suspension kits for standard seats. Give your Zero-Turn some additional comfort with this seat suspension kit. Genuine Toro Parts and accessories are designed specifically for your machine and built to exacting standards with tight tolerances. Other parts simply don't stack up to the quality, performance, and value of Genuine Toro Parts.
21.50 Inch High Sail/Flow Blade (Part # 77-6710-03)
Toro 21.50 Inch OEM High Sail/Flow blade. This Sharp replacement blade provides a crisp, clean cut time after time. You can count on the reliability of this Toro replacement High Sail/Flow rotary mower blade. This Toro blade has multiple applications. Be sure to verify model and serial number to ensure the correct Blade.
Triple Bagger (60") (Part # 78456)
ROPS Kit (Part # 78480)
DFS Bagger, (200 Series) (Part # 78491)
Z200 Series 62" DFS Deck Kit (Part # 78495)
Z200 Series Triple Bagger Finishing Kit (Part # 78499)
Seat Suspension Kit (Part # 99-8522)
Genuine OEM Part
Hitch Kit (Part # 99-8925)
Add versatility to your Toro Z-Master with this easy to install hitch kit . This genuine Toro part provides towing capability for spreaders, carts and other attachments.
-
Model #
74209 -
Serial #
200001000 - 200999999 -
Product Name
Z253 Z Master, With 62" SFS Side Discharge Mower -
Product Brand
Toro -
Product Type
Riding Products -
Product Series
Zero Radius Turn, 200 Series -
Swath
62 inch -
Discharge
Side -
Engine/Motor Manufacturer
Kohler -
Engine/Motor Size
23 hp -
Engine/Motor Type
4 Cycle CARB1, EPA1 -
Engine Starter
Electric -
Transmission Type
Hydrostatic

























