Image Not Found

Product Information

  • Model #: 30259
  • Serial #: 210000001 - 210005000
  • Product Type: Walk Behind Mowers
Genuine OEM Part 104-1300
15.5 Inch Atomic Blade (Part # 104-1300)
Empty Image Container
Please contact your local dealer
Genuine OEM Part 105-4654
Please contact your local dealer
3 Bushell Soft Collection Bag for GrandStand Mowers
3 Bushell Soft Collection Bag for GrandStand Mowers (Part # 30104)
Please contact your local dealer
Genuine OEM Part 30110
Image Not Found
Deluxe Sulky (Part # 30123)
15.5 Inch Hi-Flow Blade
15.5 Inch Hi-Flow Blade (Part # 55-4940-03)
Genuine OEM Part 92-7952-03
15.5 Inch Recycler Blade (Part # 92-7952-03)
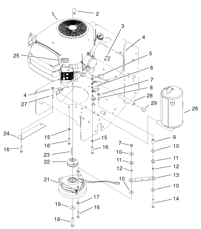
  • Model #
    30259
  • Serial #
    210000001 - 210005000
  • Product Name
    Mid-Size ProLine Gear, 17 hp w/ 44" SD Mower
  • Product Brand
    Toro
  • Product Type
    Walk Behind Mowers
  • Product Series
    Mid-Size ProLine Mower
  • Swath
    44 inch
  • Discharge
    Side
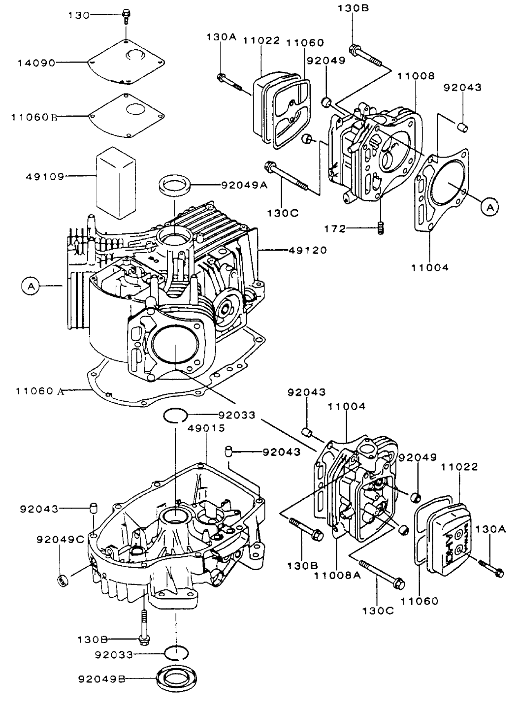
  • Engine/Motor Manufacturer
    Kawasaki
  • Engine/Motor Size
    17 hp
  • Engine/Motor Type
    4 Cycle CARB1, EPA1
  • Engine Starter
    Recoil
  • Transmission Type
    Gear
  • Engine: Engine Speed
    3600±100 RPM
  • Engine: Spark Plug
    Champion RCJ8
  • Drive System: Gearbox Lubricant
    Peerless Bentonite Grease
  • Drive System: Ground Speed
    2.0 / 2.5 / 3.7 / 4.1 / 6.2 mph
  • Engine: Ignition Coil Air Gap
    015-.020"/ .38-.5mm
  • Engine: Spark Plug
    Champion RC -J 8
  • Engine: Spark Plug Gap
    .025"/ .65mm
  • Chassis: Height of Cut Range
    1" - 4.5" (25-114mm)
  • Chassis: Tire Pressure
    12-14 psi rear / 25 psi front
  • Engine: Ignition Coil Air Gap
    .008-.016" / .2-.4mm
  • Drive System: Ground Speed
    Fwd. 2.0 / 2.5 / 3.7 / 4.1 / 6.2 Rev. 3.2 mph
  • Engine: Engine Oil Type
    57 oz. (1.7 Liter) SAE 10W-30 or 10W-40

Register your product

Registering your product will ensure notification of important updates and expedite warranty service should it be necessary.

Register Now