Mid-Size ProLine Gear, 12.5 hp w/ 32" SD Mower
Product Information
- Model #: 30171
- Serial #: 210000001 - 210999999
- Product Type: Walk Behind Mowers
Loading...
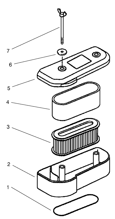
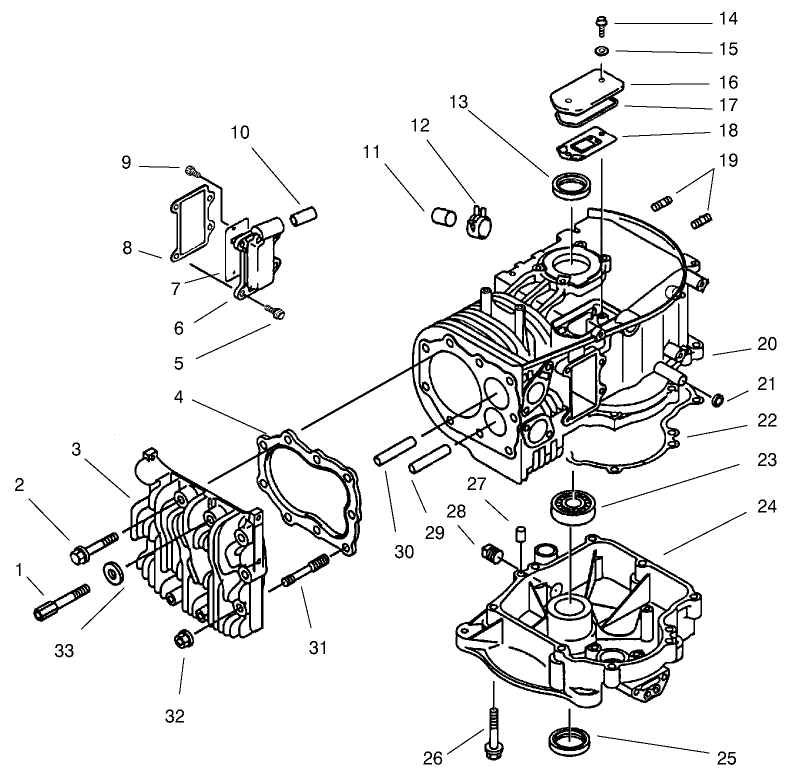
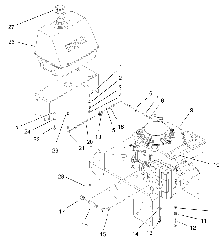
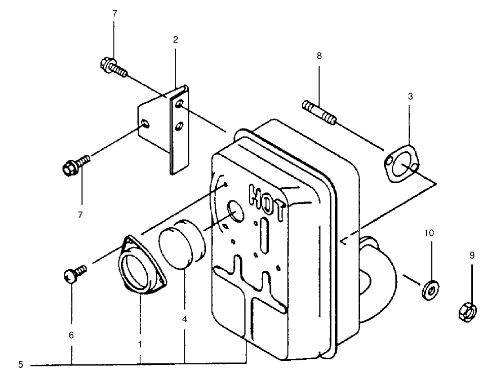
Assembly Drawings
Search for a part within assembly drawings:
-
Service Manual
-
Operator's Manual
-
Parts Catalog
16.25 Inch Atomic Blade (Part # 104-8595)
Toro OEM Atomic blade. The Toro Atomic blade is commonly referenced as a “Gator Style” or “Gator Blade”. Provides the best quality of cut while mulching. This Toro blade has multiple applications. Be sure to verify model and serial number to ensure the correct part.
Soft Bag Kit for Mid-Size Mowers (Part # 30198)
Genuine OEM Part
-
Model #
30171 -
Serial #
210000001 - 210999999 -
Product Name
Mid-Size ProLine Gear, 12.5 hp w/ 32" SD Mower -
Product Brand
Toro -
Product Type
Walk Behind Mowers -
Product Series
Mid-Size ProLine Mower -
Swath
32 inch -
Discharge
Side -
Engine/Motor Manufacturer
Kawasaki -
Engine/Motor Size
12.5 hp -
Engine/Motor Type
4 Cycle CARB1, EPA1 -
Engine Starter
Recoil -
Transmission Type
Gear
-
Engine: Engine Speed
3600±100 RPM -
Engine: Ignition Coil Air Gap
.012" / .3mm -
Engine: Spark Plug
Champion RCJ8 -
Drive System: Gearbox Lubricant
Peerless Bentonite Grease -
Drive System: Ground Speed
2.0 / 2.5 / 3.7 / 4.1 / 6.2 mph -
Engine: Ignition Coil Air Gap
015-.020"/ .38-.5mm -
Engine: Spark Plug
Champion RC -J 8 -
Engine: Spark Plug Gap
.025"/ .65mm -
Chassis: Height of Cut Range
1" - 4.25" (25-108mm) -
Chassis: Tire Pressure
15 psi rear / 25-30 psi front -
Drive System: Ground Speed
Fwd. 2.0 / 2.7 / 3.5 / 4.1 / 6.2 Rev. 3.1 mph -
Engine: Engine Oil Type
54 oz. (1.6 Liter) SAE 10W-30 or 10W-40




















