Z255 Z Master, With 52" SFS Side Discharge Mower
Product Information
- Model #: 74228
- Serial #: 210000001 - 210999999
- Product Type: Riding Products
Loading...
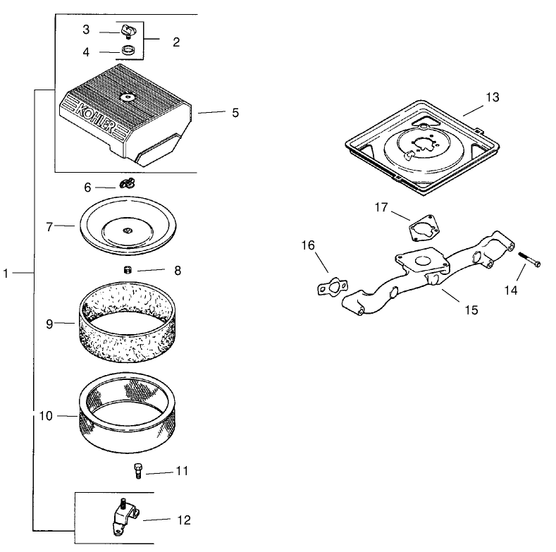
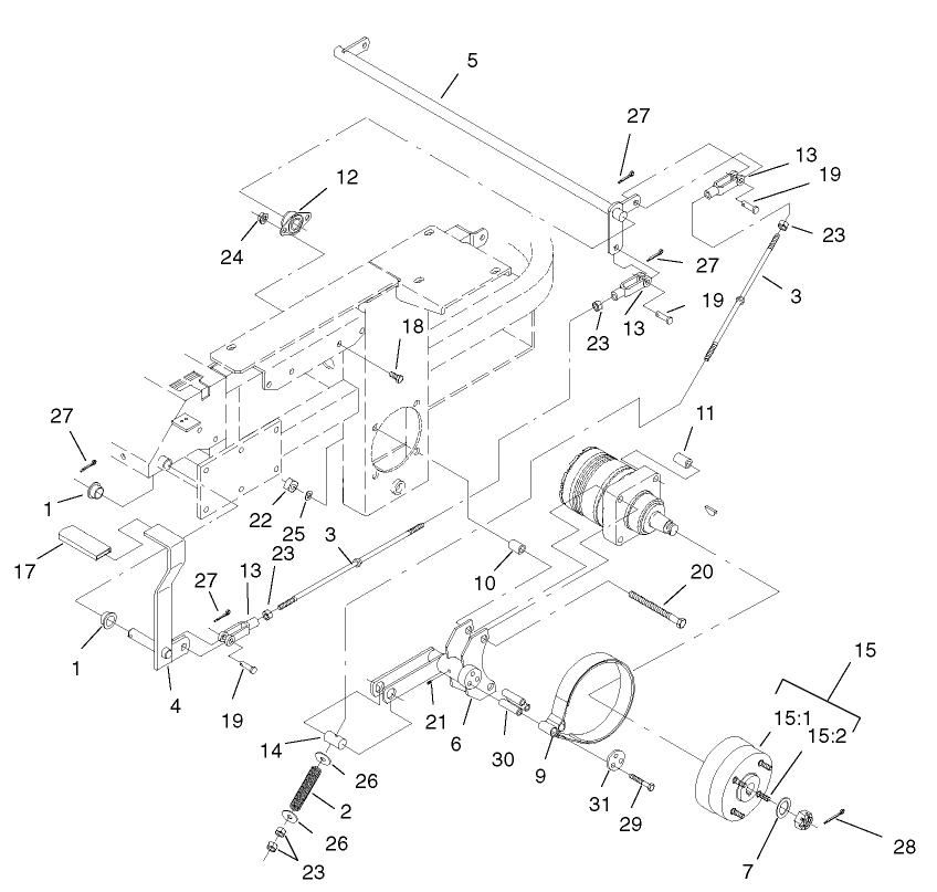
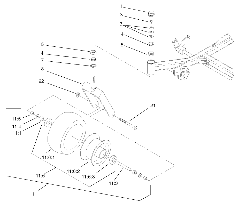
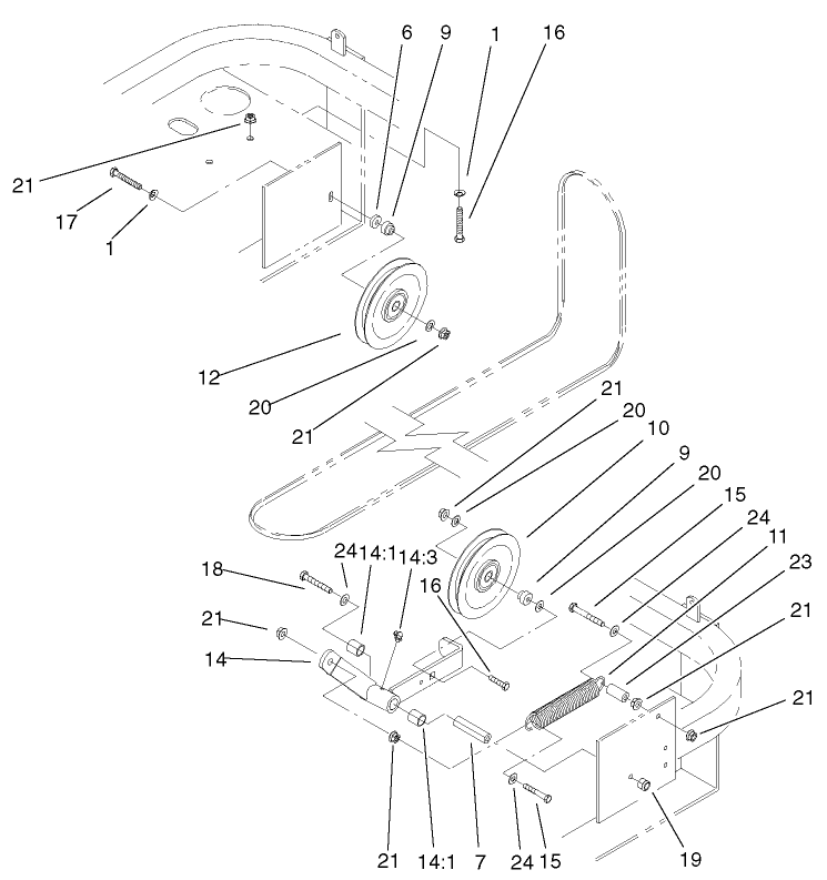
Assembly Drawings
Search for a part within assembly drawings:
-
Service Manual
-
Operator's Manual
-
Parts Catalog
Deck Lift Assist (Part # 100-4336)
Genuine OEM Part
18 Inch Atomic Blade (Part # 104-1301)
Toro OEM Atomic blade. The Toro Atomic blade is commonly referenced as a “Gator Style” or “Gator Blade”. Provides the best quality of cut while mulching. This Toro blade has multiple applications. Be sure to verify model and serial number to ensure the correct part.
Z Bagger Rops Assembly with Kit (Part # 106-5890)
Genuine OEM Part
Suspension Kit for Standard Seat (Part # 107-1892)
Toro OEM suspension kits for standard seats. Give your Zero-Turn some additional comfort with this seat suspension kit. Genuine Toro Parts and accessories are designed specifically for your machine and built to exacting standards with tight tolerances. Other parts simply don't stack up to the quality, performance, and value of Genuine Toro Parts.
DFS Bagger, (200 Series) (Part # 78491)
Z200 Series 52" DFS Deck Kit (Part # 78494)
Twin Bagger (52") (Part # 78498)
Z200 Series Twin Bagger Finishing Kit (Part # 78503)
52" Recycler Kit (Part # 99-4586)
52" MULCHING KIT (Part # 99-8530)
Hitch Kit (Part # 99-8925)
Add versatility to your Toro Z-Master with this easy to install hitch kit . This genuine Toro part provides towing capability for spreaders, carts and other attachments.
-
Model #
74228 -
Serial #
210000001 - 210999999 -
Product Name
Z255 Z Master, With 52" SFS Side Discharge Mower -
Product Brand
Toro -
Product Type
Riding Products -
Product Series
Zero Radius Turn, 200 Series -
Swath
52 inch -
Discharge
Side -
Engine/Motor Manufacturer
Kohler -
Engine/Motor Size
25 hp -
Engine/Motor Type
4 Cycle CARB1, EPA1 -
Engine Starter
Electric -
Transmission Type
Hydrostatic
-
Engine: Engine Speed
3600±100 RPM -
Drive System: Gearbox Lubricant
Mobil 1 15w-50 -
Drive System: Ground Speed
Infinite, 0 to 9.4 mph -
Engine: Battery
BCI Group U 1 -
Engine: Ignition Coil Air Gap
015-.020"/ .38-.5mm -
Engine: Spark Plug
Champion RC12 -
Engine: Spark Plug Gap
.040"/ 1.02mm -
Chassis: Height of Cut Range
1.5" - 5" (38-127mm) -
Chassis: Tire Pressure
13 psi / 90 kPa


























