824XL Power Throw Snowthrower
Product Information
- Model #: 38086
- Serial #: 220000001 - 220999999
- Product Type: Snowthrowers
Loading...
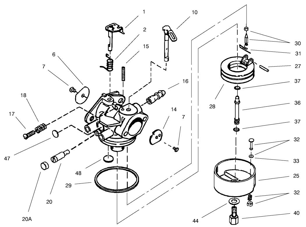
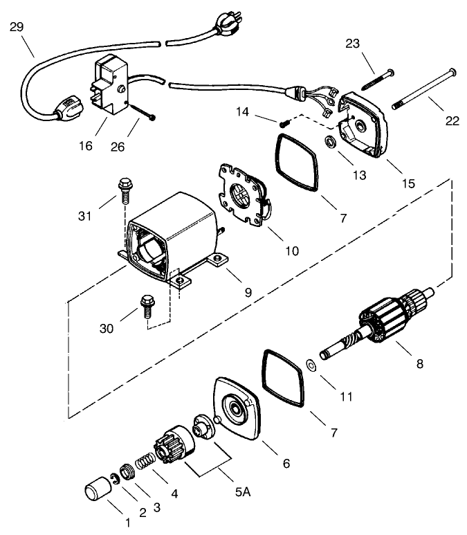
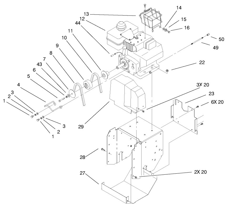
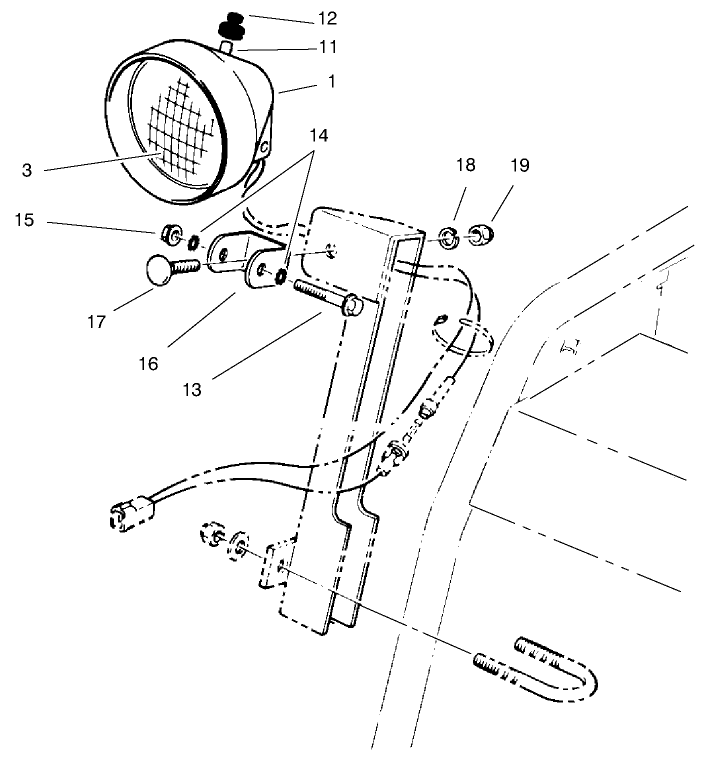
Assembly Drawings
Search for a part within assembly drawings:
-
Service Manual
-
Operator's Manual
-
Parts Catalog
Two Stage Snow Blower Cover (Part # 490-7466)
Toro genuine snow blower cover. Specifically designed for Toro 2-Stage Power Max and Power Max HD models
Water resistant backing for extra weather protection
Heavy-duty abrasion resistant 600 Denier polyester fabric
Maintains flexibility, even on the coldest days
Snowthrower Tire Chains (Part # 56-2700)
Genuine OEM Part
24 inch Drift Breaker (Part # 66-7960)
Genuine OEM Part
-
Model #
38086 -
Serial #
220000001 - 220999999 -
Product Name
824XL Power Throw Snowthrower -
Product Brand
Toro -
Product Type
Snowthrowers -
Product Series
Snowthrower, Two Stage Intermediate Frame -
Chassis Type
Two Stage -
Swath
24 inch -
Discharge
Two Stage -
Engine/Motor Manufacturer
Tecumseh -
Engine/Motor Size
8 hp -
Engine/Motor Type
4 Cycle CARB1, EPA1 -
Engine Starter
Electric -
Transmission Type
Friction Disc
-
Chassis: Tire Pressure
7-15 PSI / .5-1kg sq. cm -
Drive System: Gearbox Lubricant
4.5 oz. (133ml) SAE 90 GL5 or higher -
Drive System: Ground Speed
Fwd. .6 / .9 / 1.2 / 1.6 / 1.9 Rev. 1.2 / 1.6 mph -
Engine: Engine Oil Type
26 oz. (.8l) 5w-30 or 10w / API SH or higher -
Engine: Engine Speed
High 3300, Low 2000±150 RPM -
Engine: Ignition Coil Air Gap
.013" / .33mm -
Engine: Spark Plug
Champion RJ19LM -
Engine: Spark Plug Gap
.030"/ .76mm












