Mid-Size ProLine Gear, 15 hp w/ 44" SD Mower
Product Information
- Model #: 30254
- Serial #: 210010001 - 210999999
- Product Type: Walk Behind Mowers
Loading...
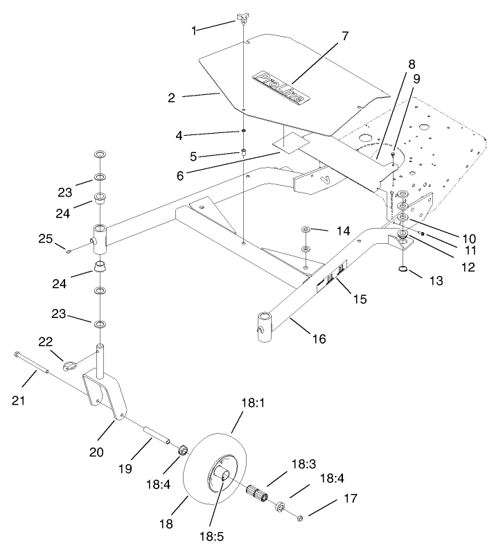
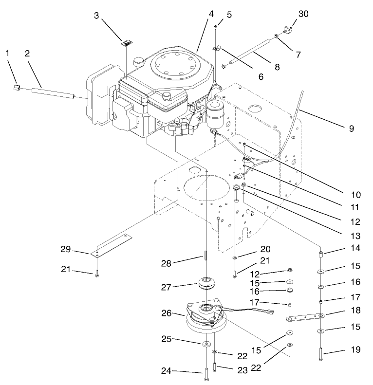
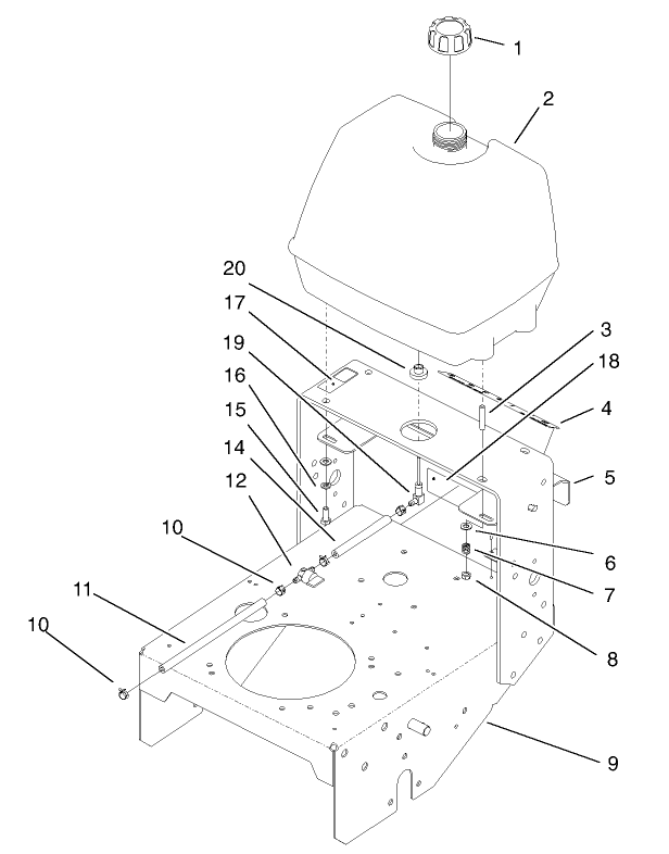
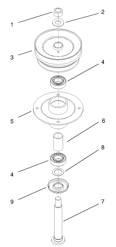
Assembly Drawings
Search for a part within assembly drawings:
-
Service Manual
-
Operator's Manual
-
Parts Catalog
Please contact your local dealer
Brake Assembly (Service) (Part # 105-4654)
Genuine OEM Part
Please contact your local dealer
3 Bushell Soft Collection Bag for GrandStand Mowers (Part # 30104)
3 Bushell Soft Collection Bag for GrandStand Mowers. To best protect your investment and maintain optimal performance of your equipment, count on Toro genuine parts and accessories.
44/52 inch Striping Kit (Part # 30121)
Genuine OEM Part
Deluxe Sulky (Part # 30123)
15.5 Inch Hi-Flow Blade (Part # 55-4940-03)
Toro OEM Hi Flow blade. Hi-Flow are also known as basic blades, regular blades, or 2-in-1 blades, Hi-Flow mower blades are the go-to blades for mowers with a bagger. The blades are designed to cut the grass and Flow the clippings, propelling them up and out of the discharge chute. This Toro blade has multiple applications. Be sure to verify model and serial number to ensure the correct part.
-
Model #
30254 -
Serial #
210010001 - 210999999 -
Product Name
Mid-Size ProLine Gear, 15 hp w/ 44" SD Mower -
Product Brand
Toro -
Product Type
Walk Behind Mowers -
Product Series
Mid-Size ProLine Mower -
Swath
44 inch -
Discharge
Side -
Engine/Motor Manufacturer
Kohler -
Engine/Motor Size
15 hp -
Engine/Motor Type
4 Cycle CARB1, EPA1 -
Engine Starter
Recoil -
Transmission Type
Gear
-
Engine: Engine Speed
3600±100 RPM -
Drive System: Gearbox Lubricant
Peerless Bentonite Grease -
Drive System: Ground Speed
2.0 / 2.5 / 3.7 / 4.1 / 6.2 mph -
Engine: Ignition Coil Air Gap
015-.020"/ .38-.5mm -
Engine: Spark Plug
Champion RC12 -
Engine: Spark Plug Gap
.040"/ 1.02mm -
Chassis: Height of Cut Range
1" - 4.5" (25-114mm) -
Chassis: Tire Pressure
12-14 psi rear / 25 psi front -
Engine: Ignition Coil Air Gap
.0078-.0118" / .2-.3mm -
Drive System: Ground Speed
Fwd. 2.0 / 2.5 / 3.7 / 4.1 / 6.2 Rev. 3.2 mph -
Engine: Engine Oil Type
64 oz. (1.9 Liter) SAE 10W-30 -
Engine: Spark Plug
Champion RC12YC or Champion Premium Gold 2071























