Image Not Found

Product Information

  • Model #: 30434
  • Serial #: 230000001 - 230999999
  • Product Type: Walk Behind Mowers
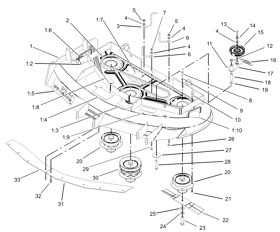
Genuine OEM Part 104-1300
15.5 Inch Atomic Blade (Part # 104-1300)
Genuine OEM Part 106-3370
Striping Kit (Part # 106-3370)
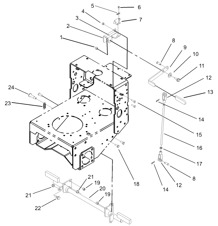
3 Bushell Soft Collection Bag for GrandStand Mowers
3 Bushell Soft Collection Bag for GrandStand Mowers (Part # 30104)
Please contact your local dealer
Genuine OEM Part 30110
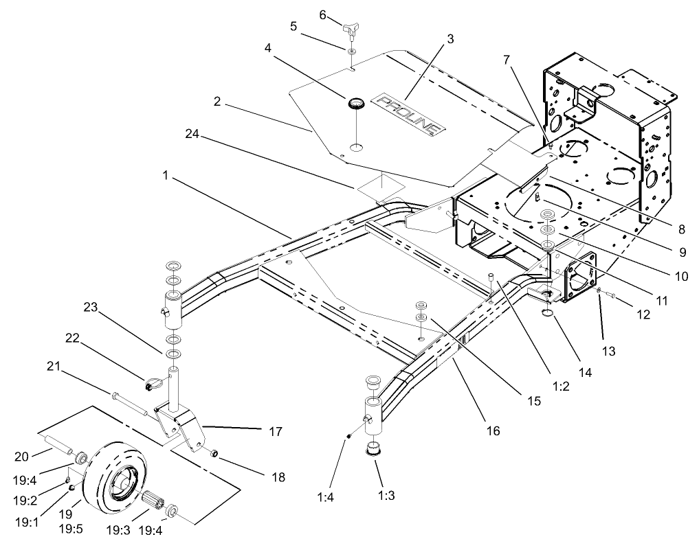
15.5 Inch Hi-Flow Blade
15.5 Inch Hi-Flow Blade (Part # 55-4940-03)
Genuine OEM Part 92-7952-03
15.5 Inch Recycler Blade (Part # 92-7952-03)
  • Model #
    30434
  • Serial #
    230000001 - 230999999
  • Product Name
    Mid-Size ProLine Pistol Grip Hydro, 15 hp w/ 44" SD Mower
  • Product Brand
    Toro
  • Product Type
    Walk Behind Mowers
  • Product Series
    Mid-Size ProLine Mower
  • Chassis Type
    Mid-size - Floating Deck
  • Swath
    44 inch
  • Discharge
    Side
  • Engine/Motor Manufacturer
    Kawasaki
  • Engine/Motor Size
    15 hp
  • Engine/Motor Type
    4 Cycle CARB2, EPA2
  • Engine Starter
    Recoil
  • Transmission Type
    Hydrostatic
  • Drive System: Ground Speed
    Fwd. 0 - 6.0 Rev. 0 - 2.5 mph
  • Engine: Engine Speed
    3600±100 RPM
  • Engine: Spark Plug Gap
    .030"/ .76mm
  • Chassis: Height of Cut Range
    1" - 4.5" (25-114mm)
  • Engine: Ignition Coil Air Gap
    .008-.016" / .2-.4mm
  • Chassis: Tire Pressure
    12-14 psi rear / 25-30 psi front
  • Drive System: Gearbox Lubricant
    67 oz. (2.0 liters) Mobil 1 15w-50 synthetic motor oil
  • Engine: Engine Oil Type
    57 oz. (1.7 Liter) SAE 10W-30 or 10W-40
  • Engine: Spark Plug
    Champion RCJ8Y or NGK BPR4ES

Register your product

Registering your product will ensure notification of important updates and expedite warranty service should it be necessary.

Register Now