Super Recycler Mower
Product Information
- Model #: 20033
- Serial #: 230000001 - 230999999
- Product Type: Walk Behind Mowers
Loading...
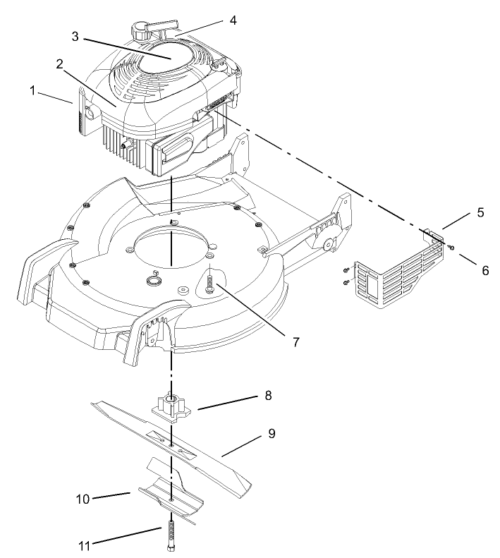
Assembly Drawings
Search for a part within assembly drawings:
-
Service Manual
-
Operator's Manual
-
Parts Catalog
Cover for 20 to 22 Inch Walk-Behind Mowers (Part # 490-7462)
The Toro Walk Power Mower Cover for 20 in. to 22 in. Walk-Behind Mowers offers all-season protection. This cover is constructed from tough, waterproof, tear and abrasion resistant 600-denier polyester.
Bag Kit Mulch Plug (Part # 59135)
Genuine OEM Part
Please contact your local dealer
-
Model #
20033 -
Serial #
230000001 - 230999999 -
Product Name
Super Recycler Mower -
Product Brand
Toro -
Product Type
Walk Behind Mowers -
Product Series
21" (53cm) 3 in 1 / Recycler -
Chassis Type
Cast Deck WPM -
Swath
21 inch -
Discharge
Recycler -
Engine/Motor Manufacturer
Briggs & Stratton -
Engine/Motor Size
6.5 hp -
Engine/Motor Type
4 Cycle EPA2 -
Engine Starter
Recoil -
Transmission Type
Hand Push
-
Chassis: Height of Cut Range
1-3.5"; 1/2" increments -
Engine: Engine Oil Type
20 oz. (.6l) 30w or 10w-30 / API SH or higher -
Engine: Engine Speed
3000±150 RPM -
Engine: Ignition Coil Air Gap
.006-.010" / .15-.25mm -
Engine: Spark Plug
Champion RJ19LM -
Engine: Spark Plug Gap
.030"/ .76mm














