Workman 1100 Utility Vehicle
Product Information
- Model #: 07252
- Serial #: 240000001 - 240999999
- Product Type: Vehicles
Loading...
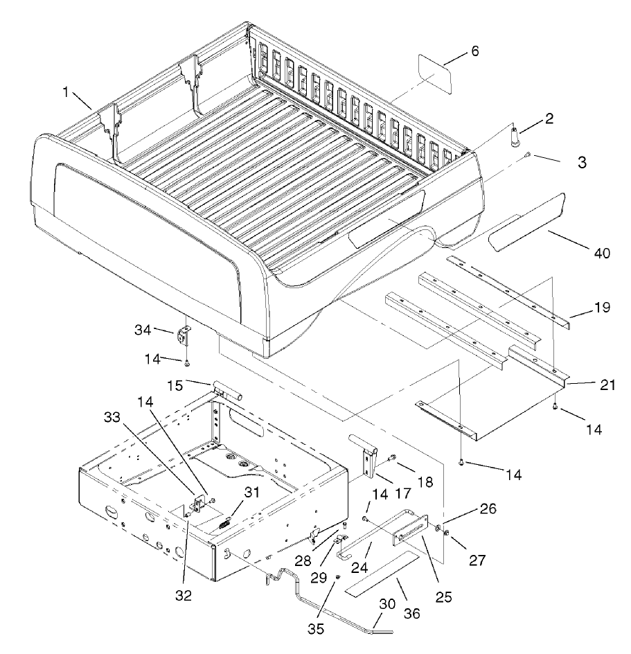
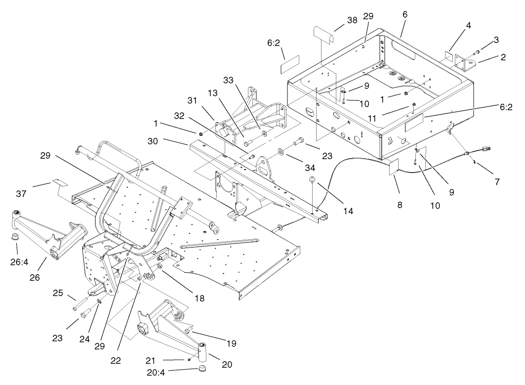
Assembly Drawings
Search for a part within assembly drawings:
-
Service Manual
-
Operator's Manual
-
Parts Catalog
-
Service Bulletin
STAND ALONE WINDSHIELD KIT-VN 110242-00 (Part # 07221)
Electric Bed Lift Kit, Workman 1100/2100 and Twister Utility Vehicle (Part # 07259)
Electric Bed Lift Kit, Workman e2050 Utility Vehicle (Part # 07260)
Rear Lift Kit, Workman e2050 Utility Vehicle (Part # 07261)
Rear Lift Kit, Workman 1100/2100 (Part # 07274)
ROPS (Part # 07276)
- Roll-over protection structure with operator and passenger seat belts.
Receiver Hitch (Part # 07278)
- Increase towing capacity up to 1,200 lbs. (544 kg)
Heavy-Duty Bumper Kit, Workman 1100/2100 (Part # 07282)
12V Converter Kit, Workman e2050 Utility Vehicle (Part # 07286)
Stake Side Kit, Workman 1100/2100 and Twister Utility Vehicle (Part # 07290)
CAB, MID DUTY (Part # 07291)
SNOW PLOW, MID DUTY (Part # 07292)
Folding Windshield Kit, Workman 1100/2100 and Twister Utility Vehicle (Part # 07293)
Windshield Kit, Workman 1100/2100 and Twister Utility Vehicle (Part # 07294)
Heavy-Duty Brushguard and Bumper Kit, Workman 1100/2100 (Part # 07296)
Canopy Kit, Workman 1100/2100 and Twister Utility Vehicle (Part # 07297)
Portable Refreshment Center, Workman 2100 (Part # 07298)
CLUTCH GUARD ASM [BLACK] (Part # 104-6408-03)
HORN KIT (Part # 104-6663)
BRAKE/TAIL LIGHT KIT (Part # 104-6697)
MAT-FLOOR (Part # 104-6897)
SIGNAL LIGHT KIT (Part # 104-6953)
TIRE 4-PLY TURF-TRAC R/S [24 X 12.00-10] (Part # 104-7281)
TIRE (Part # 104-7289)
Key Start Kit, Workman 2100 and 2110 Vehicles (Part # 107-0330)
VINYL ENCLOSURE (Part # 79979)
Soft Bed Cover (Part # 79980)
Spark Arrestor (Part # 98-9099)
Toro OEM spark arrestor prevents carbon build ups from being ejected from the engine and igniting a fire.
TIRE [22.5X10-8, 4 PLY] (Part # 99-7301)
22.50x10-8 Heavy Duty Field TraxTire (Part # 99-7863)
A Toro original equipment replacement traction tire for all outdoor power equipment, especially residential mowers. Great grip, but easy on turf!
Utility Vehicle Tire (Part # 99-7869)
A Toro original equipment replacement traction tire for all outdoor power equipment, especially residential mowers. Great grip, but easy on turf!
ELECTRICAL HARNESS KIT (Part # 99-7924)
-
Model #
07252 -
Serial #
240000001 - 240999999 -
Product Name
Workman 1100 Utility Vehicle -
Product Brand
Toro -
Product Type
Vehicles -
Product Series
Workman Series





























