Mid-Size ProLine T-Bar Gear, 15 HP with 44in Side Discharge Mower
Product Information
- Model #: 30318
- Serial #: 240002001 - 240999999
- Product Type: Walk Behind Mowers
Loading...
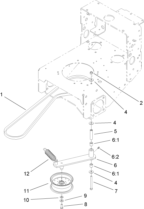
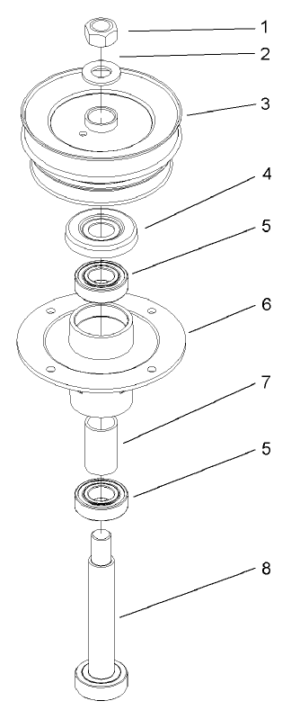
Assembly Drawings
Search for a part within assembly drawings:
-
Service Manual
-
Operator's Manual
-
Parts Catalog
15.5 Inch Atomic Blade (Part # 104-1300)
Toro OEM Atomic blade. The Toro Atomic blade is commonly referenced as a “Gator Style” or “Gator Blade”. Provides the best quality of cut while mulching. This Toro blade has multiple applications. Be sure to verify model and serial number to ensure the correct part.
Please contact your local dealer
Striping Kit (Part # 106-3370)
Genuine OEM Part
3 Bushell Soft Collection Bag for GrandStand Mowers (Part # 30104)
3 Bushell Soft Collection Bag for GrandStand Mowers. To best protect your investment and maintain optimal performance of your equipment, count on Toro genuine parts and accessories.
Please contact your local dealer
15.5 Inch Hi-Flow Blade (Part # 55-4940-03)
Toro OEM Hi Flow blade. Hi-Flow are also known as basic blades, regular blades, or 2-in-1 blades, Hi-Flow mower blades are the go-to blades for mowers with a bagger. The blades are designed to cut the grass and Flow the clippings, propelling them up and out of the discharge chute. This Toro blade has multiple applications. Be sure to verify model and serial number to ensure the correct part.
15.5 Inch Recycler Blade (Part # 92-7952-03)
Toro OEM Recycler blade. Recycler straight edge, standard discharge blade. The blade is designed for a High quality cut and long-lasting durability. These blades are designed with “wings,” called “accelerators” that kind of act like a fan — forcing the tiny bits of grass back into the earth. This Toro blade has multiple applications. Be sure to verify model and serial number to ensure the correct part.
-
Model #
30318 -
Serial #
240002001 - 240999999 -
Product Name
Mid-Size ProLine T-Bar Gear, 15 HP with 44in Side Discharge Mower -
Product Brand
Toro -
Product Type
Walk Behind Mowers -
Product Series
Mid-Size ProLine Mower -
Chassis Type
Mid-size - Floating Deck -
Swath
44 inch -
Discharge
Side -
Engine/Motor Manufacturer
Kohler -
Engine/Motor Size
15 hp -
Engine/Motor Type
4 Cycle CARB2, EPA2 -
Engine Starter
Recoil -
Transmission Type
Gear
-
Engine: Engine Speed
3600±100 RPM -
Engine: Spark Plug Gap
.040"/ 1.02mm -
Chassis: Height of Cut Range
1" - 4.5" (25-114mm) -
Engine: Ignition Coil Air Gap
.0078-.0118" / .2-.3mm -
Chassis: Tire Pressure
12-14 psi rear / 25-30 psi front -
Drive System: Gearbox Lubricant
12 oz. (355 ml) Bentonite Grease -
Drive System: Ground Speed
Fwd. 2.0 / 2.6 / 3.4 / 4.1 / 6.1 Rev. 3.0 mph -
Engine: Engine Oil Type
64 oz. (1.9 Liter) SAE 10W-30 -
Engine: Spark Plug
Champion RC12YC or Champion Premium Gold 2071 (or equivalent)
























