Groundsmaster 4500-D
Product Information
- Model #: 30856
- Serial #: 240000001 - 240000600
- Product Type: Riding Products
Loading...
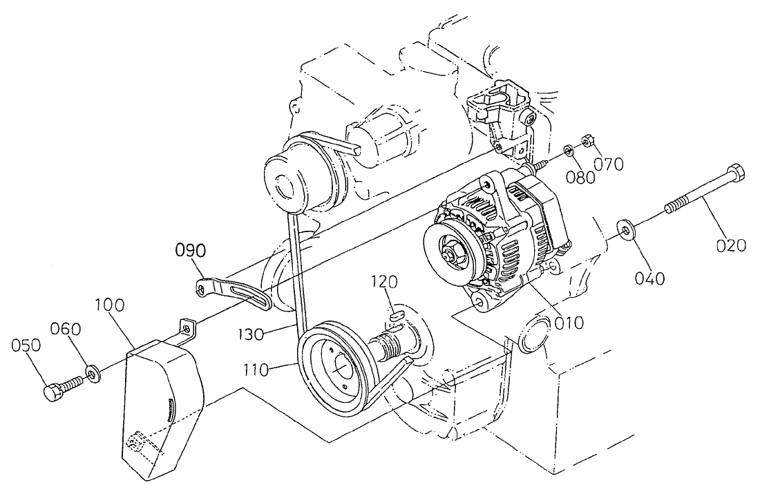
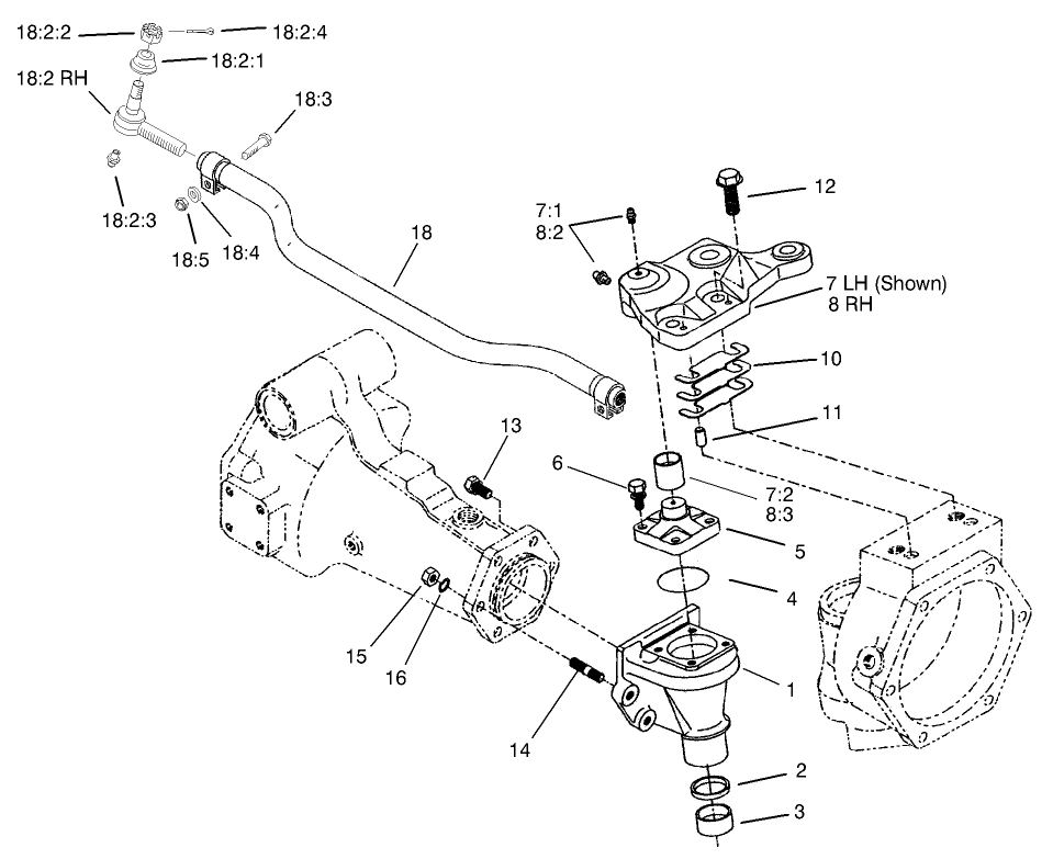
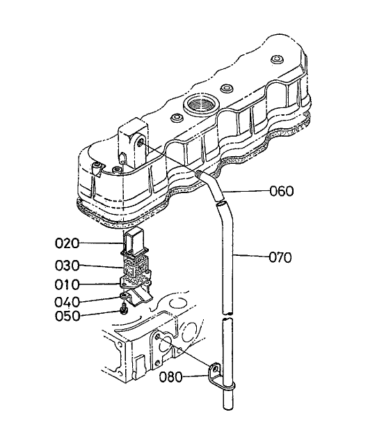
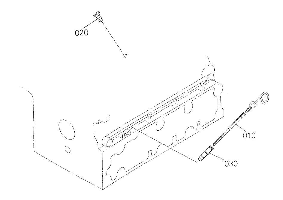
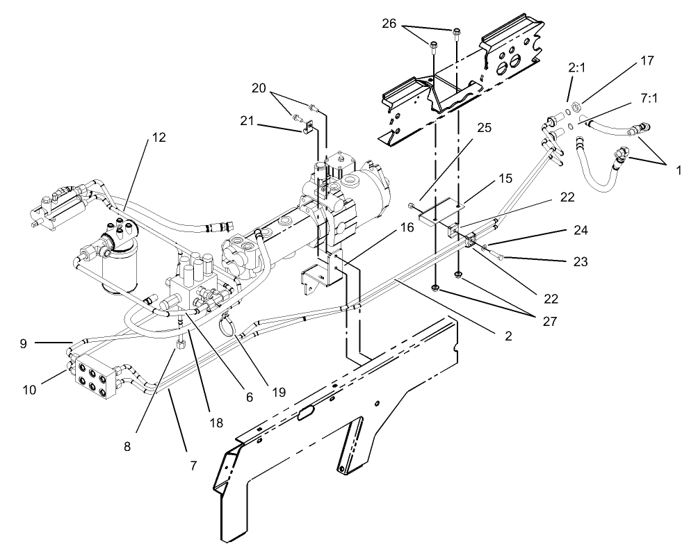
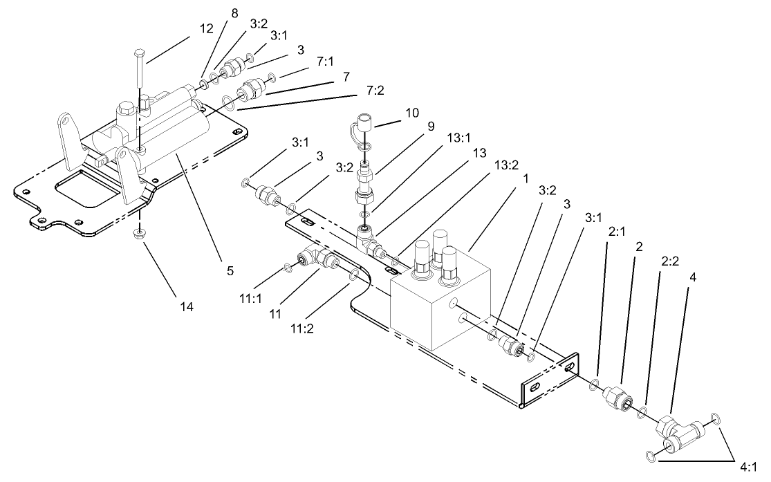
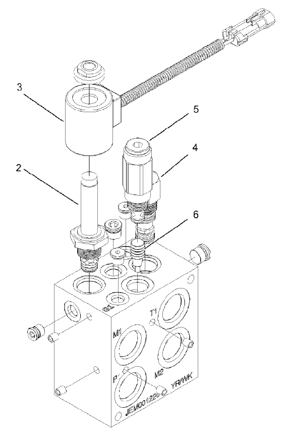
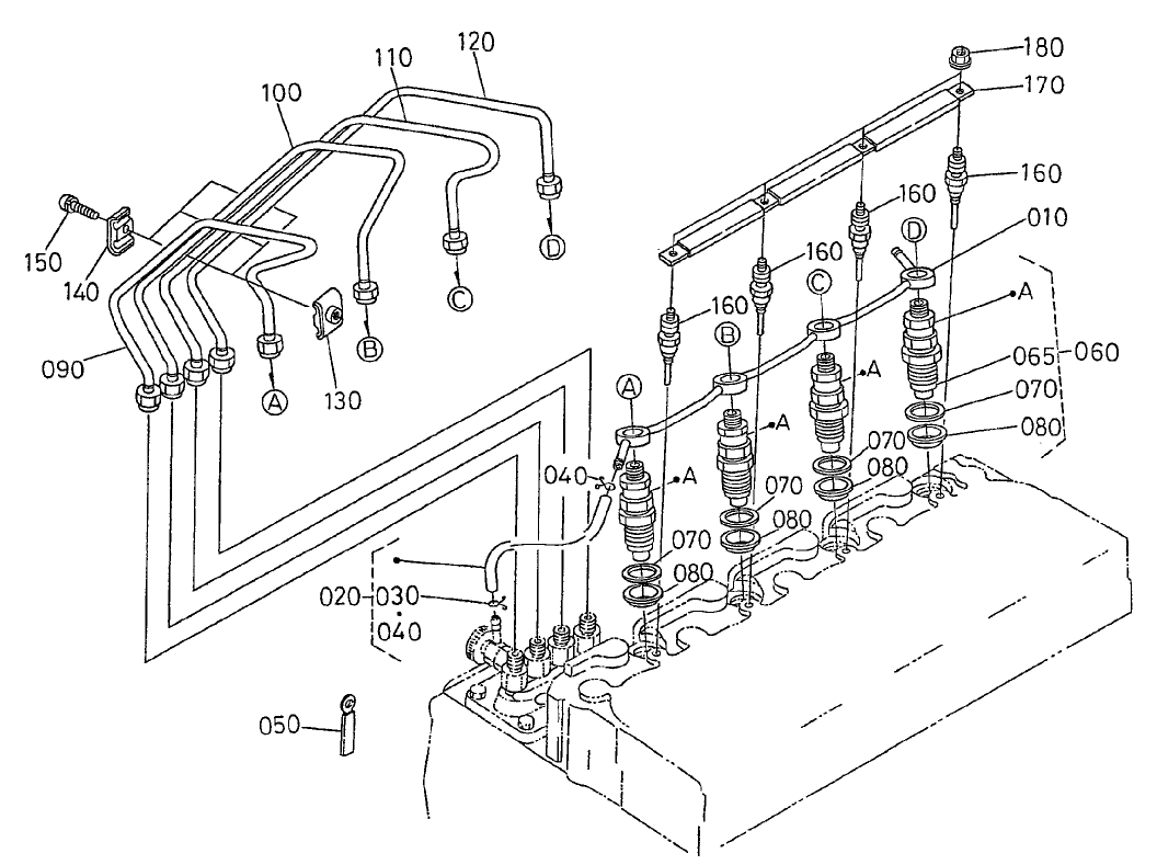
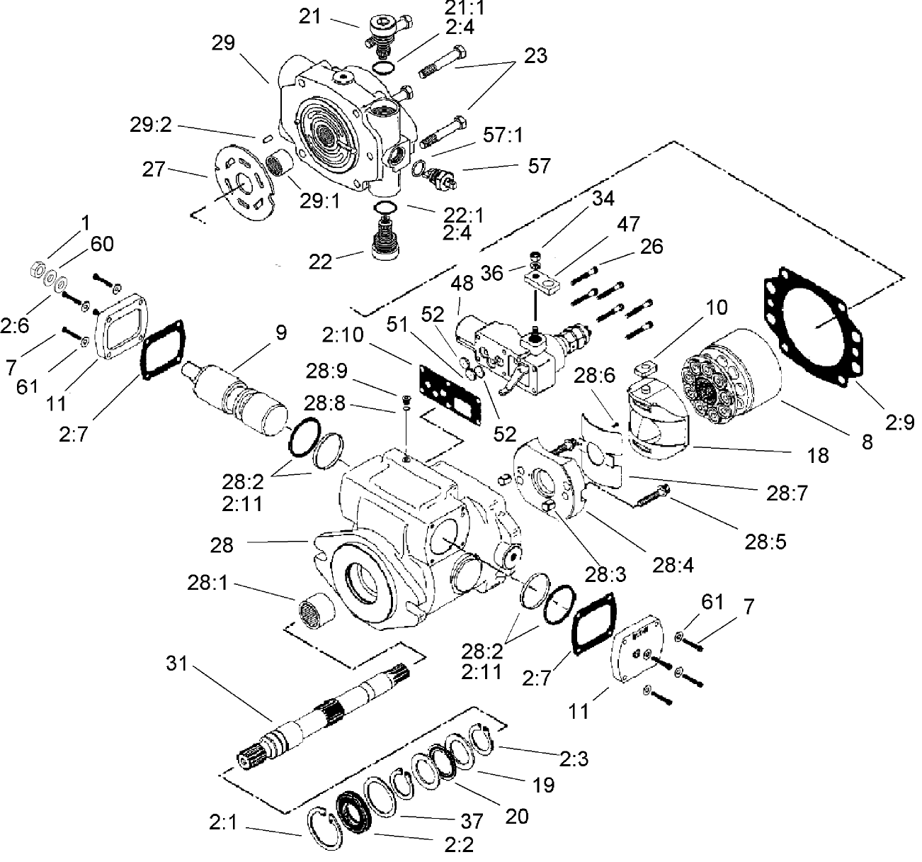
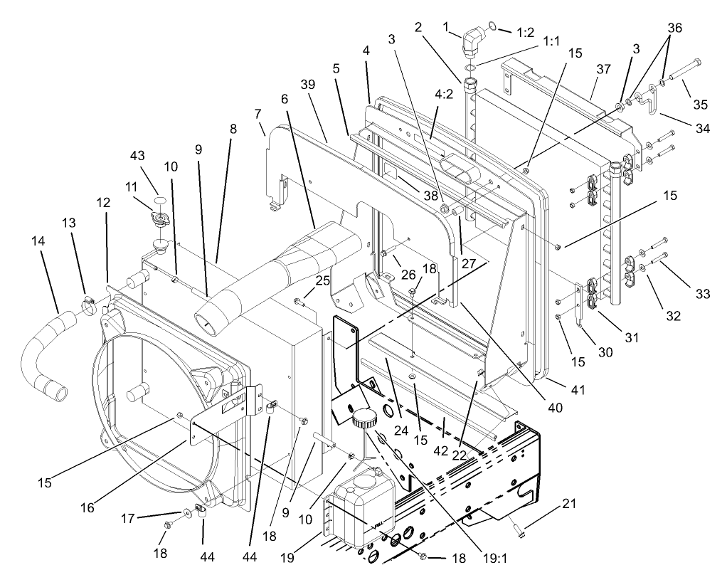
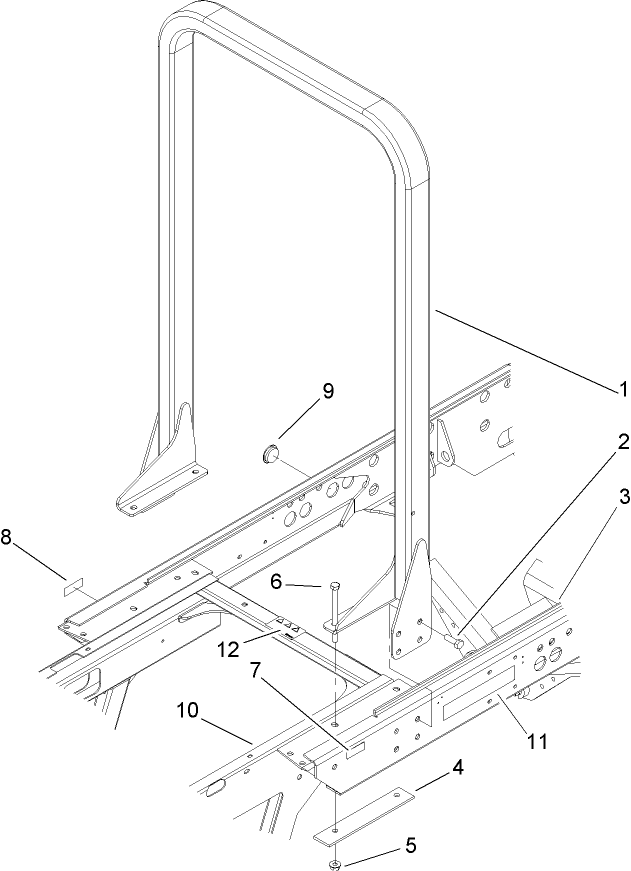
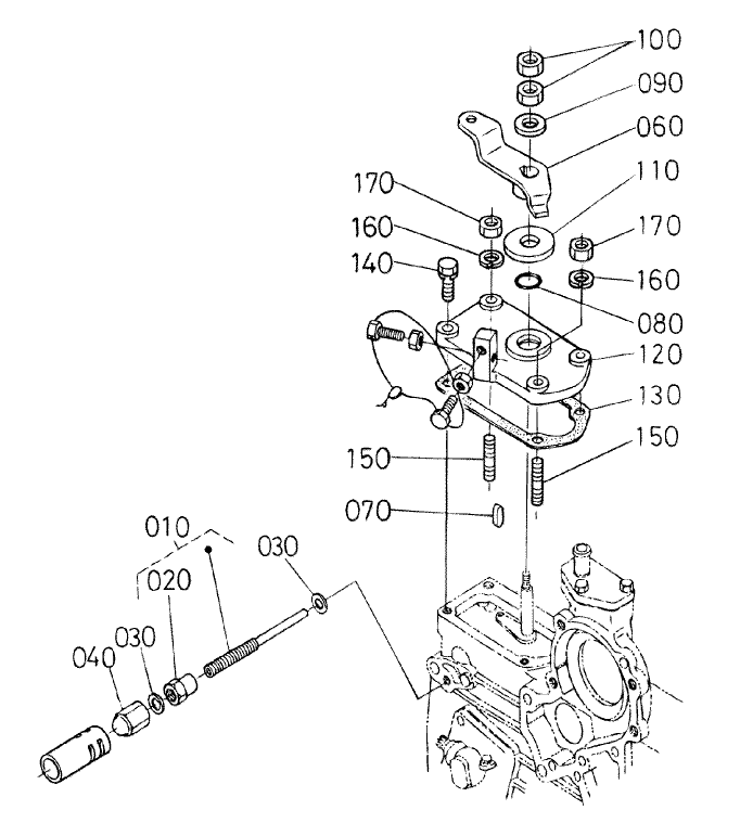
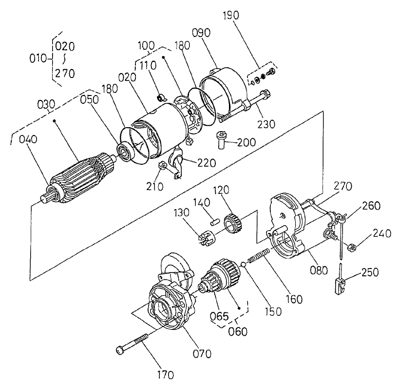
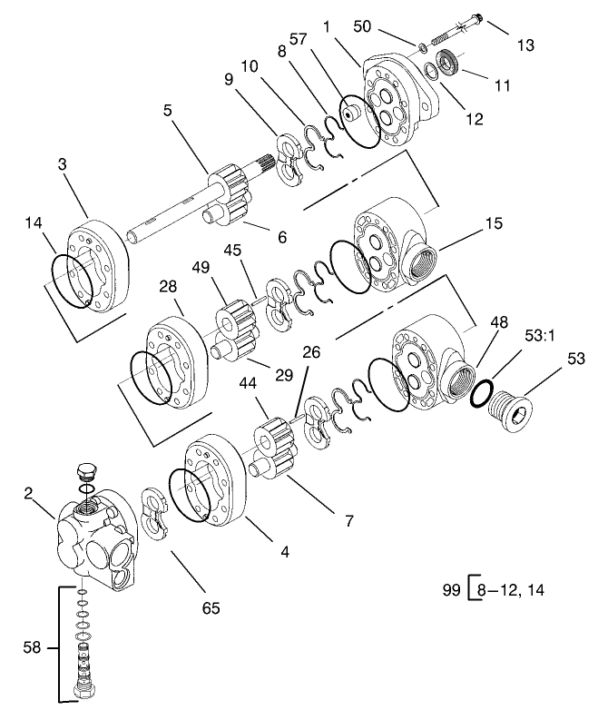
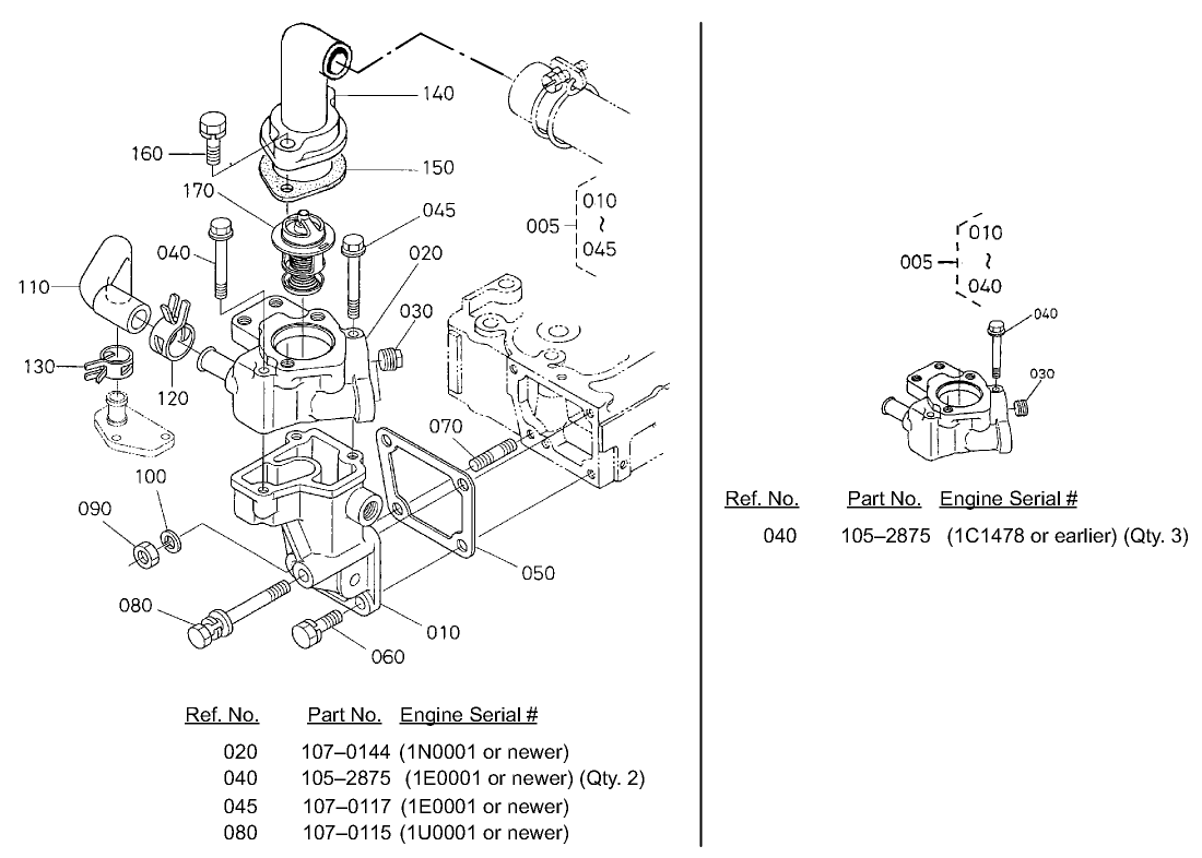
Assembly Drawings
Search for a part within assembly drawings:
-
Service Manual
-
Operator's Manual
-
Parts Catalog
-
EU Declaration of Conformity
-
Setup Instructions
-
Service Bulletin
27" High Lift Blade (Part # 105-4089)
Seat Suspension (standard), Groundsmaster 3000 (Part # 30395)
Standard Seat Kit, Groundsmaster 300 (Part # 30398)
Mid-Size ProLine Pistol Grip Gear, 15 HP with 36in Side Discharge Mowe (Part # 30430)
Arm Rest Kit (Part # 30707)
Built for comfort.
27in Rotary Cutting Unit, Groundsmaster 3500-D/4500-D/4700-D (Part # 30827)
Mulching Kit, 27" Rotary Cutting Unit for Groundsmaster 3500-D/4000-D (Part # 30828)
Roller Scraper Kit, 27in Rotary Cutting Unit for Groundsmaster 3500-D, (Part # 30829)
-
Model #
30856 -
Serial #
240000001 - 240000600 -
Product Name
Groundsmaster 4500-D -
Product Brand
Toro -
Product Type
Riding Products -
Product Series
GM 400 Series

































































































