Z500 Z Master, With 52in TURBO FORCE Side Discharge Mower
Product Information
- Model #: 74242
- Serial #: 240003001 - 240999999
- Product Type: Riding Products
Loading...
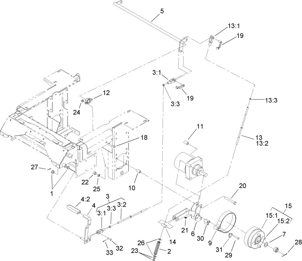
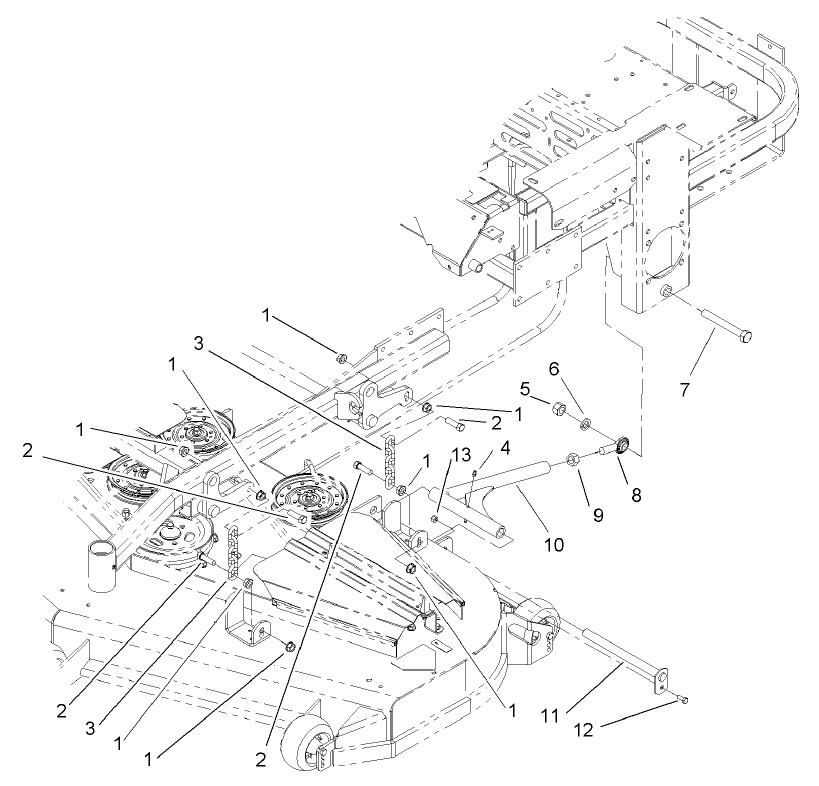
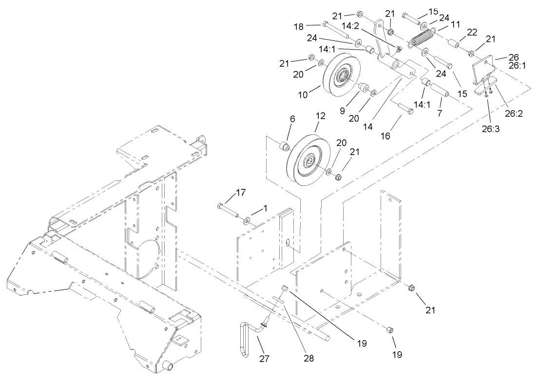
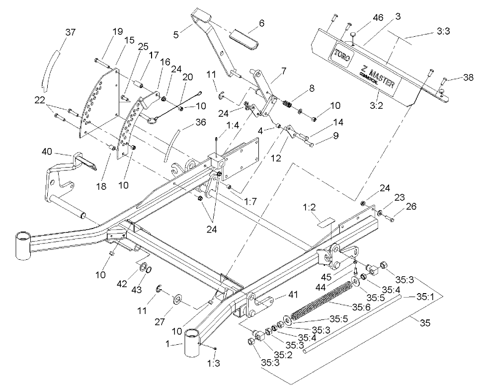
Assembly Drawings
Search for a part within assembly drawings:
-
Service Manual
-
Operator's Manual
-
Parts Catalog
-
Setup Instructions
Z-Master Deck Stand Kit with 72 Inch Turbot Force Side Discharge (Part # 105-1622)
Toro OEM Z-Master Deck Stand Kit for use with 72 Inch Turbot Force Side Discharge . Allows for easy under deck access at the shop or in the field. When it comes to reliability, Toro delivers replacement parts designed to the exact engineering specifications of our equipment. For peace of mind, insist on Toro genuine parts.
18 Inch Recycler Blade (Part # 105-7779-03)
Toro OEM Recycler blade. Recycler straight edge, standard discharge blade. The blade is designed for a High quality cut and long-lasting durability. These blades are designed with “wings,” called “accelerators” that kind of act like a fan — forcing the tiny bits of grass back into the earth. This Toro blade has multiple applications. Be sure to verify model and serial number to ensure the correct part.
18 Inch Hi Flow Blade (Part # 105-7781-03)
18 Inch Hi Flow blade. Hi-Flow are also known as basic blades, regular blades, or 2-in-1 blades, Hi-Flow mower blades are the go-to blades for mowers with a bagger. The blades are designed to cut the grass and flow the clippings, propelling them up and out of the discharge chute. This Toro blade has multiple applications. Be sure to verify make and serial number to ensure the correct part.
18 Inch Medium Flow Blade (Part # 105-7794-03)
Toro OEM Medium Flow blade. Medium Flow mower straight edge, standard discharge blade. These blades have slight upward angle on the edges. Great blades for use when horsepower is a concern. Produce medium Flow but requires less horsepower than Hi-Flow blades. This Toro blade has multiple applications. Be sure to verify model and serial number to ensure the correct part.
18 Inch Low Flow Blade (Part # 105-7795-03)
Toro OEM Low Flow blade. Low Flow mower blades have slightly curved ends that keep air Flow to a minimum. The lack of suction allows cut grass to exit the mower while keeping dust and debris levels down. Toro Low Flow mower blades cause less engine strain than Hi-Flow blades. This Toro blade has multiple applications. Be sure to verify model and serial number to ensure the correct part.
18 Inch Atomic Blade (Part # 105-7796-03)
Toro OEM Atomic blade. The Toro Atomic blade is commonly referenced as a “Gator Style” or “Gator Blade”. Provides the best quality of cut while mulching. This Toro blade has multiple applications. Be sure to verify model and serial number to ensure the correct part.
52 Inch Recycler Kit (Part # 107-1610)
Genuine OEM Part
Rubber Striping Kit (Part # 107-1630)
Toro OEM A mower striping kit. The ultimate way to enhance the striping ability of your Z-Master. When it comes to reliability, Toro delivers replacement parts designed to the exact engineering specifications of our equipment. For peace of mind, insist on Toro genuine parts.
GrandStand Turbo Baffle Kit (Part # 107-1634)
GrandStand Turbo Baffle Kit. To best protect your investment and maintain optimal performance of your equipment, count on Toro genuine parts and accessories.
DFS Weight Kit (Part # 107-1760)
Genuine OEM Part
Please contact your local dealer
Z-Master Deluxe Suspension Seat (Part # 107-1891)
Toro genuine suspension seat allows for maximum comfort in the field or on the road. Ergonomic contoured comfort cushions that recline make this a perfect seating solution for your Z-Master riding mower.
DFS Handle & Roll Over Protection (ROPS) Kit (Part # 107-3088)
Genuine OEM Part
Please contact your local dealer
Z-Master Light Kit (Part # 107-9880)
Extend your mowing day with these Toro genuine high-intensity, low amperage LED light kit. This lighting kit is built in durable cast aluminum alloy housing with stainless steel mounting hardware and wiring harness and lighted rocker switch. When it comes to reliability, Toro delivers replacement parts designed to the exact engineering specifications of our equipment. For peace of mind, insist on Toro genuine parts.
Roller Striping Kit (Part # 108-2162)
Toro OEM A mower striping kit. The ultimate way to enhance the striping ability of your Z-Master. When it comes to reliability, Toro delivers replacement parts designed to the exact engineering specifications of our equipment. For peace of mind, insist on Toro genuine parts.
Dfs Assembly (Part # 110-0350)
Genuine OEM Part
Retractable Assembly (Part # 110-0883)
Genuine OEM Part
3 Bushell Soft Collection Bag for GrandStand Mowers (Part # 30104)
3 Bushell Soft Collection Bag for GrandStand Mowers. To best protect your investment and maintain optimal performance of your equipment, count on Toro genuine parts and accessories.
DFS Bagger, (200 Series) (Part # 78491)
Z200 Series 52" DFS Deck Kit (Part # 78494)
Twin Bagger (52") (Part # 78498)
52" Deck Finishing Kit (Twin) (Part # 78501)
DFS Vac Collection System (Part # 78506)
52in TURBO FORCE Mower Finishing Kit, Z400 and Z500 Twin Soft Bagger (Part # 78512)
Z-Master 52 inch Operator Chute Gate Kit (Part # 78521)
Toro OEM chute gate kit. Protect people and property from flying debris, keep grass out of flower beds and driveways, reducing raking, blowing and re-mowing.
Twin Bag Assembly, 52" Deck (500 Series) (Part # 78533)
Blower and Drive Kit, 52" Deck (Part # 78537)
Toro Filter Gauge for Kohler Engines (Part # 99-4664)
Toro genuine filter gauge. This Toro filter gauge shows when filters are nearing restriction limits, graduated indicators help you maximize filter life and effectively schedule service intervals. Toro would like to remind you that fitment can vary by sub model, serial number, and/or production date of your equipment. Please refer to the original owners manual in order to verify this is correct part for your machine.
Hitch Kit (Part # 99-8925)
Add versatility to your Toro Z-Master with this easy to install hitch kit . This genuine Toro part provides towing capability for spreaders, carts and other attachments.
Cozy Cab Sunshade (Part # A11299)
-
Model #
74242 -
Serial #
240003001 - 240999999 -
Product Name
Z500 Z Master, With 52in TURBO FORCE Side Discharge Mower -
Product Brand
Toro -
Product Type
Riding Products -
Product Series
Zero Radius Turn, 500 Series -
Chassis Type
ZRT - LCE -
Swath
52 inch -
Discharge
Side -
Engine/Motor Manufacturer
Kohler -
Engine/Motor Size
20 hp -
Engine/Motor Type
4 Cycle CARB2, EPA2 -
Engine Starter
Electric -
Transmission Type
Hydrostatic
-
Engine: Spark Plug
Champion RC12YC -
Engine: Spark Plug Gap
.030"/ .76mm -
Drive System: Gearbox Lubricant
Mobil 1 15w-50 -
Engine: Battery
BCI Group U 1 -
Chassis: Height of Cut Range
1.5" - 5" (38-127mm) -
Chassis: Tire Pressure
13 psi / 90 kPa






























