Reelmaster 5500-D 4-Wheel Drive
Product Information
- Model #: 03551
- Serial #: 240000601 - 240999999
- Product Type: Riding Products
Loading...
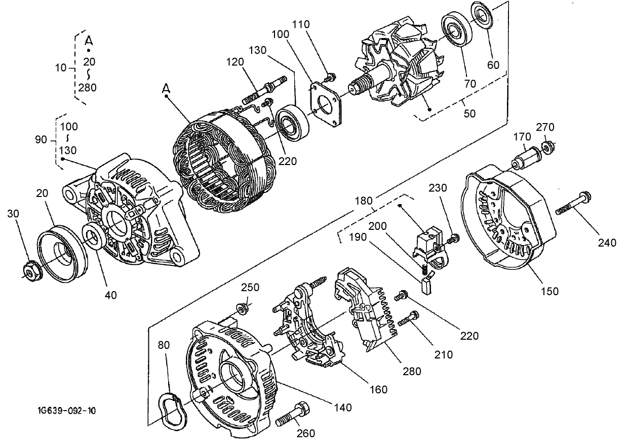
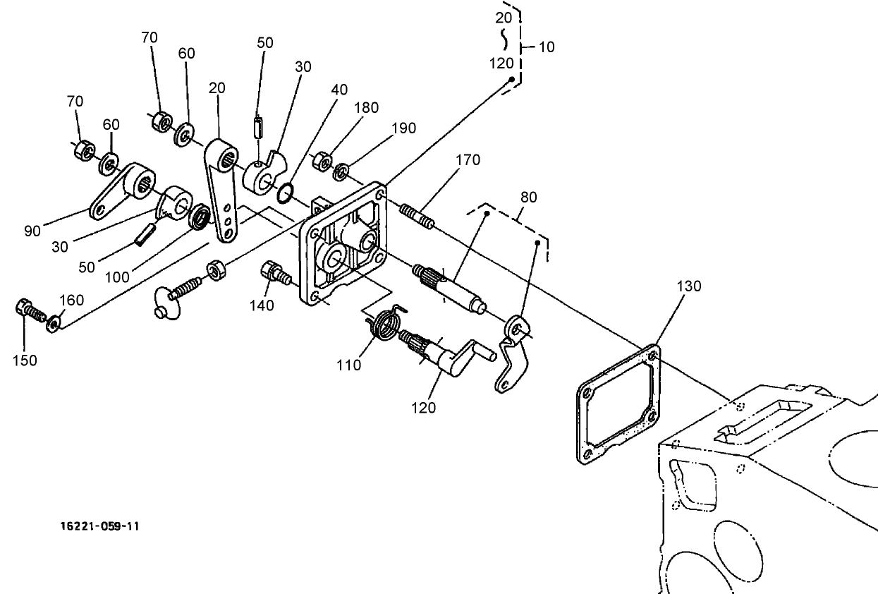
Assembly Drawings
Search for a part within assembly drawings:
-
Service Manual
-
Operator's Manual
-
Parts Catalog
-
EU Declaration of Conformity
-
Service Bulletin
Leak Detector Kit, Reelmaster (Part # 03521)
Four Wheel Drive Kit, Reelmaster 5200-D, 5400-D and 5500-D (Part # 03538)
Left-Hand Groomer Kit, Reelmaster 5500-D, 6500-D and 6700-D (Part # 03810)
Right-Hand Groomer Kit, Reelmaster 5500-D, 6500-D and 6700-D (Part # 03811)
5-Blade Reel Mower, Reelmaster 5500-D and 6000-D Series (Part # 03860)
7-Blade Reel Mower, Reelmaster 5500-D and 6000-D Series (Part # 03861)
11-Blade Reel Mower, Reelmaster 5500-D and 6000-D Series (Part # 03862)
Dethatcher Kit, Reelmaster 5500-D/6000-D Series (Part # 03872)
Rear Roller Brush Kit, Reelmaster 5500-D, 6500-D and 6700-D (Part # 03876)
Basket Kit, Reelmaster 6500-D/6700-D (Part # 03882)
Turf Evaluator (Part # 04399)
Mirror device used to assess turf conditions
RM55/6000 WIEHLE SCRAPER (Part # 100-9908-03)
Shoulder Wiehle Roller, Reelmaster 5500 (Part # 100-9911)
RM5500 SHOULDER SCRAPER (Part # 100-9913-03)
Rear Roller Scraper Kit, Reelmaster 5500/6000 (Part # 100-9920)
Basket Tipper Kit, Reelmaster 5500-D (Part # 100-9945)
Comb/Scraper Kit, Reelmaster 5500-D and 6000 Series Cutting Units (Part # 104-1845)
Collar Kit (Part # 104-8215)
Contains 100-4959 @ 2, 104-1835 @ 2
RM5500 Reel Drive Hose Kit (Part # 104-9314)
Contains 104-0069 @ 4, 104-0057 @ 4, 104-0068 @ 1, 104-0067 @ 1, 104-0064 @ 1, 104-0058 @ 2, 104-0063 @ 2, 3290-379 @ 10, 237-30 @ 20, 237-21 @ 5, 237-22 @ 2,
Brush And Handle Assembly (Part # 29-9100)
Toro OEM Brush And Handle Assembly.
Arm Rest Kit (Part # 30707)
Built for comfort.
Air Pre-Cleaner Bowl Extension (Part # 43-3810-03)
Diagnostic Display Box (Part # 85-4750)
22.19 Inch Low Cut Standard Bedknife (Part # 93-9774)
Toro 22.19 Inch OEM Low Cut Standard Bedknife. You can count on the quality and reliability of this replacement Low Cut bedknife. Be sure to verify the make and serial number to ensure correct part.
HYDRAULIC MOTOR- 25CC (Part # 98-9998)
22.00 Inch Full Roller Assembly (Part # 99-5749)
Toro 22.00 Inch OEM Full Front Roller Assembly. This roller has a 3.00 inch diameter. This Assembly comes with the roller tube, roller shaft, oil seals, ball bearings, Inner seals, outer seals, washers, grease & fittings. This roller is smooth, unlike the Wiehle roller that has groves built in. Toro OEMs are created to keep your equipment up and running with the highest quality parts. To verify that this fits your Toro equipment, please do a model & serial number search.
-
Model #
03551 -
Serial #
240000601 - 240999999 -
Product Name
Reelmaster 5500-D 4-Wheel Drive -
Product Brand
Toro -
Product Type
Riding Products -
Product Series
RM 5000 Series




















































































