Snow Commander Snowthrower
Product Information
- Model #: 38600
- Serial #: 260010001 - 260999999
- Product Type: Snowthrowers
Loading...
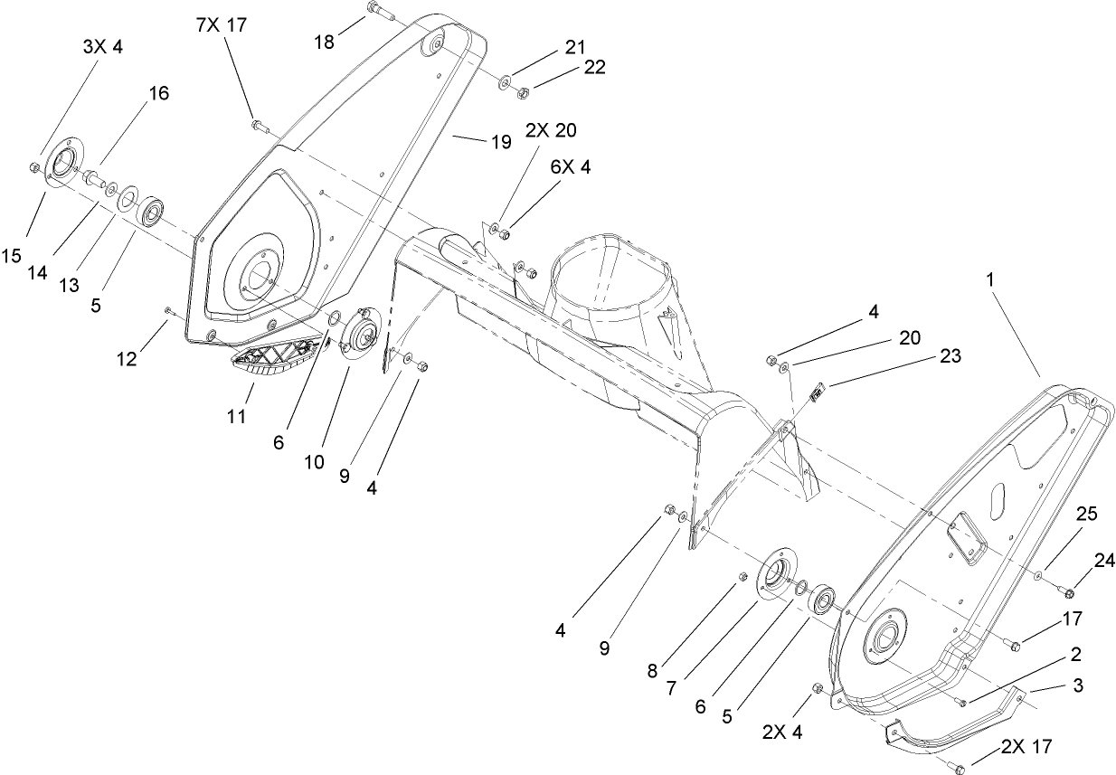
Assembly Drawings
Search for a part within assembly drawings:
-
Service Manual
-
Operator's Manual
-
Parts Catalog
Two Stage Snow Blower Cover (Part # 490-7466)
Toro genuine snow blower cover. Specifically designed for Toro 2-Stage Power Max and Power Max HD models
Water resistant backing for extra weather protection
Heavy-duty abrasion resistant 600 Denier polyester fabric
Maintains flexibility, even on the coldest days
-
Model #
38600 -
Serial #
260010001 - 260999999 -
Product Name
Snow Commander Snowthrower -
Product Brand
Toro -
Product Type
Snowthrowers -
Product Series
Snowthrower, Single Stage, Snow Commander -
Chassis Type
Single Stage -
Swath
24 inch -
Discharge
Single Stage -
Engine/Motor Manufacturer
Briggs & Stratton -
Engine/Motor Size
141cc -
Engine/Motor Type
2 Cycle EPA2 -
Engine Starter
Recoil -
Transmission Type
NA
-
Engine: Engine Oil Type
Toro 2 cycle / NMMA-TCW3 -
Engine: Engine Speed
4000±250 RPM -
Engine: Ignition Coil Air Gap
.010" / .25mm -
Engine: Mix Ratio
50:1 (2.6 oz./gal.) -
Engine: Spark Plug
NGK BMR4A -
Engine: Spark Plug Gap
.030"/ .76mm












