Kawasaki Engine Replacement Kit
Product Information
- Model #: 110-4997
- Serial #: None - None
- Product Type: Walk Behind Mowers
Loading...
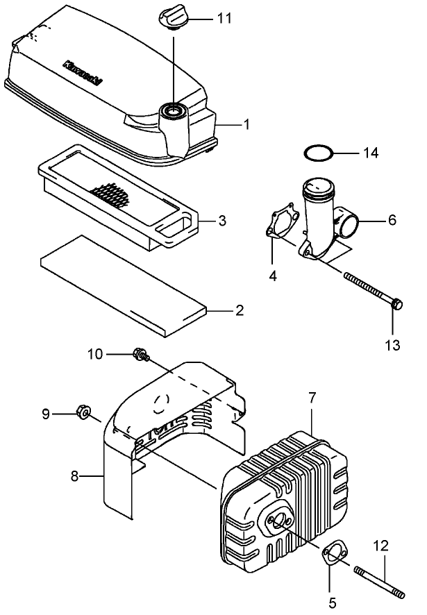
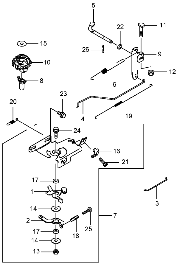
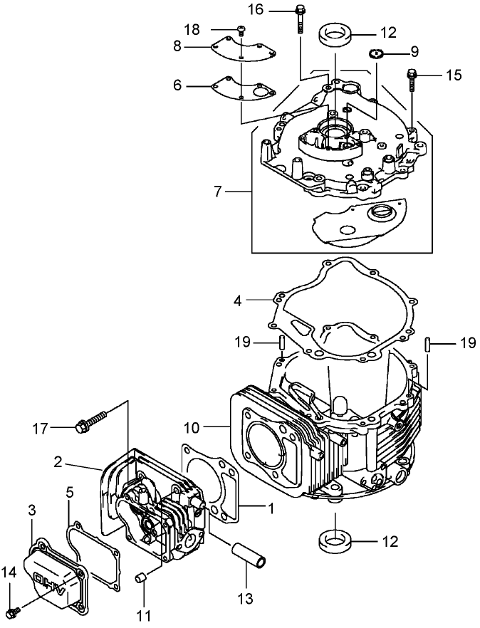
Assembly Drawings
Search for a part within assembly drawings:
-
Parts Catalog
-
Installation Instructions
-
Model #
110-4997 -
Serial #
None - None -
Product Name
Kawasaki Engine Replacement Kit -
Product Brand
Toro -
Product Type
Walk Behind Mowers -
Product Series
Attachments & Kits, Mid-Size Mower










