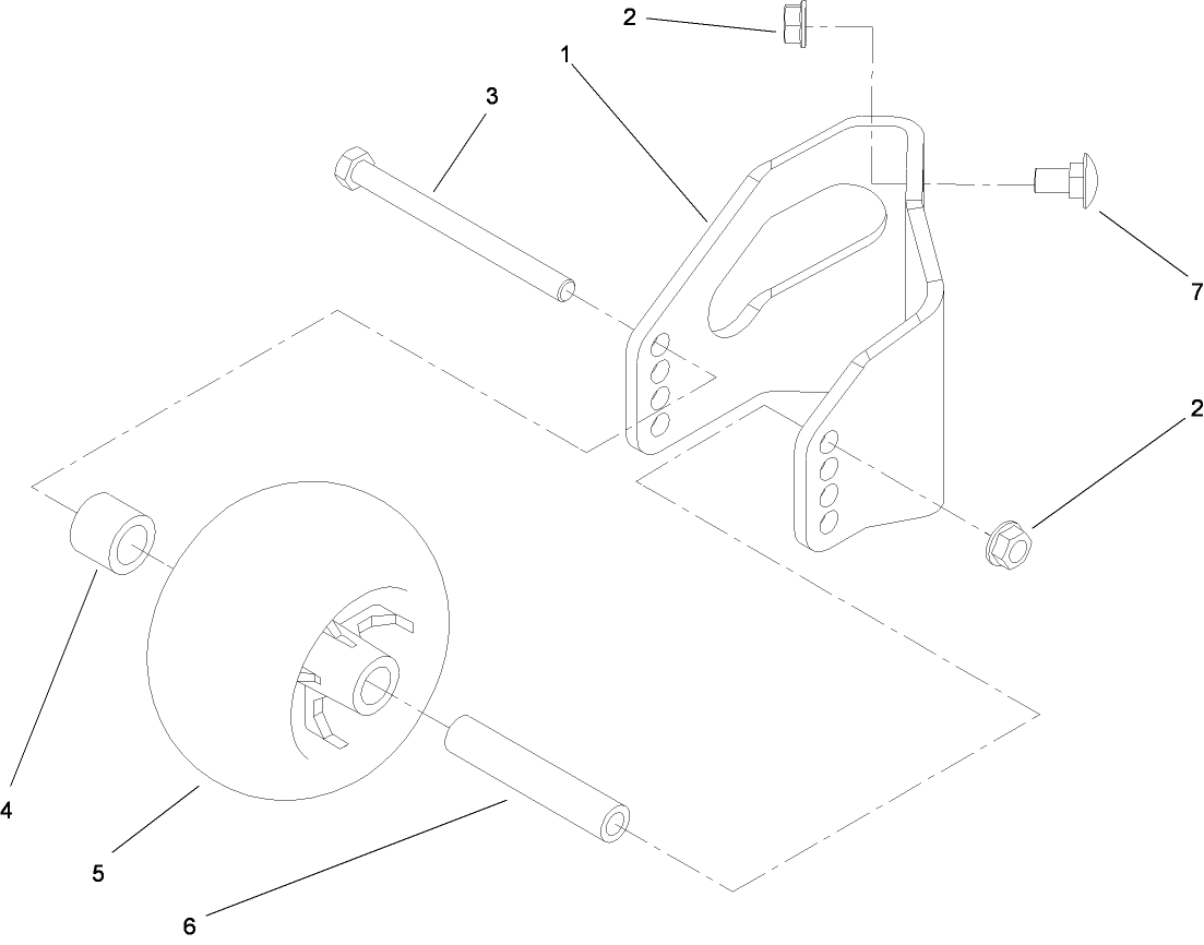
Anti-Scalp Kit (Trim Side)
Product Information
- Model #: 115-1015
- Serial #: None - None
- Product Type: Attachments
Loading...
Assembly Drawings
Search for a part within assembly drawings:
-
Parts Catalog
-
Installation Instructions
-
Model #
115-1015 -
Serial #
None - None -
Product Name
Anti-Scalp Kit (Trim Side) -
Product Brand
Toro -
Product Type
Attachments -
Product Series
Attachments & Kits, LCE Riding
