Power Max 828 OE Snowthrower
Product Information
- Model #: 38639C
- Serial #: 290000001 - 290999999
- Product Type: Snowthrowers
Loading...
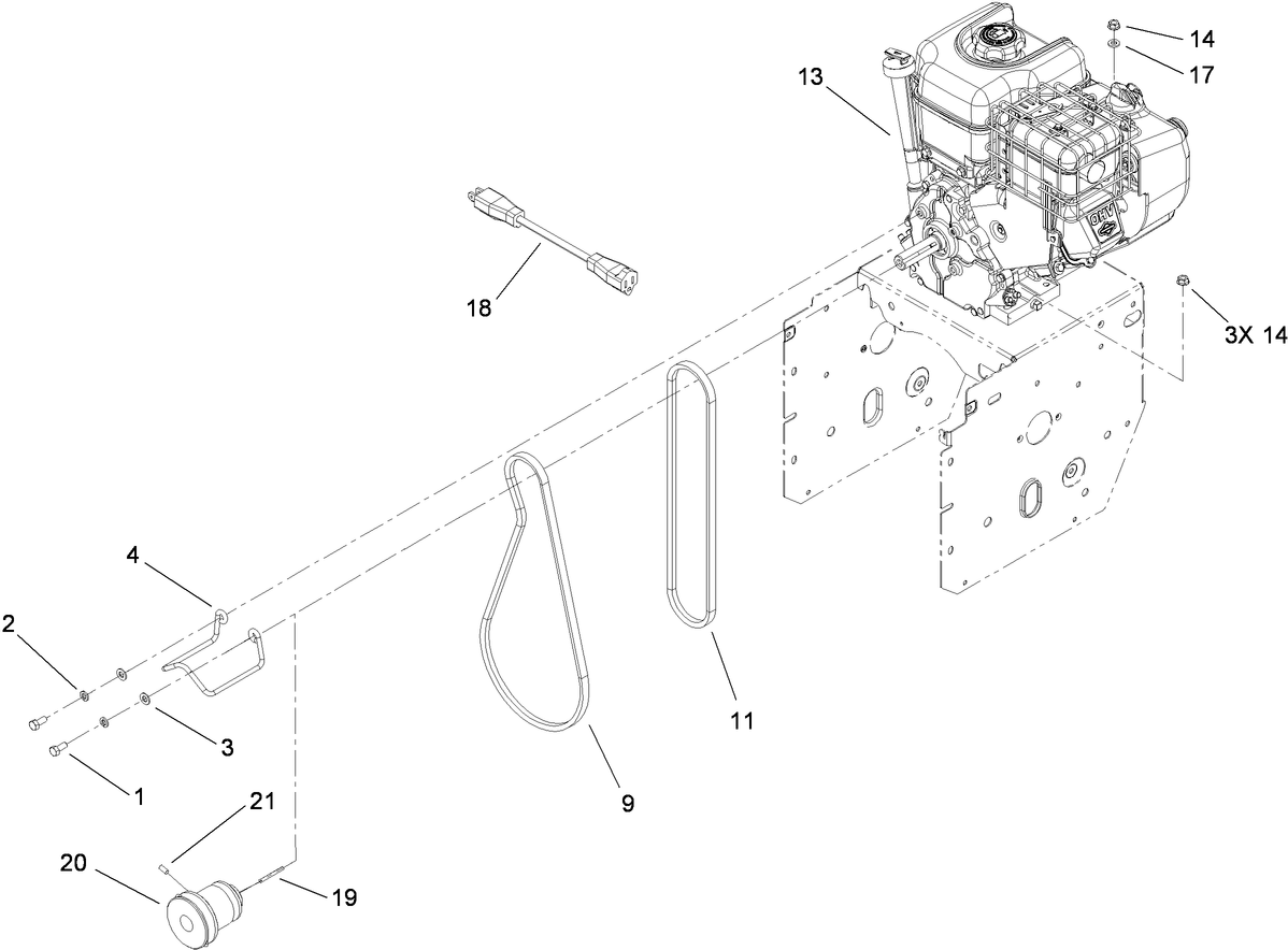
Assembly Drawings
Search for a part within assembly drawings:
-
Service Manual
-
Operator's Manual
-
Parts Catalog
Tire Chain Kit (Part # 107-3813)
Genuine OEM Part
Snow Blower Weight Kit (Part # 107-3815)
Toro genuine snow blower front weight kit equalizes weight distribution and holds the scraper blade closer to the ground. This kit is designed to enhance operator comfort, and adds extra weight to your snow blower allowing for a better balanced machine. recommended when used with Toro Snow Cab to keep machine balanced.
Snow Blower Drift Breaker Kit (Part # 107-3817)
This drift breaker kit is for use with 26 inch Power Max Snowblowers. It will help to break down drifts in front of the auger housing and minimize snow accumulation across the top of the housing. This drift breaker will help optimize the performance of your Toro Snowblower.
Two Stage Snow Blower Cover (Part # 490-7466)
Toro genuine snow blower cover. Specifically designed for Toro 2-Stage Power Max and Power Max HD models
Water resistant backing for extra weather protection
Heavy-duty abrasion resistant 600 Denier polyester fabric
Maintains flexibility, even on the coldest days
-
Model #
38639C -
Serial #
290000001 - 290999999 -
Product Name
Power Max 828 OE Snowthrower -
Product Brand
Toro -
Product Type
Snowthrowers -
Product Series
Snowthrower, Two Stage Power Max -
Chassis Type
Two Stage -
Swath
28 inch -
Discharge
Two Stage -
Engine/Motor Manufacturer
Briggs & Stratton -
Engine/Motor Size
249cc -
Engine/Motor Type
4 Cycle CARB3, EPA2 -
Engine Starter
Electric/Recoil -
Transmission Type
Friction Disc
-
Drive System: Gearbox Lubricant
4.5 oz. (133ml) SAE 90 GL5 or higher -
Engine: Spark Plug Gap
.030"/ .76mm -
Engine: Spark Plug
Champion QC12YC -
Chassis: Tire Pressure
17-20 PSI / 116-137 kPa -
Drive System: Ground Speed
Fwd. .7 / 1.1 / 1.5 / 1.9 / 2.3 / 2.7 Rev. 1.0 / 1.6 mph -
Engine: Engine Speed
3300±100 RPM -
Engine: Engine Oil Type
20 oz. (.6l) 5w-30 or 10w-30 / API SH or higher



















