1/3 Area Platform Lift, Workman Heavy-Duty Utility Vehicle
Product Information
- Model #: 07344
- Serial #: 250000001 - 250999999
- Product Type: Attachments
Loading...
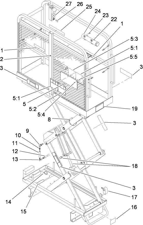
Assembly Drawings
Search for a part within assembly drawings:
-
Parts Catalog
-
Installation Instructions
-
Service Bulletin
-
Model #
07344 -
Serial #
250000001 - 250999999 -
Product Name
1/3 Area Platform Lift, Workman Heavy-Duty Utility Vehicle -
Product Brand
Toro -
Product Type
Attachments -
Product Series
Workman Series Accessories



