22in Recycler Lawn Mower
Product Information
- Model #: 20373
- Serial #: 312000001 - 312999999
- Product Type: Walk Behind Mowers
Loading...
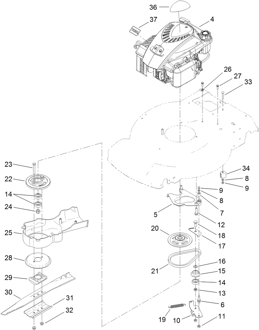
Assembly Drawings
Search for a part within assembly drawings:
-
Service Manual
-
Operator's Manual
-
Parts Catalog
-
Addendum
Maintenance Kit for Walk Power Mower (Part # 20239)
Perform regular maintenance including replacing the air filter, spark plug and oil each season to ensure optimum performance with Toro maintenance kits.
Replacement Bag (Part # 59310)
Genuine OEM Part
22 Inch Atomic Blade (Part # 59534)
Genuine OEM Part
-
Model #
20373 -
Serial #
312000001 - 312999999 -
Product Name
22in Recycler Lawn Mower -
Product Brand
Toro -
Product Type
Walk Behind Mowers -
Product Series
22" Steel Deck -
Chassis Type
Steel Deck WPM -
Swath
22 inch -
Discharge
Recycler & Side Discharge with Rear Bag -
Engine/Motor Manufacturer
Toro -
Engine/Motor Type
4 Cycle -
Engine Starter
Recoil -
Transmission Type
Gear -
Traction Type
Rear WD
-
Engine: Engine Speed
3000±100 RPM -
Engine: Spark Plug Gap
.030"/ .76mm -
Engine: Engine Oil Type
20 oz. (.6l) 30w / API SH or higher -
Chassis: Height of Cut Range
1" - 4" (2.5-10 cm) -
Engine: Spark Plug
Champion RN9YC / NGK BPR6ES / NHPS F7RTC (OEM China) -
Engine: Valve Lash (Intake)
0.0035 - 0.0045 inch (0.08~0.12 mm) -
Engine: Valve Lash (Exhaust)
0.0055 - 0.0065 inch (0.13~0.17 mm) -
Engine: Ignition Coil Air Gap
.010-.020" / .25-.5mm










