22in Recycler Lawn Mower
Product Information
- Model #: 20352
- Serial #: 312000001 - 312999999
- Product Type: Walk Behind Mowers
Loading...
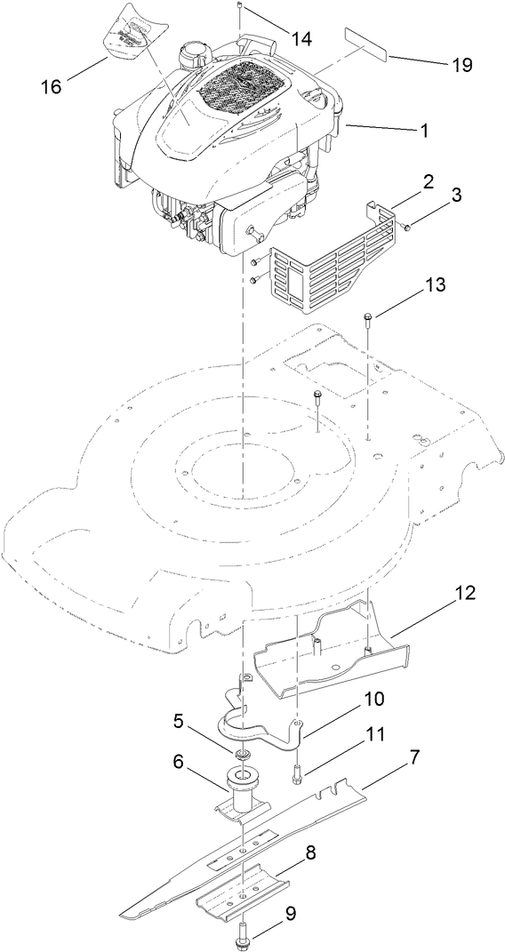
Assembly Drawings
Search for a part within assembly drawings:
-
Service Manual
-
Operator's Manual
-
Parts Catalog
-
Model #
20352 -
Serial #
312000001 - 312999999 -
Product Name
22in Recycler Lawn Mower -
Product Brand
Toro -
Product Type
Walk Behind Mowers -
Product Series
22" Steel Deck -
Chassis Type
Steel Deck WPM -
Swath
22 inch -
Discharge
Recycler & Side Discharge with Rear Bag -
Engine/Motor Manufacturer
Briggs & Stratton -
Engine/Motor Type
4 Cycle -
Engine Starter
Recoil -
Transmission Type
Gear -
Traction Type
Rear WD
-
Engine: Engine Speed
2900±100 RPM -
Engine: Engine Oil Type
20 oz. (.6l) 30w / API SH or higher -
Chassis: Height of Cut Range
1" - 4" (2.5-10 cm)






