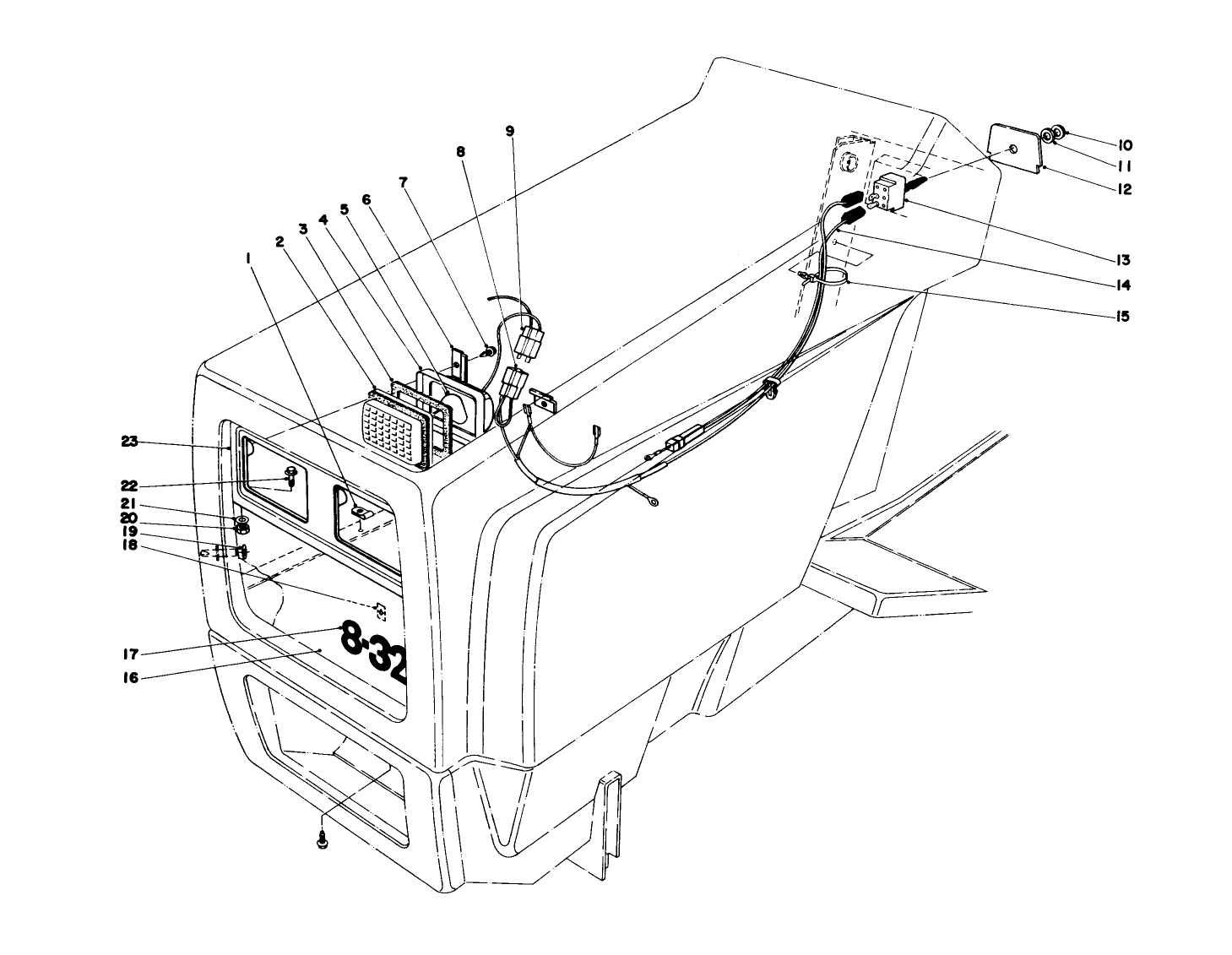
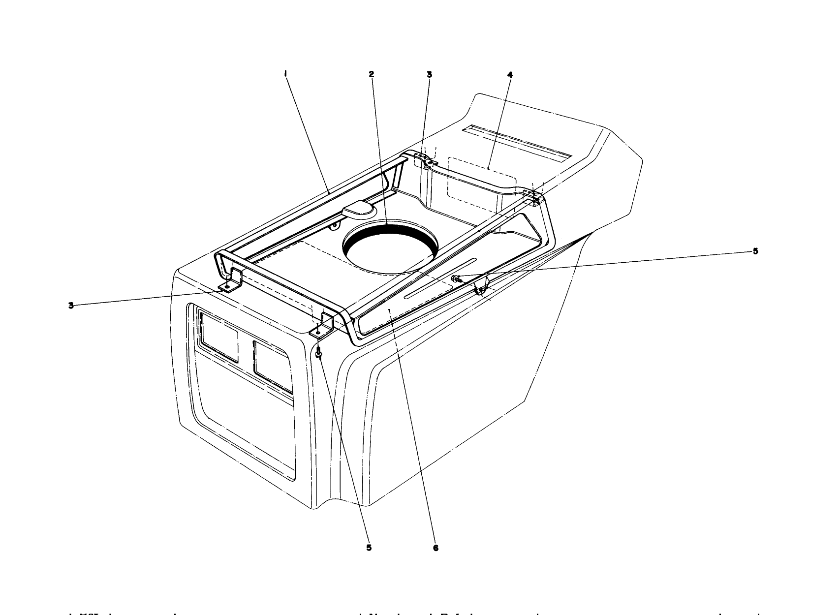
8-32 Front Engine Rider
Product Information
- Model #: 57300
- Serial #: 9000001 - 9999999
- Product Type: Riding Products
Loading...
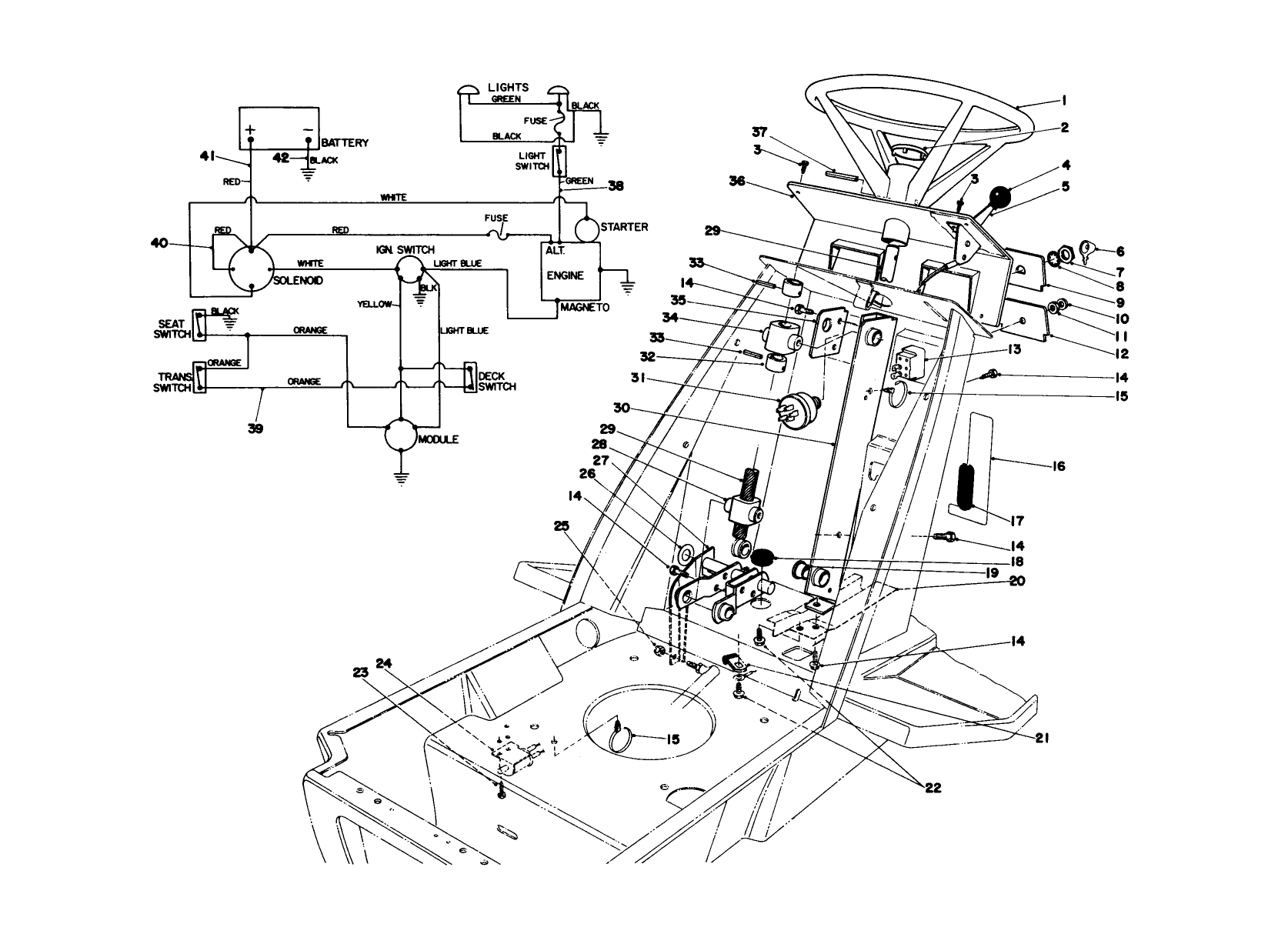
Assembly Drawings
Search for a part within assembly drawings:
-
Parts Catalog
42" Snow Blade (Part # 59140)
(Part # All attachments are no longer available.)
-
Model #
57300 -
Serial #
9000001 - 9999999 -
Product Name
8-32 Front Engine Rider -
Product Brand
Toro -
Product Type
Riding Products -
Product Series
Lawn Tractor, 32" -
Swath
32 inch -
Discharge
Side -
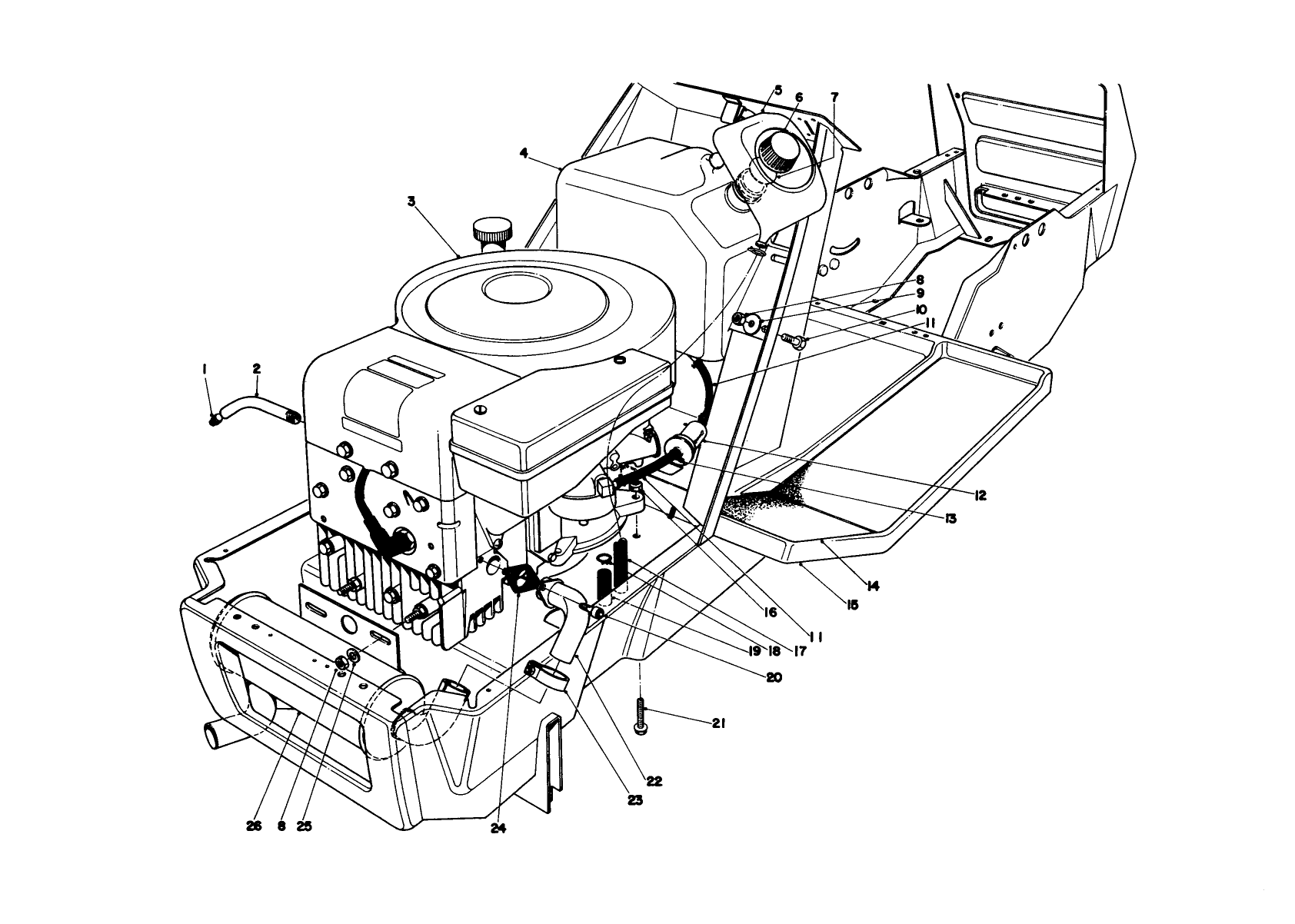
Engine/Motor Manufacturer
Briggs & Stratton -
Engine/Motor Size
8 hp -
Engine/Motor Type
4 Cycle -
Engine Starter
Electric -
Transmission Type
Gear

























